DETEX 101446 Advantex Narrow Trim Instruction Manual
Overview

| PARTS BREAKDOWN | |||
| Item | P/N | QTY | Description |
|
1 | 106264-7 |
1 | LEVER ASSY, Q, 626 |
| 106264-14 | LEVER ASSY, Q, 693 | ||
| 106264-15 | LEVER ASSY, Q, 695 | ||
| 101376-7 | LEVER ASSY, S, 626 | ||
| 101376-14 | LEVER ASSY, S, 693 | ||
| 101376-15 | LEVER ASSY, S, 695 | ||
| 101375-7 | LEVER ASSY, U, 626 | ||
| 101375-14 | LEVER ASSY, U, 693 | ||
| 101375-15 | LEVER ASSY, U, 695 | ||
| 101374-7 | LEVER ASSY, T, 626 | ||
| 101374-14 | LEVER ASSY, T, 693 | ||
| 101374-15 | LEVER ASSY, T, 695 | ||
| 2 | 100851 | 1 | WASHER, FLAT |
| 3 | 100745-9 | 1 | ESCUTCHEON ASSY, 08DN / 09DN, BP2, 630 |
| 101448-9 | ESCUTCHEON ASSY, 14DN, BP2, 630 | ||
| 4 | 101457 | 1 | SPRING RACK ASSEMBLY |
| 5 | 100877 | 1 | SPRING, COMPRESSION, TRIM, NARROW |
| 6 | 101510 | 1 | SPRING, HELPER, RETURN-NARROW |
| 7 | 100865 | 1 | RACK, NARROW |
| 8 | 105124-1 | 1 | WAVE WASHER, .694 DIAMETER |
| 9 | 103010 | 1 | GEAR & TORQUE PLATE, NON-CLUTCHING |
| 10 | 100774 | 1 | KEY, SHEARPIN |
| 11 | 100821 | 1 | CLUTCH WASHER |
| 12 | 102536-1 | 1 | SCREW, 10-24 x 17/32 FH SOCKET CAP |
| 13 | 100866 | 1 | PLATE, COVER |
| 14 | 100777 | 2 | STANDOFF, HEX |
| 105233 | STANDOFF, HEX, CVR LEVER TRIM, NARROW | ||
| 15 | PP-5378-106 | 2 | SCREW, 8-32 x 3/8 PPH |
| 16 | 100762 | 1 | TOP GEAR |
| 17 | PP-5367-108 | 1 | SCREW, 6-32 x 1/2 PPH |
| PP-5367-110 | SCREW, 6-32 x 5/8 PPH SEMS (LS trim) | ||
| 18 | 101994 | 1 | SLIDE LOCK, NARROW |
| 19 | 100773 | 1 | FLAT SPRING, LOCKING (08 function only) |
| 101997 | SPRING, COMPRESSION (09 function only) | ||
| 20KIT | 105673-4 | 1 | LEVER TRIM HARDWARE KIT, 08DN/09DN (STD, SVR) |
| 105673-5 | LEVER TRIM HARDWARE KIT, 08DNV/09DNV (CVR) | ||
| 20A | 101478 | 1 | SHAFT EXTENSION ASSEMBLY (RIM, SVR) |
| 106694 | TAILPIECE ASSEMBLY, D TRIM (CVR) | ||
| 20B | 100783 | 1 | CYLINDER NUT, HEX |
| 20C | 100868 | 1 | PLATE, CYLINDER POSITION, NARROW |
| 21 | 100572-9 | 1 | CYLINDER COLLAR, SHORT |
| 100752-9 | CYLINDER COLLAR, TALL | ||
| 22 | 102281-7-X | 1 | CYLINDER, MORTISE, 5 PIN, CHROME |
| 103800-626 | CYLINDER, HOUSING, SFIC, MORTISE, 7 PIN, CHROME | ||
| 102287-7-DS | CYLINDER, MORTISE 6 PIN DS 26D (626) | ||
FOR ITEM 22
“-X” REFERS TO
KEY CODE
AA-KK
Tools Required
Safety Glasses
Power Drill
Tape Measure
Level
Pencil
Center Punch
#2 and #3 Phillips Screw Drivers
Drill bits:
5/16″
3/8″
1/2″
5/8″
3/4″
Your particular part or configuration may not be shown:
Contact Detex technical support at 800-729-3839 (option 2)
TRIM INSTALLATION
STEP 1: PREP TRIM
Install tailpiece & cylinder (14 function requires no cylinder)
NOTE:
- Mortise cylinder NOT supplied with trim, but can be ordered separately.
- Trim handing is field reversible.
- 6-pin cylinder installation shown.
Follow steps A through C in order:

STEP 2: PREP DOOR
Mark and drill holes. (LHR installation shown, reverse for RHR)

STEP 3: INSTALL TRIM

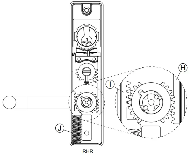
TO CHANGE LEVER HANDING

A. Remove tailpiece extension assembly & retaining screw (if present).
B. Remove the hex standoff and the two (2) screws holding the spring retaining plate.
C. WARNING: Springs under pressure!
Remove spring retaining plate.
D. Switch lock spring to opposite side (for 09 Function only).
E. Carefully remove the springs and bottom rack.
F. Remove the top rack.
G. Rotate lever to opposite side.
H. Engage the top rack on the opposite side as shown.
I. Engage the bottom rack on the opposite side as shown.
J. Install springs on the bottom rack.
K. Replace spring retaining plate and fasten
the two (2) screws and the the standoff.
L. Replace tailpiece extension assembly and screw. Handing complete.

Should you have a Question/Problem with your Detex device please call Detex Technical Support from job site at 1-800-729-3839 and choose option 2 on our menu. Please do not return the product to the distributor.
WARRANTY
For WARRANTY information, scan code below or go to www.detex.com/warranty
For device installation videos, scan code below or go to www.detex.com/videos





















