
03CM 626 Trim Charlotte Mort Nl 626 Advantex 30 Series Night Latch Pull
Instruction Manual
03CM 626 Trim Charlotte Mort Nl 626 Advantex 30 Series Night Latch Pull
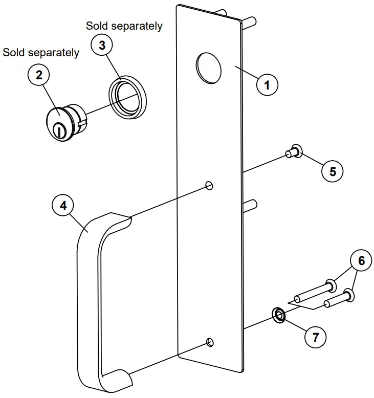
| ITEM | PART NO. | QTY | DESCRIPTION |
| 1 | 103296-9 | 1 | TRIM PLATE, 03WM, BRUSHED STAINLESS STEEL FINISH (630) |
| 2 | 102281-X | 1 | CYLINDER, MORTISE, 5 PIN |
| 3 | 100752-X | 1 | CYLINDER COLLAR, TALL |
| 4 | 102235-9 | 1 | PULL, 03C |
| 5 | 102264-1 | 1 | SCREW, MACH, 1/4-20 X 1/2″ UNDERCUT, PFH |
| 6 | 102271-136 | 1 | SCREW, MACH, 1/4-20 X 2-1/4″, PFH, STAINLESS STEEL |
| 102271-144 | 1 | SCREW, MACH, 1/4-20 X 2-3/4″, PFH, STAINLESS STEEL | |
| 7 | 102272-2 | 1 | WASHER, #14, FINISHED, STAINLESS STEEL |
STEP 1: PREP DOOR
MARK & DRILL HOLES – TRIM SIDE:
Use a plastic template to mark TRIM holes (LHR shown)
NOTE: The height from the finished floor to the trim/device centerline that Detex recommends is 40″. If unsure of trim/device centerline location, use the method below and at right to determine the correct trim location.
MARK HOLES:
Align the plastic template LOCK CENTERLINE with the mark previously made as shown. Mark the four A locations and the 03 INPUT location.
DRILL HOLES:
Drill 1-1/4″ diameter hole thru trim side only drill 3/8″ diameter holes thru trim side only, 4 places
STEP 2: PREP & INSTALL TRIM
![]() | ![]() |
| Place trim onto the door | Install backplate with four 1/4-20 x 1″ long screws and lock washers provided with exit device |
![]() | ![]() |
| Mark and drill a 3/8″ diameter (1/2″ max) hole thru the door | Mortise lock and mounting hardware provided with exit device. Fasten screws loosely. |
![]() | ![]() |
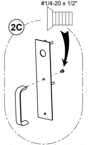
| Assemble top of pull to trim with the screw provided | Install collar & lock cylinder |
![]() | ![]() |
| Fasten the bottom of the pull with a screw and finish the washer provided | Tighten screw nearest trim side of door only |
RIM INSTALLATION COMPLETE
Continue installation using device instructions
Detex Corporation, 302 Detex Drive, New Braunfels, Texas 78130-3045
830-629-2900 / 800-729-3839 / Fax 800-653-3839 / Text photos only: 830-481-6433 / INTERNET: www.detex.com
INSTALLATION INSTRUCTIONS FOR MORTISE 03CM TRIM
DWG #: 103295
TOOLS AND SUPPLIES
Safety Glasses
(Always put on safety glasses prior to beginning installation of the unit)
Pencil, Center Punch, Hammer, Drill Motor
Drill Bits & Taps, Screw Driver (Phillips Drive), Tape Measure
Owner’s Copy
![]() | ![]() |
| For WARRANTY information, scan the code below or go to www.detex.com/warranty | For device installation videos, scan the code below or go to www.detex.com/videos |
STEP 1: PREP DOOR




























