01W Advantex Trim Plate
Instruction Manual
TOOLS AND SUPPLIES
Safety Glasses
(Always put on safety glasses prior to beginning installation of the unit)
Pencil
Center Punch
Hammer
Drill Motor
Drill Bits & Taps
Screw Driver (Phillips Drive)
Tape Measure
For WARRANTY information, scan the code below or go to www.detex.com/warranty

For device installation videos, scan the code below or go to www.detex.com/videos

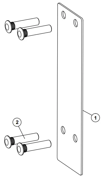
| ITEM | PART NO. | QTY | DESCRIPTION |
| 1 | 101911-9 | 1 | TRIM PLATE, 01W. BRUSHED STAINLESS STEEL FINISH (630) |
| 2 | 100464-9 | 4 | SEX NUT, 1/4-20 |

Door Preparation – Interior Door Face

Assemble Trim to Door

Continue with panic hardware instruction.
Detex Corporation, 302 Detex Drive, New Braunfels,
Texas 78130-3045
830-629-2900 /
800-729-3839 /
Fax 800-653-3839 /
Text photos only: 830-481-6433 /
INTERNET: www.detex.com



















