DETEX 03W Advantex Trim Instruction Manual
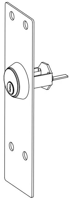
Overview
| ITEM | PART NO. | QTY | DESCRIPTION |
| 1 | 101620-9 | 1 | TRIM PLATE, 03W, BRUSHED STAINLESS STEEL FINISH (630) |
| 2 | ECL-445-X-X | 1 | CYLINDER, RIM, 5 PIN |
| IC7R-X | CYLINDER, RIM, INTERCHANGEABLE, 7 PIN | ||
| 3 | 100752-X | 1 | CYLINDER COLLAR, TALL |
| 4 | 100464-9 | 4 | SEX NUT, 1/4-20 |
| 5 | 100301-1 | 1 | CYLINDER BRACKET, 1″ LONG |

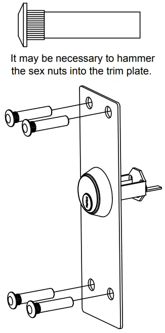
ASSEMBLE THE TRIM
If not already assembled, assemble as shown at right. Cut cylinder screws as required.

Door Preparation – Interior Door Face

Mark Cylinder Tailpiece Length

Trim Cylinder Tailpiece

Install sex nuts

Assemble Trim to Door

Key should turn freely in both directions when fully assembled to door.
Resume with panic hardware instruction.
WARRANTY
For WARRANTY information, scan code below or go to www.detex.com/warranty
For device installation videos, scan code below or go to www.detex.com/videos





















