DETEX 03WS Advantex and Value Series Trim
PREPARING THE TRIM:
- Insert a rim cylinder (not included) and cut rim cylinder tail piece as described in Fig. 1.

- Assemble the rim tailpiece assembly and cylinder as shown in Fig. 2 below.Cut cylinder screws as required.Use lock washers to tighten cylinder to escutcheons.
NOTE:
If key does not turn freely, recut or file the cylinder tail piece. - Select tailpiece for proper thickness of door. See Fig 2.

PREPARING THE DOOR:
- Mark device location on inside face of door (see device side instructions). Establish device height and backset. Detex recommends the device to be mounted 40″ above the finished floor.
- Use inside & outside face templates to mark and drill holes as noted.
- For NARROW STILE (40, 50, V40 & V50) RHR, use page 9
- for NARROW STILE (40, 50, V40 & V50) LHR, use page 10
- for WIDE STILE (10 & 20) RHR, use page 11
- for WIDE STILE (10 & 20) LHR, use page 12
NOTE:
Be sure to allow for doors with beveled edges.CAUTION: If you are using 03WS trim on a 2″ narrow stile glass door, DO NOT USE THE PROVIDED STRIKE LOCATOR! See pages 5-8 for 2″ narrow stile glass door prep. All other trims can use the narrow strike locator provided in the strike kit.
- Select the screw length from the chart (Fig 3).

ADVANTEX RIM DEVICE: ASSEMBLING THE OUTSIDE TRIM AND BACKPLATE ONTO THE DOOR:
(If surface vertical rod device – go to page 4)
- (Fig. 4) Install the backplate using holes “a” with the screws and lockwashers according to the PiloUDrill/Tap/Screw chart .

- (Fig. 5) Depress push pad, insert center case into slots of the backplate and rotate toward door.

- (Fig. 6) Fasten rim device to mounting plate with 1/4-20 x 1/4″ PPH machine screws.

- (Fig. 7) With the key out of the cylinder, align the tailpiece extension into the backplate’s trim cam on the inside door face. Using “e” holes, fasten the trim to the backplate with1/4-20 machine screws. Three screw lengths are provided for varying door thicknesses.
- Resume with panic hardware instruction.

ADVANTEX SURFACE VERTICAL ROD DEVICE:
ASSEMBLING THE OUTSIDE TRIM AND BACKPLATE ONTO THE DOOR:
- (Fig. 8) Install the backplate using holes “a” with the screws and lockwashers according to the Pilot/Drill/rap/Screw chart .

- (Fig. 9) Depress pushpad, insert centercase into slots of backplate and rotate toward door.

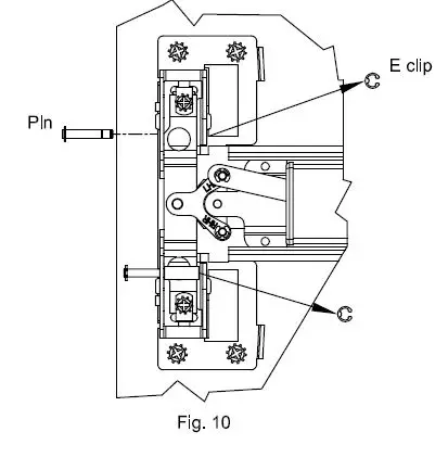
- (Fig 10.) Remove the E-Clips from one end of pins. Pull pins out (if installed). Pins and clips do not need to be re-installed.

- (Fig. 11 & 12) With the key out of the cylinder, align the tailpiece extension into the backplate’s trim cam on the inside door face. Using “e” holes, fasten the trim to the backplate with 1/4-20 machine screws. Three screw lengths are provided for varying door thicknesses.

Depress the pushpad to align the through hole in the carriage with the mounting hole drilled in the door. Install the 1/4-20 machine screw without lockwasher. Repeat for the remaining hole. Trouble Shooting Note: Screw heads should not interfere with the movement of the carriage.
Door Prep for 2″ narrow stile glass doors using 03WS trim devices:
CAUTION:
If you are using 03WS trim on a 2″ narrow stile glass door, DO NOT USE THE PROVIDED STRIKE LOCATOR!
To install 03WS device without a strike locator:
INSIDE DOOR FACE:
- Mark a vertical line 1″ from the edge of the door.Mark horizontal device centerline on door stile & frame. See Fig 13.

- Block door shut.Perform steps 3 through 5 on inside of door.
- Place back plate on door stile, lining up the mounting holes with the vertical line drawn in step 1. Align center of cama with the horizontal line drawn in step 1. Mark and center punch 5 holes “a”, “d” & “e”. See Fig. 14a & 14b.

- Slide the 98 strike against the blocked door & center on the line drawn on door frame. Mark and center punch 2 strike holes. See Fig. 15a 15b.
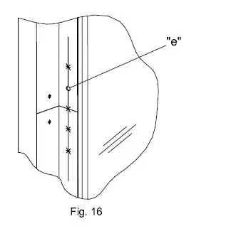
- Drill one pilot hole “e” straight and level thru door at location shown. See Fig. 16.

- Place the back plate on outside of door and center it as shown on the pilot hole previously drilled. Align back plate vertically parallel to door stile. See Fig. 17.
- Mark the cam center “d”. Mark and center punch the other hole “e”. See Fig. 18.

- Make a new mark and center punch 1/4″ higher than the cam center “d” (Fig 19). This will be the mark for the 1-3/4″ outside cylinder hole “f”. Using a 1-3/4″ hole saw, drill only through outside door face at “f’.
NOTE: DRILL STRAIGHT AND LEVEL. USE EXTREME CAUTION – TIGHT TOLERANCE WITH NO MARGIN FOR ERROR
- Drill a 3/4″ hole through INSIDE door face at “d”. See Fig. 20.

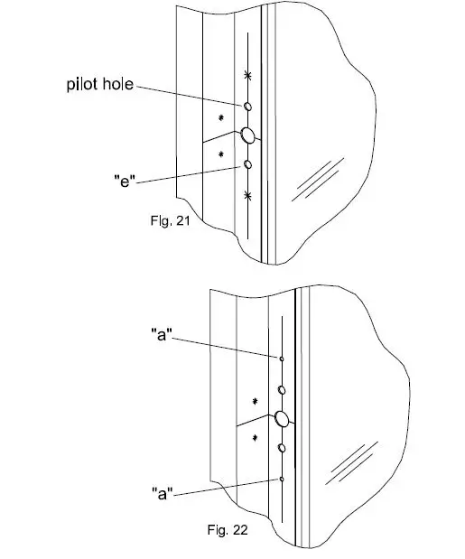
- Enlarge the pilot hole drilled earlier to 3/8″0 through the door & drill the second “e” holeto 3/8″0 through the door. See Fig. 21.

- Drill the back plate mounting holes “a” on the INSIDE door face only per chart. See Fig. 22.


Go back to sheet 2 of this instruction and complete the “Preparing the Trim” section. Complete sheet 3.Complete the “Assembling the Outside Trim” section on sheet 4. Resume with Panic Hardware Instruction.
TEMPLATE -03 WS FOR 40, V40, 50, 51 SERIES NARROW STILE – RHR
NOTES:
For wood doors, drill approximately 1-1/2″ (38) deep.
NOTES:
For wood doors, drill approximately 1-1/2″ (38) deep.








































