
Service Parts GDST36E, GDST36LE
Caliber 36” See-thru Gas Fireplace – DV
Beginning Manufacturing Date: July 1997
Ending Manufacturing Date: Dec. 2001
Log Set Assembly


IMPORTANT: THIS IS DATED INFORMATION. Parts must be ordered from a dealer or distributor. Hearth and Home Technologies does not sell directly to consumers. Provide model number and serial number when requesting service parts from your dealer or distributor. | Stocked at Depot | |||
| ITEM | DESCRIPTION | COMMENTS | PART NUMBER | |
| Log Assembly | 27794 | Y | ||
| Log/Grate Assembly | 27793 | Y | ||
| 1 | Front Bottom Left Log | SRV26623 | ||
| 2 | Top Left Log | SRV24839 | ||
| 3 | Back Left Log | SRV26621 | ||
| 4 | Front Top Left Log | No longer available | SRV17229 | |
| 5 | Middle Log | SRV26620 | ||
| 6 | Rear Top Log | SRV26627 | ||
| 7 | Front Middle Log | SRV26626 | ||
| 8 | Middle Right Log | SRV26625 | ||
| 9 | Back Right Log | SRV26622 | ||
| 10 | Front Bottom Right Log | SRV26624 | ||
| 11 | Top Standoff | Qty 4 req | SRV4044-111 | |
| 12 | Glass Assembly | Qty 2 req | 4002-053 | Y |
| 13 | Grate | 26249 | ||
| 14 | Front Bottom Face | No longer available | 25916 | |
| 15 | Front Lower Face Access Panel | 25893 | ||
| 16 | Screen Assembly | Qty 2 req | 26161 | Y |
| 17 | Refractory | 25835 | ||
| 18 | Front Upper Face – Overlay only | Qty 2 req | 27655 | |
| 19 | Front Top Face | No longer available | 27651 | |
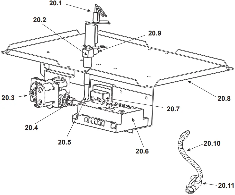
#20 Valve Assembly

IMPORTANT: THIS IS DATED INFORMATION. Parts must be ordered from a dealer or distributor. Hearth and Home Technologies does not sell directly to consumers. Provide model number and serial number when requesting service parts from your dealer or distributor. | Stocked at Depot | |||
| ITEM | DESCRIPTION | COMMENTS | PART NUMBER | |
| 20.1 | Ignitor | 28048 | Y | |
| 20.2 | Bulkhead | No longer available | 35403 | |
| 20 | Valve, NG | SRV462-500B | Y | |
| Valve, LP | SRV462-501B | Y | ||
| 20.4 | Brass Connector – Male – Valve/Tube | 13425 | ||
| 20.5 | Burner Supply Tube | No longer available | 27901 | |
| 20.6 | Ignition Control Box | SRV15695 | Y | |
| 20.7 | Transformer | SRV20947 | Y | |
| 20.8 | Burner Pan Assembly | 25847 | Y | |
| 20.9 | Burner Orifice (.115) – NG | SRV26617 | Y | |
| Burner Orifice (.067) – LP | 17812 | Y | ||
| 20.10 | Flex Line | SRV4121-006 | Y | |
| 20.11 | ON/OFF Valve | SRV15697 | Y | |
| Back Lower Face | No longer available | 25912 | ||
| Brass Connector – Flex | Pkg of 5 | 303-315/5 | Y | |
| Connector, 90° Brass – Flex | SRV4021-045 | |||
| Corner Bracket | No longer available | 23439A | ||
| Exhaust Collar Assembly | No longer available | 25837 | ||
| Exhaust Cover Plate | No longer available | 25840 | ||
| Flue Adapter Assembly | No longer available | 25881 | ||
| Flue Cover Assembly | No longer available | 25900 | ||
| Flue Cover Plate | No longer available | 25901 | ||
| Glass Gasket | 10 FT | 28091/10 | Y | |
| Glass Latch Assembly | No longer available | 30537 | ||
| Glass Latch Handle | Qty 6 req | 4002-061 | Y | |
| Glass Retainer | Qty 4 req | 26798 | ||
| Grate Retainer Bracket | Qty 2 req | 25920 | ||
| Hearth Assembly w/ Burner Pan Assembly | No longer available | 27795 | ||
| High Limit Switch | Pre 20/99 | SRV22922 | Y | |
| High Limit Switch Bracket | No longer available | 26619 | ||
| Hood | Qty 2 req | 27658 | ||
| Ignitor Bracket | No longer available | 27136 | ||
| Intake Collar Assembly | No longer available | 25841 | ||
| Intake Cover Plate | No longer available | 25844 | ||
| Junction Box Assembly | 22130 | Y | ||
| Latch Bracket | 29458 | |||
| Lava Rock | Qty 2 req | 4021-296 | ||
| Mineral Wool | Qty 2 req | SRV14333 | ||
| Nailing Flanges | Qty 8 req | 31190 | ||
| Push Button Ignitor | Pre Sept. 1998 | 291-513 | Y | |
| Screen Bracket | Qty 4 req | SRV28159 | Y | |
| Stop Bracket | No longer available | 22132 | ||
| Touch-up Paint | 71479 | |||
| Valve Bracket | No longer available | 31827 | ||
| Vermiculite | 28746 | |||
| Wiring Harness, Electrical | No longer available | 23002 | ||
| Conversion Kit NG | CKVN | Y | ||
| Conversion Kit LP | CKVP | Y | ||
| Installation Instructions | 28886 | |||
IMPORTANT: THIS IS DATED INFORMATION. Parts must be ordered from a dealer or distributor. Hearth and Home Technologies does not sell directly to consumers. Provide model number and serial number when requesting service parts from your dealer or distributor.


















