GCDC42E 42 Inch Caliber DV Gas Fireplace
Instruction Manual
GCDC42E 42 Inch Caliber DV Gas Fireplace
Service Parts
Caliber 42” Gas Fireplace – DV
GCDC42E, GCDC42LE
Beginning Manufacturing Date: Mar 1997
Ending Manufacturing Date: Jan 1999
Log Set Assembly

IMPORTANT: THIS IS DATED INFORMATION.
Parts must be ordered from a dealer or distributor. Hearth and Home Technologies does not sell directly to consumers. Provide model number and serial number when requesting service parts from your dealer or distributor.
| DESCRIPTION | COMMENTS | PART NUMBER | Stocked at Depot | |
| Log Assembly | No longer available | 27499 | ||
| Top Left Log | No longer available | 24694 | ||
| Top Right Log | No longer available | SRV24839 | ||
| Top Log | No longer available | 25799 | ||
| Front Left Log | No longer available | 27983 | ||
| Center Log | No longer available | 27985 | ||
| Front Right Log | No longer available | 27986 | ||
| Back Right Log | No longer available | 27987 | ||
| Back Left Log | No longer available | 29366 | ||
| Log Assembly | No longer available | 28097 | ||
| Top Left Log | No longer available | 24694 | ||
| Top Right Log | No longer available | SRV24839 | ||
| Top Log | No longer available | 25799 | ||
| Front Left Log | No longer available | 26532 | ||
| Back Left Log | No longer available | 26533 | ||
| Center Log | No longer available | 26534 | ||
| Back Right Log | Qty 4 req | 26536 | ||
| Front Right Log | No longer available | 26535 | ||
| 1 | Top Standoff | SRV4044-111 | ||
| 2 | Hood | 19160 | ||
| 3 | Grille, Top | 25143A | ||
| 4 | Firescreen Assembly | 25674 | Y | |
| 5 | Glass Assembly | GLA4031-096 | Y | |
| 6 | Grille, Lower | 25144 | ||
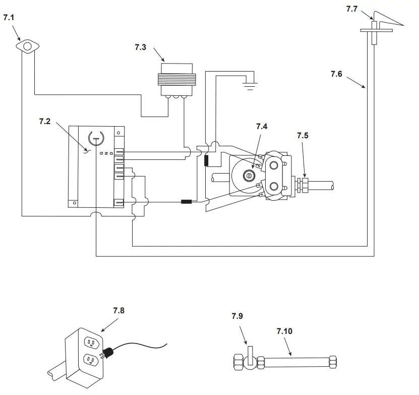
#7 Electronic Ignition Wiring Diagram

IMPORTANT: THIS IS DATED INFORMATION.
Parts must be ordered from a dealer or distributor. Hearth and Home Technologies does not sell directly to consumers. Provide model number and serial number when requesting service parts from your dealer or distributor.
| ITEM | DESCRIPTION | COMMENTS | PART NUMBER | Stocked at Depot |
| 7.1 | High Limit Switch | 4021-642 | Y | |
| 7.2 | Ignition Control Box | SRV15695 | Y | |
| 7.3 | Transformer | SRV20947 | Y | |
| 7.4 | Brass Connector – Male – Flex | Pkg of 5 | 303-315/5 | Y |
| 7.5 | Valve, NG | SRV462-500B | Y | |
| Valve, LP | SRV462-501B | Y | ||
| 7.6 | Ignitor Ground Wire | No longer available | 25405 | |
| 7.7 | Ignitor | 26541 | Y | |
| 7.8 | Junction Box | 22130 | Y | |
| 7.9 | ON/OFF Valve | SRV15697 | Y | |
| 7.10 | Flex Line | SRV4121-006 | Y | |
| Burner Orifice – NG/.110 | SRV17235 | Y | ||
| Burner Orifice – LP/.063 | Pre 19/98 | 17236 | Y | |
| Burner Orifice – LP/.067 | Post 19/98 | SRV17812 | Y |
IMPORTANT: THIS IS DATED INFORMATION.
Parts must be ordered from a dealer or distributor. Hearth and Home Technologies does not sell directly to consumers. Provide model number and serial number when requesting service parts from your dealer or distributor.
| ITEM | DESCRIPTION | COMMENTS | PART NUMBER | |
| Brass Connector – Male – Tube | 13425 | |||
| Brass Elbow | No longer available | 13908B | ||
| Burner Gas Tube | No longer available | 25457 | ||
| Burner Pan Assembly | Post 19/98 | 25832 | Y | |
| Face, Bottom Front | Overlay only | 24978 | ||
| Face, Top Front | No longer available | 24977 | ||
| Glass Latch Assembly | Qty 3 req | 27066 | ||
| Latch Bracket | 29458 | |||
| Hearth Pan | No longer available | 24976 | ||
| High Limit Switch Plate | No longer available | 14391D | ||
| Hood, Extended | 29576 | |||
| Ignition Control Shield | No longer available | 27647 | ||
| Ignitor Bracket | No longer available | 26596 | ||
| Lava Rock Retainer | No longer available | 26730 | ||
| Nailing Flange | Qty 4 req | 31190 | ||
| Outer Collar Assembly | No longer available | 29778 | ||
| Refractory Kit | No longer available | 25456 | ||
| Refractory, Back | 25158 | |||
| Refractory, Side | No longer available | 25169 | ||
| Stop Bracket | No longer available | 22132 | ||
| Touch-up Paint | 71479 | |||
| Valve Bracket | No longer available | 31827 | ||
| Wool, Lava Rock, Vermiculite | 4040-094 | |||
| Lava Rock | 4021-296 | |||
| Mineral Wool | SRV14333 | |||
| Vermiculite | 28746 | |||
| Installation Instructions | 28883C | |||
| Conversion Kit NG | CKVN | Y | ||
| Conversion Kit LP | CKVP | Y |




















