heatilator Caliber 36 Direct Vent Gas Fireplace

Product Information
The product is a Caliber 36 Direct Vent Gas Fireplace. It has the following specifications
- Front Width: 41 inches
- Height: 40-7/8 inches
- Depth: 21-7/16 inches
- Glass Size: 34-1/4 x 24-3/4 inches
- Heat Management Systems Access: 6 inches
- BTU/Hour Input: 16,000 – 30,000 BTUs (Natural Gas), 17,000 – 28,000 BTUs (Liquid Propane)
- Weight: 163 lbs
Product Usage Instructions
To ensure proper usage of the Caliber 36 Direct Vent Gas Fireplace, please follow the instructions below
Installation
- Refer to the installation manual for final dimensions and requirements.
- Adjust framing dimensions for interior chase sheathing, such as sheetrock.
- If using heat management, please refer to the fireplace installation manual for framing guidelines and reduced mantel clearances.
Venting
For venting scenarios and guidelines, refer to the installation manual.
Mantel Clearances
If using a combustible mantel, ensure the following projections:
| A Minimum (Inches) | B Maximum (Inches) |
|---|---|
| 2-7/16 | 6-7/16 |
| Millimeters | 62-189 |
If using a non-combustible mantel, ensure the following projections:
| A Minimum (Inches) | B Maximum (Inches) |
|---|---|
| 0-7/16 | 7-7/16 |
| Millimeters | 0-189 |
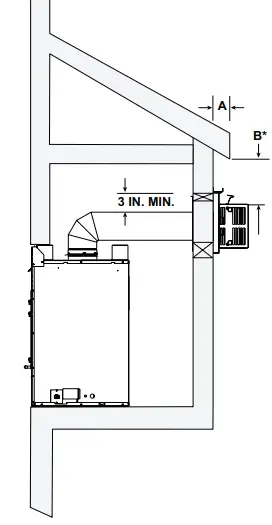
Exterior Chase Minimum Height Requirements
The minimum height requirements for the exterior chase are as follows:
- Wall Penetration: Minimum 3 inches
- A: 10 inches
- B*: 27-7/8 inches
- *Shows center of vent framing hole for top or rear venting. The center of the hole is one (1) inch above the center of the horizontal vent pipe.
Note: Do not pack vent framing hole with insulation or other material. Clearance from the top of the termination cap to the bottom of overhang may be 0 inches if the overhang is less than 2 inches.
For more detailed information on venting, TV clearances, finishing requirements, and other aspects of the product, refer to the installation and owner’s manual.
Specifications
Direct Vent Gas Fireplace






Adjust framing dimensions for interior chase sheathing (such as sheetrock)
BASIC CORNER INSTALLATION
Reference install manual for additional venting scenarios
COMBUSTIBLE MANTEL PROJECTIONS 
Note: Measurement is taken from top of the opening, Not the top of the fireplace
NON-COMBUSTIBLE MANTEL PROJECTIONS 
Note: Measurement is taken from top of the opening, Not the top of the fireplace
COMBUSTIBLE MANTEL LEGS OR WALL PROJECTIONS
| If A minimum is , then B maximum is . | |||||||
| A | Inches | 2-7/16 | 3-7/16 | 4-7/16 | 5-7/16 | 6-7/16 | 7-7/16 |
| Millimeters | 62 | 87 | 113 | 138 | 164 | 189 | |
| B | Inches | 1 | 2 | 3 | 4 | 5 | |
| Millimeters | 25 | 51 | 76 | 102 | 127 | ||
Combustible Mantel Leg or Wall Projections (Acceptable on both sides of opening)
NON-COMBUSTIBLE MANTEL LEGS OR WALL PROJECTIONS
| If A minimum is , then B maximum is . | |||
| A | Inches | 0-7-7/16 | 7-7/16 |
| Millimeters | 0-189 | 189 | |
| B | Inches | 6 | |
| Millimeters | 152 | ||
Non-Combustible Mantel Leg or Wall Projections (Acceptable on both sides of opening)
- If using heat management please refer to the fireplace installation manual for framing guidelines and reduced mantel clearances. Additional information on venting, TV clearances, finishing requirements, fronts, etc. can be found in the installation and owner’s manual
EXTERIOR CHASE MINIMUM HEIGHT REQUIREMENTS WALL PENETRATION
NOTE: If overhang (A) is less than 2 inches, clearance from top of termination cap to bottom of overhang (B) may be 0 inches.
- A – Measured from back of vent cap to end of overhang
- B – Measured from bottom of overhang to top of termination cap
- Vinyl Siding Shield (TRAP-VSS) Information TRAP-VSS required if overhang (A) is greater than 3 inches but less than 5 inches and B dimension is less than 18 inches.
- TRAP-VSS recommended if either of the below is true:
- Overhang (A) is less than 5 inches (to combat water infiltration)
- A vinyl overhang is present

WALL PENETRATION
DO NOT PACK VENT FRAMING HOLE WITH INSULATION OR OTHER MATERIAL
- Shows center of vent framing hole for top or rear venting. The center of the hole is one (1) in. (25 mm) above the center of the horizontal vent pipe.
| PRODUCT LISTING CODES | |
| US | ANSI Z21.88-2019 |
| CAN | CSA 2.33-2019 |
![]() | UL307B |
- Product information provided is not complete and is subject to change without notice. Product installation must adhere strictly to instructions accompanying product to avoid risk of fire and potential injury.
Scan QR code for installation manual for final dimensions and requirements.
Heatilator — A Brand of Hearth & Home Technologies
7571 215th Street West | Lakeville, MN 55044
877-486-9123 | heatilator.com


















