LEDGEAR DALI DT6 TC Rotary Dimmer

Operating instructions
If you have technical questions, please contact.
E-mail: [email protected] Tel: +86-755-29516789

All rights reserved. The information in this document is subject to change without notice.
Technical data
| Input voltage | 230-240VAC, 50/60Hz |
| Max power | 3W |
| Control interface | DA+, DA- |
| Output voltage | 10-16.5V |
| Max load @ Ta=25°C | 46 DALI ECGs / 92mA |
| DALI current draw | 4mA |
| Standby power | Typ. 0.3W |
| No load pwer | Typ. 0.5W |
| Color temperature tuning range | 2000K ~ 10000K |
| Working temp. | ta: 0 ~ +50°C, tc: 70°C |
| DALI-mode | DT6, DT8 tunable white |
| Dimming range | 0.1 % – 100 % |
| Mains surge capability (between L – N) | 0.5 kV |
| Operating life | 50,000 cycles |
| Warranty | 5 years |
The Dimmer is designed for a life-time stated above under reference conditions and with a failure probability of less than 10%. The relation of tc to ta temperature depends on the installation conditions.
For your safety
Risk of death and fire due to electrical voltage of 230 V.
- Work on the 230V supply system may only be performed by authorized electricians!
- Disconnect the mains power supply prior to installation and/or disassembly!
- Please read the mounting instructions carefully and keep them for future use.
- Additional user information and information about planning is available at www.Kinglumi.com
Dimensions Unit: mm
The flush-mounted dimmer must only be installed in flush mounted boxes according to DIN 49073-1 or suitable surface mounted housings. Only be installed in dry interior rooms. Observe the currently valid regulations.

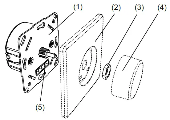
Dimmer and covers

- 1. Dimmer
- (2) Frame
- (4) Rotary knob
- (5) Screw terminals (2) ,
- (4)Not included
Wiring
Support both Master mode(powered by AC mains), and Slave mode(powered by DALI bus).
- AC power input should only be connected if the dimmer is used as a Master.
- Wiring cross section Max. 2.5 mm.2
- Total length power cable Max. 300 m.
- Total length of DALI bus cable Max. 300 m.

Intended use
- Switching
- Dimming
- Color temperature tuning(for DALI DT8 only)
- Memory
To utilize the lowest possible dim level (0.1%) please make sure that the drivers used in the installation support dimming down to 0.1%.
Environment!
Consider the protection of the environment! Used electric and electronic devices must not be disposed of with domestic waste.
The device contains valuable raw materials which can be recycled. Therefore, dispose of the device at the appropriate collecting depot.
Wiring Examples
Master Mode Max 46 DALI Devices
One master dimmer connected to AC and DALI (active power supply) and up to three additional slave dimmers connected to DALI only (inactive power supply).
Slave Mode using external DALI Power Supply Slave dimmers connected to DALI only (inactive power supply). DALI-power supplied by external system. Number of DALI-devices depending on the limitation the external control system. Each connected dimmer draws 4 mA from the DALI bus. 
Master Mode Max 92 DALI Devices
Two master dimmers connected to AC and DALI (active power supply) and up to two additional slave dimmers connected to DALI only (inactive power supply). 
Commissioning
- Save switch-on brightness
If the lighting is not always to be switched on with the same brightness, then this can be saved as a switch on brightness.- Switch on light.
- Set required switch-on brightness.
- Press the rotary knob for longer than 10 seconds.
The lighting briefly switches off-on-off and then on. The switch-on brightness is saved.
- Delete switch-on brightness
- Switch the light off.
- Press the rotary knob for longer than 10 seconds. The lighting briefly switches on-off and then on. The switch-on brightness has been deleted.
Operation
- Dimming
Turn the rotary knob either clockwise or anti- clockwise: the connected lamps are dimmed brighter or darker.
Turn slowly = Brightness change small Turn quickly = Brightness change great
* The rotary knob does not have a limit stop!
- Color temperature tuning
Turn the rotary knob either clockwise or anti- clockwise: The connected lamps are tuning color cooler (increase color temperature ) or warmer(reduce color temperature ).
Turn slowly = Color change small
Turn quickly = Color change great
Only works with the DALI DT8 tc devices. The rotary knob does not have a limit stop!
- Switching
Press the rotary knob: the connected lamps are switched-on or off.
* The dimmer has memory and will store the last brightness & color temperature or saved switch-on brightness. - Activate dimming mode & tuning mode Double click(press <0.5s) the rotary knob to switch between dimming mode and tuning mode.
* The dimmer is default in dimming mode unless activate to tuning mode, and will return to dimming mode if no tuning over 30s.






















