TRUE FINE TD60006OT Freeport 14 Inch 1 Light Black Hardwired Outdoor Wall Lantern Sconce
Installation
DANGER: Before installation,ture off the main power at the circuit breaker.
WARNING: Installation must be performed by a qualified licensed electricion
TOOLS REQUIRED FOR INSTALLATION AND ASSEMBLY (not included):

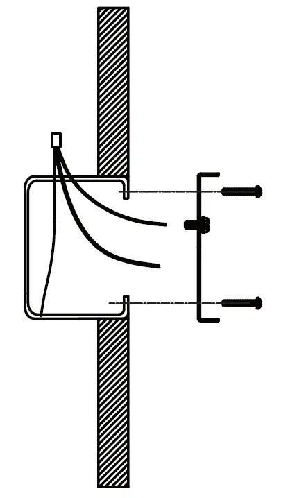
- Removing the existing fixture
A. Remove the existing fixture.
- Connecting the wires
A. Connect the white supply wire to the white fixture wire.
B. Connect the black supply wire to the black fixture wire.
C. Connect the ground supply wire to the ground fixture wire.
D. Use wire nuts to secure all connections.
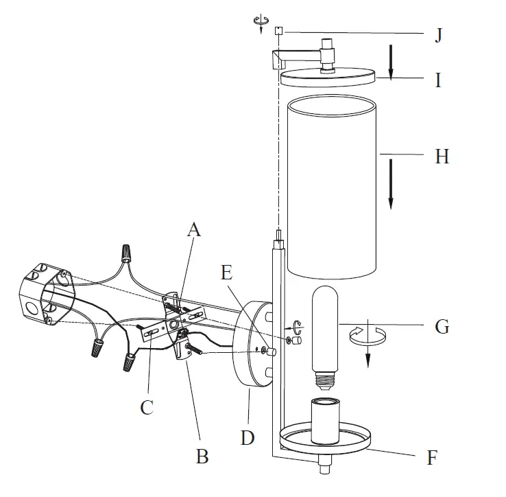
- Installing the fixtures
A. Tuck the fixture wires into the ceiling box, attached the mounting plate(C) to the ceiling box and fix them with 2 mounting screws(A).
B. Align the 2 screws(B) through the holes of the back plate(D), and fix them with screw nuts(E).
C. Install bulb (G) (Not included)to the socket, place glass shade (H) and cap (I) to fixture body (F), then fix them with screw nut (J).

TROUBLESHOOTING
| Possible Cause | Corrective Action | |
| Light will not turn on. | 1.Power is off. | 1.Make sure power supply is on. |
| 2.Faulty switch. | 2.Test or replace switch. | |
| 3. Faulty wire connection. | 3. Check wiring. | |
| Fuse blows or circuit breaker trips when light is turned on. | 1. Crossed wires or power wire is grounding out. | 1. Check wire connections. |
PRODUCT MAINTENANCE
- To clean the outside of the fixture,use a dry or slightly dampened clean cloth (use clean water ,never a solvent) to wipe the surface of the fixture.
- To clean the inside of the fixture, first disconnect power to the fixture by turn off the circuit breaker or by removing the fuse at the fuse box. Next, use a dry or slightly dampened clean cloth (use clean water, never a solvent) to wipe the interior surface of the fixture.
- Do not use any cleaners with chemicals, solvents or harsh abrasives. Use only a dry soft cloth to dust or wipe carefully.
CAUTION: To avoid any waterproofing problems, please make sure the light fixture fits the mounting surface perfectly installation and use waterproof glue around the canopy for better sealing after installation.
Customer Service: [email protected]











