WOLFGANG TD60005W Outdoor Wall Lantern Sconce

Product Information
Outdoor Wall Sconce
This outdoor wall sconce is manufactured in China and comes with an instruction manual for easy installation and maintenance. It is designed to provide reliable lighting for outdoor spaces and is equipped with a fuse and circuit breaker to prevent electrical hazards. The product also comes with a troubleshooting guide for easy problem-solving.
Product Troubleshooting
If you face any issues with the light, refer to the following:
- Issue: The light will not turn on.
- Possible Causes: 1. Power is off. 2. Faulty switch. 3. Faulty wire connection.
- Corrective Actions: 1. Make sure the power supply is on. 2. Test or replace the switch. 3. Check to the wire.
- Issue: Fuse blows or circuit breaker trips when the light is turned on.
- Possible Causes: 1. Crossed wires or power wire is grounding out.
- Corrective Actions: 1. Check wire connections.
Product Product Maintenance
Follow these steps to maintain the product:
- To clean the outside of the fixture, use a dry or slightly dampened clean cloth (use clean water, never a solvent) to wipe the surface of the fixture.
- To clean the inside of the fixture, first disconnect the power to the fixture by turning off the circuit breaker or by removing the fuse at the fuse box. Next, use a dry or slightly dampened clean cloth (use clean water, never a solvent) to wipe the interior surface of the fixture.
- Do not use any cleaners with chemicals, solvents, or harsh abrasives. Use only dry soft cloth to dust or wipe carefully.
CAUTION: To avoid any waterproofing problems, make sure the light fixture fits the mounting surface perfectly during installation and use waterproof glue around the canopy for better sealing after installation.
If you have any questions or concerns, please contact customer service at [email protected]
Product Usage Instructions
Before installation, turn off the main power at the circuit breaker. Installation must be performed by a qualified licensed electrician. The following tools are required for installation and assembly (not included): Phillips screwdriver, safety goggles, flathead screwdriver, tape, electrical wire cutters, and wire strippers.
Installation Steps
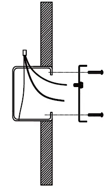
- Removing the existing fixture: Remove the existing fixture.
- Connecting the wires:
- Connect the white supply wire to the white fixture wire.
- Connect the black supply wire to the black fixture wire.
- Connect the ground supply wire to the ground fixture wire.
- Use wire nuts to secure all connections.
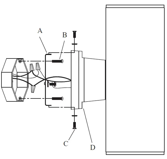
- Tuck the fixture wires into the ceiling box, attach the mounting plate (A) to the ceiling box and fix them with 2 mounting screws (B).
- Place fixture (D) onto the mounting plate (A). Secure with short mounting screws (C).Installing the fixtures:
TROUBLESHOOTING
| Possible Cause | Corrective Action | |
| The light will not turn on. | 1. Power is off. | 1. Make sure the power supply is on. |
| 2. Faulty switch. | 2. Test or replace the switch. | |
| 3. Faulty wire connection. | 3. Check the wire. | |
| The fuse blows or the circuit breaker trips when the light is turned on. | 1. Crossed wires or power wire is grounding out. | 1. Check wire connections. |
PRODUCT MAINTENANCE
- To clean the outside of the fixture, use a dry or slightly dampened clean cloth (use clean water, never a solvent) to wipe the surface of the fixture.
- To clean the inside of the fixture, first disconnect the power to the fixture by turn off the circuit breaker or by removing the fuse at the fuse box. Next, use a dry or slightly dampened clean cloth (use clean water, never a solvent) to wipe the interior surface of the fixture.
- Do not use any cleaners with chemicals, solvents, or harsh abrasives. Use only dry soft cloth to dust or wipe carefully.
CAUTION: To avoid any waterproofing problems, please make sure the light fixture fits the mounting surface perfectly during installation and use waterproof glue around the canopy for better sealing after installation.
Installation
DANGER: Before installation, turn off the main power at the circuit breaker.
WARNING: Installation must be performed by a qualified licensed electrician.
TOOLS REQUIRED FOR INSTALLATION AND ASSEMBLY (not included)

Removing the existing fixture
- A. Remove the existing fixture.

Connecting the wires
- A. Connect the white supply wire to the white fixture wire.
- B. Connect the black supply wire to the black fixture wire.
- C. Connect the ground supply wire to the ground fixture wire.
- D. Use wire nuts to secure all connections.

Installing the fixtures
- A. Tuck the fixture wires into the ceiling box, attached the mounting plate(A) to the ceiling box, and fix them with 2 mounting screws(B).
- B. Place fixture (D) onto the mounting plate(A). Secure with short mounting screws (C).

Customer Service: [email protected].












