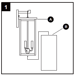
Trevot TD40019OT 3 Light 22.5 IOnch Large Black Outdoor Wall Lantern Sconce
Product Information: Outdoor Wall Sconce
The Outdoor Wall Sconce is a lighting fixture designed to be mounted on a wall outdoors. The package contains two parts, Part A (Fixture) and Part B (Glass), with a quantity of 1 and 4 respectively. The hardware contents include four items: ABA, BBB, CBC, and DBD. The estimated assembly time is 25 minutes and tools required for assembly (not included) are Flathead screwdriver, Phillips screwdriver, Pliers, Electrical tape, Wire cutters, and Safety glasses.
Hardware Contents (shown actual size)
- ABA
- BBB
- CBC
- DBD

Package Contents
- A – Fixture x1
- B – Glass x4

WARNING: Please read and understand the entire manual before attempting to assemble, operate or install the product.
PREPARATION: Before beginning assembly of product, make sure all parts are present. Compare parts with package contents list and hardware contents list. If any part is missing or damaged, do not attempt to assemble the product.Before beginning assembly of product, make sure all parts are present. Compare parts with package contents list and hardware contents list. If any part is missing or damaged, do not attempt to assemble the product.
Estimated Assembly Times: 25 minnutes
Tools Required for Assembly (not included): Flathead screwdriver , Phillips screwdriver, Pliers, Electrical tape, Wire cutters, Safety glasses.
Helpful Tools (not included): Wire strippers, Step ladder.
Customer Service: [email protected]
Assembly Instructions
- As shown in the figure on the right, attach bulbs, glass and decorative part into the fixture body.

- Hardware Used
- Fixture
- Glass

- Hardware Used
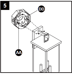
- Attach the mounting plate (DD) to the outlet box (not included) with the long mounting screws (CC).

- Hardware Used
- Long mounting screw
- Mounting plate

- Hardware Used
- Strip 3/4 in. of insulation from wire ends. Twist stripped ends together with pliers (not included), black to black (power) and white to white (neutral). Attach copper wire to ground wire. Helpful hint: If necessary, attach copper ground wire to grounded outlet box.

- Attach wire nuts (BB).Tape wire nuts (BB) and wires together.

- Hardware Used
- Wire nut

- Wire nut
- Hardware Used
- Align the 2 screws (AA) through the holes of the back plate, and fix them with screw nuts.

- Hardware Used
- Long mounting screw
- Mounting plate

- Hardware Used
CAUTION: To avoid any waterproofing problems, please make sure the light fixture fits the mounting surface perfectly installation and use waterproof glue around the canopy for better sealing after installation.
Customer Service: For any queries or assistance, please contact [email protected].












