ZALMAN Z9 NEO PLUS ATX Mid Tower Computer Case

To ensure safe and easy installation, please read the following precaution. Product design and specifications may be revised to impove quality and performance
Cautionary Note
- Please read this manual thoroughly prior to installation.
- Before installing, check the components and condition of the product, and if any problem is found, contact the retailer.
- Please wear gloves while handling this product to prevent injuries.
- Incorrect cable connections may cause short circuits leading to fire hazards.
- Do not block the front intake vent or the rear exhaust vent.
- Keep this unit away from heat sources, direct sunlight, water, oil and place the unit on a flat and well-ventilated area.
- Do not clean the product surface with chemicals or wet cloth. (chemicals: industrial alcohol, pait thinner and organic solvent etc.)
- Avoid inserting objects or hands into the system while it is in operation to prevent product damage and injuries.
- Zalman Tech Co., Ltd. is not responsible for any improper use.
- Product design and specifications may be revised to improve quality and performance.
Components
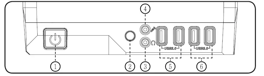
Top I/O Ports
| # | Part | # | Part |
| ① | Power Button | ② | Reset Button |
| ③ | Headphones | ④ | Mic |
| ⑤ | USB 2.0 | ⑥ | USB 3.0 |
Installation
Side Panel Removal
Motherboard Installation
There are 6 Stand-offs preinstalled. Please refer to the diagrams below for additional Stand-Off positions (based on motherboard type).
VGA Card Installation
Unfasten the Hand Screw holding the PCI Cover and disassemble the cover. Remove the PCI Slot Cover. Install the VGA Card and fasten with a fixing screw.
5.25” Drive Installation
Front Cover Removal
ODD Installation
3.5”, 2.5” HDD Installation
Install the Drive on the HDD tray
- then remove the HDD Tray as shown in the figure.
- Install the tray on the drive.

Install the Drive on the HDD tray
Tip
When transporting an assembled system, Please secure the HDD whte Bolt as shown above
Cable Connection
How to Install the Cooler
As shown in the picture, install the cooler on the top of the case using bolts
Warranty Information
Zalman Tech products come with the following limited warranties:
- 1 Year Warranty
CPU coolers (All CNPS series, Reserator 3 Max series, LQ3xx series), computer cases, keyboards, mice, laptop coolers, case fans, hardware enclosures (including VE series), audio devices, and all other accessories not specified below. - 3 Year Warranty
HQ series AIO CPU coolers - 7 Year Warranty
EBT series Power Supply Units Zalman USA has the right to change the availability of a limited warranty at its own discretion and any changes will not be retroactive. - The limited warranty does not cover…
- Non-Zalman brand products and accessories.
- Problems resulted from external causes such as accidents, abuse, misuse, and/or problems with electrical power.
- Any service not authorized by Zalman USA.
- Usage that is not in accordance with product instructions.
- Failure to follow the product instructions and/or failure to perform preventive maintenance.
- Problems caused by using accessories, parts, and/or components not supplied by Zalman.
- Products with missing, altered Service Tags and/or serial numbers.
- For the United States and Canada
Technical support and warranty-related inquiries: [email protected] Toll free customer service: 1-888-925-6266 - For all other regions
Send e-mail to [email protected]
For detailed warranty information, please visit www.zalman.com.























