ZALMAN Z9 NEO ATX Mid-Tower Computer Case

Cautionary Note
- Please read this manual thoroughly prior to installation.
- Before installing, check the components and condition of the product, and if any problem is found, contact the retailer.
- Please wear gloves while handling this product to prevent injuries.
- Incorrect cable connections may cause short circuits leading to fire hazards.
- Do not block the front intake vent or the rear exhaust vent.
- Keep this unit away from heat sources, direct sunlight, water, oil and place the unit on a flat and well-ventilated area.
- Do not clean the product surface with chemicals or wet cloth. (chemicals: industrial alcohol, pait thinner and organic solvent etc.)
- Avoid inserting objects or hands into the system while it is in operation to prevent product damage and injuries.
- Zalman Tech Co., Ltd. is not responsible for any improper use.
- Product design and specifications may be revised to improve quality and performance.
Components
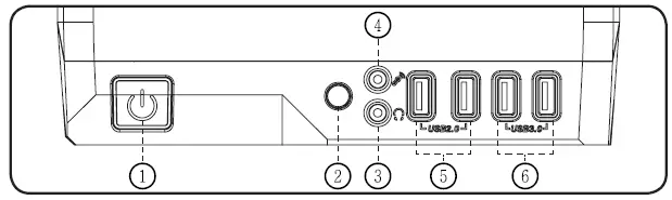
Top I/O Ports
| # | Part | # | Part |
| ① | Power Button | ② | Reset Button |
| ③ | Headphones | ④ | Mic |
| ⑤ | USB 2.0 | ⑥ | USB 3.0 |
Installation
- Side Panel Removal

- Motherboard Installation

There are 6 Stand-offs preinstalled. Please refer to the diagrams below for additional Stand-Off positions (based on motherboard type). - VGA Card Installation

Unfasten the Hand Screw holding the PCI Cover and disassemble the cover. Remove the PCI Slot Cover. Install the VGA Card and fasten it with a fixing screw. - 5.25” Drive Installation
- Front Cover Removal

- ODD Installation

- 3.5”, 2.5” HDD Installation
- Install the Drive on the HDD tray

- then remove the HDD Tray as shown in the figure.
- Install the Drive on the HDD tray

- Install the tray on the drive.

- When transporting an assembled system, Please secure the HDD white Bolt as shown above

- Cable Connection

- 2.5 “HDD, SSD Installation
2.5″ HDD and SSDs can be installed on the side of the case as shown in the diagram below.
- The images can differ from the actual

How to Install the Cooler
- As shown in the picture, install the cooler on the top of the case using bolts

Warranty Information
Zalman Tech products come with the following limited warranties:
- 1 Year Warranty
CPU coolers (All CNPS series, Reserator 3 Max series, LQ3xx series), computer cases, keyboards, mice, laptop coolers, case fans, hardware enclosures (including the VE series), audio devices, and all other accessories not specified below. - 3-Year Warranty
HQ series AIO CPU coolers - 7-Year Warranty
EBT series Power Supply Units
Zalman USA has the right to change the availability of a limited warranty at its own discretion and any changes will not be retroactive.
The limited warranty does not cover…
- Non-Zalman brand products and accessories.
- Problems resulted from external causes such as accidents, abuse, misuse, and/or problems with electrical power.
- Any service not authorized by Zalman USA.
- Usage that is not in accordance with product instructions.
- Failure to follow the product instructions and/or failure to perform preventive maintenance.
- Problems caused by using accessories, parts, and/or components not supplied by Zalman.
- Products with missing, altered Service Tags and/or serial numbers.
- For the United States and Canada
Technical support and warranty-related inquiries: support.usa@zalmanusa.com Toll-free customer service: 1-888-925-6266 - For all other regions
Send e-mail to tech[email protected]
For detailed warranty information, please visit www.zalman.com.


































