

Braukmann
Z74A
Installation instructions

Automatic reverse rinsing actuator with bayonet connection
Installation
It is necessary during installation to observe codes of good practice, to comply with local requirements, and to follow the installation instructions.
The installation location should be protected against frost and be easily accessible.
Assembly
2.1 Close isolating valves 1 and 2.
2.2 Open the ball valve on the filter by turning the reverse rinsing knob.
- The marker bar must be vertical.
Check availability of a suitable drainage outlet or catchment vessel.
2.3 Pull the reverse rinsing knob off the filter.
2.4 Fit the automatic reverse rinsing actuator
- Plug in the Z 74 A
- Push the housing in the direction of the filter against the ball valve and at the same time firmly restrain filter and turn the housing through 90°.
2.5 Plug in the mains plug.
This will cause a reverse rinsing cycle to occur.
Reverse rinsing water drainage
3.1 Direct connection
Connect drainage according to DIN 1986 or to national standards.
Pipe diameter A must be strictly observed, otherwise discharge pipe may overflow.
| Filter-size | Drain Pipe Size | Transition | Reverse Rinsing | C |
| A* | Connector B | Quantity (liters)’ | (mm) | |
| 3/4″ | DN 70 | DN 50/70 | 20 | 300 |
| 1″ and 11/4″ | DN 70 | DN 50/70 | 25 | 300 |
| 11/2″ and 2″ | DN 70 | DN 50/70 | 30 | 300 |
* All necessary pipes and tundish (3 x 90° bends)
** for an operating pressure of 4 bar and a reverse rinsing period of 25 s By using our drainage connection, the 20 mm free
discharge specified in DIN 1988 is already built-in.
3.2 Discharge into existing ground drainage

Fitting batteries
The batteries provide a power supply to close the ball valve in compliance with regulations if the mains current fails during the reverse rinse cycle.
Batteries are not supplied with the appliance.
4.1 Pull out the electrical mains plug.
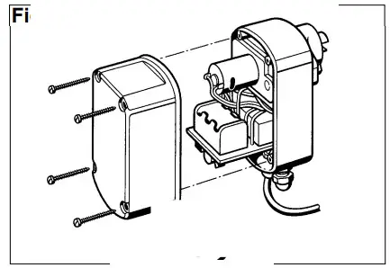
4.2 Unscrew the housing screws with a screwdriver and remove the lid.
4.3 Insert the batteries
(four LR 6-1.5 V-Mignon/AA size alkali-manganese)
4.4 Reassemble in reverse order.
When batteries are fitted, do not leave the mains unplugged for too long.
Setting of the reverse rinsing interval
DIN 1988 requires that a reverse rinse cycle occurs at intervals of not more than two months. National requirements must be observed.
A reverse rinse interval of 45 days is set during manufacture.
The setting of other intervals (see also sticker inside the body)
Setting of other intervals (see also sticker inside body)
- Pull out the electrical mains plug
- Unscrew the housing screws with a screwdriver and remove the lid
- Set the required interval by sliding the DIP switches according to the following table and Fig. 5
- Reassemble in reverse order.

When power is reinstated after a break in the power supply a reverse rinse cycle will automatically occur.
Manual activation of reverse rinsing
- Pull out the electrical mains plug
- Plug in again after several seconds
- A reverse rinse cycle will automatically occur.
Additional functions
7.1 Remote switching
With a volt-free changeover relay the Z 11 A can be remotely operated. (E.g. Bürkle type REL 2). Minimum closed-circuit period
for operation is 1 second.
7.2 Remote monitoring
For remote monitoring of the open/closed position of the ball valve we recommend the installation of a central control panel with
0-10 V
input. The maximum current is 10 mA. A feedback voltage of 5-10 V
means that mains voltage is present and that the ball valve is closed.
7.3 Differential pressure switch
The reverse rinse function can be operated when needed by a differential pressure switch with a volt-free microswitch (e.g. FEMA
type DDCM1). We recommend a pressure differential setting of 1.0 bar.
Reverse rinsing cannot be operated via a differential switch if a pressure reducer is located between the inlet and outlet.
For this reason, a differential pressure switch cannot be used for filter assemblies with pressure reducers e.g. FK 74 C.

*see also sticker inside body
Safety guidelines
8.1 Use appliance only:
- In good condition
- According to regulations
- With due regard to safety.
8.2 Follow installation instructions.
8.3 Immediately rectify any malfunctions which may influence safety.
8.4 The Z 74 A automatic reverse rinse actuator is exclusively for use for reverse rinse applications with Resideo filters and filter combinations. Any variation from this or other use will not comply with requirements.
All electrical connections of additional functions are to be carried out by an electrician.
Local requirements are to be observed.
Do not use cleaning materials containing solvents.
Technical data
The appliance is fitted with electrical suppression during manufacture.
| Nominal voltage | Version A = 230 V ~ Version B = 24 V ~ |
| Frequency | 50 / 60 Hz |
| Electrical consumption | 10 W |
| Supply cable | 1.5 m |
| Battery life | Approximately 3 years |
| Fuse | 800 mA / F |
| Reverse rinse duration | approximately 25 s with mains electricity operation |
| Reverse rinse quantity | see table 3.1 |
| Ambient conditions | 5 . . . 90 % r.H.; 0 . . . 60 °C |
| Protection | IP 55 water vapour protected |
| Protection class | 1 (DIN VDE 0700-T1 / EN 60335-1) |
| Approx. dimensions | Width: 70 mm Depth: 160 mm(1″) |

Manufactured for
and on behalf of
Pittway Sàrl, Z.A., La Pièce 4,
1180 Rolle, Switzerland
by its authorized representative
Ademco 1 GmbH
For more information
homecomfort.resideo.com/europe
Ademco 1 GmbH, Hardhofweg 40,
74821 MOSBACH, GERMANY
Phone: +49 6261 810
Fax: +49 6261 81309
Subject to change. EN1H-1121GE23 R0520
© 2020 Resideo Technologies, Inc. All rights reserved.



















