resideo Braukmann F74CS/FN74CS User Guide

APPLICATION
The reverse rinsing filters ensure a continuous supply of filtered water. The fine filter prevents the ingress of foreign bodies, for example rust particles, strands of hemp and grains of sand and thus reduces the probability of corrosion. The fine filters are used in systems where an existing pressure reducing valve is fitted or where one is not required. Both horizontal and vertical installation is possible
APPROVALS
- DVGW
approval for all filters with 100 μm mesh sizes and with
rotatable connection piece
SPECIAL FEATURES
- LEAD-FREE: Pb content of all materials less than 0.1 %
- Filtered water supplied even during reverse rinsing
- Patented reverse rinsing system – fast and thorough cleaning of the filter with small amount of water
- Memory ring indicates when next manual reverse rinsing is due
- Automatic reverse rinsing actuator with bayonet connector can be retrofitted
- Large filter surface
- Shock resistant clear synthetic material filter bowl enables easy checking of filter contamination
- Filter insert fully replaceable
- ACS certified
- All materials are KTW approved
- Approved by TÜV LGA for low noise, Group 1 without limitations
TECHNICAL DATA
| Media | |
| Medium: | Drinking water |
| Connections/Sizes | |
| Connection sizes: | 1/2″ – 2″ (with rotatable connector piece) |
| Pressure values | |
| Operating pressure range: | 1.5 – 16 bar |
| Max. inlet pressure: | 16 bar (up to 12 bar long-term*) |
| Operating temperatures | |
| Operating temperature range medium accord. to EN 1567: | 5 – 30 °C |
| Specifications | |
| Installation position: | Horizontal or vertical, with filter bowl downwards |
* For maintaining the measuring accuracy of the manometer, a continuous maximum pressure load of 12 bar is permitted.
Note: The filter is constructed for drinking water installations. In case of a process water application the filter has to be proven individually
CONSTRUCTION
| Overview | Components | Materials | |
![]() | 1 | Housing with pressure gauge | F74CS-xx/xxLF 1/2” – 11/4“: |
| High-quality synthetic material | |||
| F74CS-xxLF 1 1/2” – 2″: | |||
| Lead-free brass | |||
| 2 | Rotatable connector piece, flange sealings, connecting nuts and fittings (F74CS only) | F74CS-xx/xxLF 1/2” – 11/4“: Dezincification-resistant brass (rotatable connection piece, tail pieces, connection nuts), unitec 300 (flange sealing) | |
| F74CS-xxLF 1/2” – 2″: | |||
| Lead-free brass (rotatable connection piece, tail pieces, connection nuts), unitec 300 (flange sealing) | |||
| 3 | Clear filter bowl | Shock-resistant, clear transparent synthetic material | |
| 4 | Fine filter | Stainless steel | |
| 5 | Ball valve with drain connection | Lead-free brass (Ball Valve body), Stainless steel (ball), Plastic-durethan (drain adapter) | |
| Not depicted components: | |||
| Memory ring | Plastic | ||
| Allen key | Stainless steel | ||
| F74CS-xx/xxLF 1/2” – 11/4“: | |||
| WS6 | |||
| F74CS-xxLF 1 1/2” – 2″: | |||
| WS8 | |||
| Wrench for filter bowl and spring bonnet | Plastic | ||
| Covers and reverse rinsing handle | Synthetic material filter mesh carrier, reverse rinsing handle and covers | ||
| Diaphragm | Fibre-reinforced NBR | ||
| Sealing washers | EPDM | ||
METHOD OF OPERATION
The filter insert comprises an upper part and a lower combination section. When in the „filtering“ position, the small upper filter is closed so that the water can only pass through the main filter from outside to inside. When the ball valve is opened for reverse rinsing, the filter is pushed downwards until the water supply to the outer side of the main filter is stopped. Simultaneously, the water flow is opened to the upper part of the filter. The water needed for cleaning the filter passes through the upper sieve, the rotating impeller and the main filter from inside to outside. By this means, the filter is fully cleaned over its whole surface area at the full inlet pressure. The filter automatically switches over to the operating position when the ball valve is closed again.
TRANSPORTATION AND STORAGE
Keep parts in their original packaging and unpack them shortly before use. The following parameters apply during transportation and storage:
| Parameter | Value |
| Environment: | clean, dry and dust free |
| Min. ambient temperature: | 5 °C |
| Max. ambient temperature: | 55 °C |
| Min. ambient relative humidity: | 25 % * |
| Max. ambient relative humidity: | 85 % * |
INSTALLATION GUIDELINES
Setup requirements
- The installation site has to be frost-proof and the protection of the device from chemicals, paints, detergents, solvents and their vapours and environmental influences must be guaranteed
- Install in horizontal or vertical pipework with filter bowl downwards
– This position ensures optimum filter efficiency - Install shut-off valves
- These filters are armatures which need to be maintained regularly
- Ensure good access
– Pressure gauge can be read off easily
– Degree of contamination can be easily seen with clear filter bowl
– Simplifies maintenance and inspection - It is recommended that a straight section of pipework at least five times the nominal valve size is provided after the filter (according to DIN EN 806-2)
- Fit immediately after water meter
- Related to the EN 806-2 it is recommended to install the filter immediately after the water meter
- In order to avoid flooding, it is recommended to arrange a permanent, professionally dimensioned wastewater connection
Installation Example
F74CS-xx/xxLF 1/2″ – 11/4″

F74CS-xxLF 11/2″ – 2″
TECHNICAL CHARACTERISTICS kvs-Values
| Connection sizes: | 15 | 20 | 25 | 32 | 40 | 50 |
| kvs-value (m3/h): | 5.3 | 7.9 | 9.0 | 10.0 | 16.0 | 20.0 |
Pressure drop characteristics

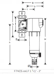
DIMENSIONS
Overview

| Parameter | Values | ||||||
| Connection sizes: | R | 1/2″ | 3/4″ | 1″ | 11/4″ | 11/2″ | 2″ |
| Nominal sizes: | DN | 15 | 20 | 25 | 32 | 40 | 50 |
| Weight: | kg | 2.1 | 2.1 | 2.3 | 2.6 | 9.273 | 10.121 |
| Dimensions: | H | 353 | 353 | 353 | 353 | 478 | 478 |
| h | 298 | 298 | 298 | 298 | 416 | 416 | |
| L | 150 | 158 | 179 | 197 | 246 | 267 | |
| I | 90 | 90 | 100 | 105 | 150 | 150 | |
| B | 178 | 178 | 178 | 182 | 216 | 216 | |
| b | 150 | 150 | 150 | 150 | 187 | 187 | |
| t | 92 | 92 | 92 | 96 | 130 | 130 | |
| ØT | 50 | 50 | 50 | 50 | 50 | 50 | |
| Flow value at ∆p=0.2 bar | m3/h | 2.4 | 3.4 | 3.9 | 4.4 | 7.2 | 8.9 |
| Flow value at ∆p=0.5 bar: | m3/h | 3.8 | 5.5 | 6.2 | 7.0 | 11.5 | 14.1 |
| DVGW registration number: | NW-9301 CL 0456 | ||||||
Note: All dimensions in mm unless stated otherwise
ORDERING INFORMATION
The following tables contain all the information you need to make an order of an item of your choice. When ordering, please always state the type, the ordering or the part number.
Options
The filter is available in the following sizes: 1/2″, 3/4″,1 1/2″, 11/4″, 1 1/2″, 1″ and 2″.
- standard
– not available
for connection sizes 1/2″ – 1 1/4″
| F74CS-…AA | F74CS-AC | F74CS-…AD | FN74CS-1A | ||
| Connection type: | With rotatable connector piece, filter mesh size 100 μm | • | – | – | – |
| With rotatable connector piece, filter mesh size 50 μm | – | • | – | – | |
| With rotatable connector piece, filter mesh size 200 μm | – | – | • | – | |
| Retrofit version without rotatable connector piece, filter mesh size 100 μm | – | – | – | • |
for connection sizes 1/2″ – 2″
| F74CS-…LFAA | FN74CS-1LFA | FN74CS-2LFA | ||
| Connection type: | With rotatable connector piece, filter mesh size 95/110 μm, lead-free materials | • | – | – |
| Retrofit version without rotatable connector piece, filter mesh size 95/110 μm, lead-free materials (for DA74CS- xxLFA rotatable connections 1/2″ – 1 1/4″) | – | • | – | |
| Retrofit version without rotatable connector piece, filter mesh size 95/110 μm, lead-free materials (for DA74CS- xxLFA rotatable connections 1 1/2″ – 2″) | – | – | • |
Note: … = space holder for connection size
Note: Ordering number example for 2″ and type LFAA valve: F74CS-2LFAA
Accessories
| Description | Dimension | Part No. | ||
![]() | DA74 | Rotatable connector piece For connection of retrofit filters and filter combinations | ||
| 1/2″ | DA74CS-1/2A | |||
| 3/4″ | DA74C-3/4A | |||
| 1″ | DA74C-1A | |||
| 11/4″ | DA74C-11/4A | |||
| lead-free | 1/2″ | DA74CS-1/2LFA | ||
| lead-free | 3/4″ | DA74CS-3/4LFA | ||
| lead-free | 1″ | DA74CS-1LFA | ||
| lead-free | 11/4″ | DA74CS-11/4LFA | ||
| lead-free | 11/2″ | DA74CS-11/2LFA | ||
| lead-free | 2″ | DA74CS-2LFA | ||
| lead-free, no connection parts | 1/2″ – 3/4″ | DA74CS-1/2LFE | ||
| lead-free, no connection parts | 1″ | DA74CS-1LFE | ||
| lead-free, no connection parts | 11/4″ | DA74CS-11/4LFE | ||
| lead-free, no connection parts | 11/2″ – 2″ | DA74CS-2LFE | ||
![]() | ZR74CS | Double ring wrench for removing the filter bowl | ||
| 1/2″ + 11/4″ | ZR74CS | |||
![]() | ZR10K | Double ring wrench for removing the filter bowl | ||
| 11/2″ + 2″ | ZR10K-11/2 | |||
![]() | Z74S-AN for 1/2” – 11/4“ | Automatic reverse rinsing actuator For automatic filter cleaning at presettable intervals | ||
| Z74S-AN | ||||
![]() | Z11S | Automatic reverse rinsing actuator For automatic filter cleaning at presettable intervals | ||
| 230 V, 50/60 Hz, 10 with moulded Schuko electrical plug | Z11S-A | |||
| 24 V, 50/60 Hz, 10 without electrical plug | Z11S-B | |||
| D06FR | Retrofit pressure reducing valve insert set For retrofitting to upgrade to a filter combination | ||
| 1/2″ + 11/4″ | D06FR-1A | |||
Spare Parts
F74CS/FN74CS Fine filters from 2010/2020 (lead-free) onwards
| Overview | Description | Dimension | Part No. |




























