ULINE Cable Seals Installation Guide
INSTALLATION
- Be sure doors are properly closed and keeper bar handles are properly latched.

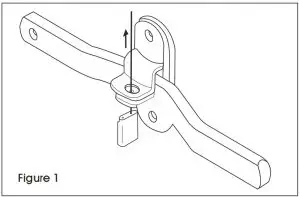
- Grasp cable seal by the case with the long end pointing up.

- Insert long end of cable through (See Figure 1)

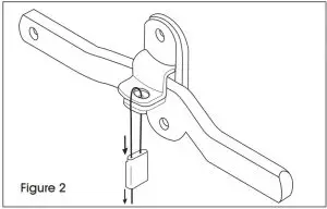
- While grasping case with one hand, feed long end of cable down through opening in the locking device with other hand until a substantial length of cable (See Figure 2)
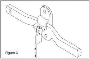
- Grasp the cable with one hand and case with the Pull on cable tightly to minimize loop in cable. (See Figure 3)
- NOTE: A slight twist of cable could be required if cable catches exit hole.
- NOTE: For maximum security, the cable must be pulled through case as far as possible to minimize loop. Body must be tugged downward with a minimum of 10 pounds of force to set seal.
- NOTE: To remove, cut staked side.






















