ULINE Light Duty Guard Rails Installation Guide

Installation
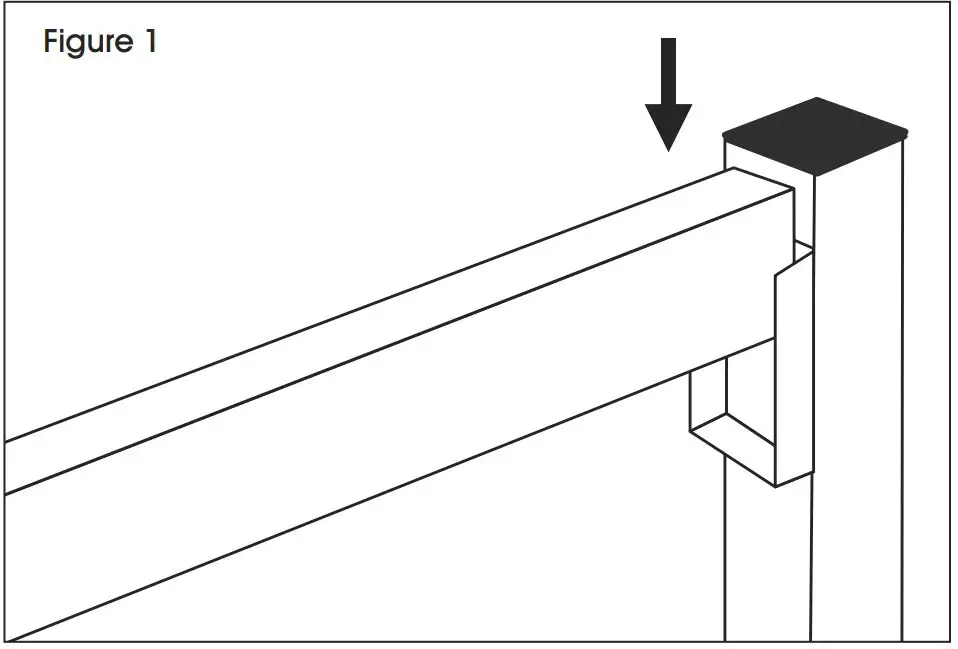
Note: Rails Should be inserted into post pockets before anchoring to ground.

- Position posts in the approximate location required.
- insert all rails into posts pockets.(see figure 1)
- Verify the posts are positioned in the desired location. Mark the floor where holes will be drilled.
Caution! Wear eye protection when completing step 4

4. Using a 3/8″ diameter masonry drill bit, drill a hole approximately 3″ deep into the floor. (see Figure 2)
Note: For the anchor to function properly, the hole must not be larger in diameter than the anchor bolt.
5. Clean out debris and dust from inside the hole. Fully insert the anchor bolt through the mounting plate and into the hole.
6. slightly tap down the anchor bolt with a hammer if needed. Slide washer onto anchor bolt. Using 17mm wrench, tighten the hex nut until the anchor bolt is secure.
7. Repeat for remaining anchors.


















