ULINE Foot Operated Impluse Sealers

PARTS

ASSEMBLY
- Insert standing tube into pedal base and connect with short bolt. (See Figure 1)

- With four long bolts, lock washers and nuts, connect body to standing tube. (See Figure 2)

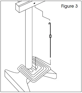
- Attach tension rod to puller located under base. Attach to foot pedal. (See Figure 3)

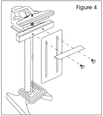
- Connect working plate fixed bracket to body. Attach operating board to bracket using two short bolts, four flat washers and two wing nuts. (See Figures 4-5)
NOTE: When attaching working plate bracket, leave enough space between body and top of bolts operating board can be attached easily.

OPERATION
- Plug in the sealer. Set the power switch to “on”.
- Adjust the timer to the minimum setting necessary for poly bag thickness.
- Insert poly bag between pressing lips. Press the foot pedal to begin sealing. (See Figure 6)
- When the light turns off, sealing is complete. Wait one to two seconds to allow the seal to cool, then release the foot pedal.
NOTE:
- Timer automatically controls sealing time.
- It is normal to leave the unit plugged in and turned on between seals. Power is only used during sealing.

SPECIFICATIONS
| MODEL | H-86 | H-87 | H-89 |
| Impulse Power | 520 W | 380 W | 454 W |
| Seal Width | 2 mm | 2 mm | 2 mm |
| Max. Seal Length | 24″ | 12″ | 18″ |
| Max. Seal Thickness | 16 Mil | 16 Mil | 16 Mil |
| Heat Time | ~0.2–1.7 sec. | ~0.2–1.7 sec. | ~0.2–1.7 sec. |
| Weight | 75 lbs. | 51 lbs. | 62 lbs. |
| Dimensions | 27.75 x 15.75 x 35.5″ | 15 x 13.75 x 35.5″ | 21.25 x 15 x 35.5″ |
REPLACEMENT PARTS
| MODEL | H-86 | H-87 | H-89 |
| REPAIR KIT | H-204 | H-173 | H-174 |
REPLACING TEFLON ROLL
- Turn off power and unplug sealer.
- Remove pressing plate and loosen teflon clips.(See Figure 7)

- Cut off a new section of teflon tape. Replace pressing plate and tape.
- Adjust teflon screw to tighten teflon roll. (See Figure 8)
- Tighten teflon clips.

REPLACING HEATING ELEMENT
- Turn off power and unplug sealer. Release teflon clips.
- Remove screws to release heating element.
- Remove old heating element and replace with the new one.
- Reattach and tighten the teflon tape.
ADDITIONAL INFORMATION
- Always keep the sealing platform clean. Remove any residue (typically overheated plastic) from the teflon barrier tape.
- Clean the sealing platform with a dry cloth. Do not use water or solvents.
- A short circuit will occur if the bottom teflon tape strip wears out. Each time you replace the heating element or the top teflon tape, check the bottom teflon tape for wear or damage.
- Only use Uline replacement parts.
- A worn rubber pressure pad (under the handle) will influence the quality of the seal. The rubber pad should be periodically checked for uneven wear.
- Potential risks of fire, electric shock, or injury to persons are capable of occurring due to use of the product. User is cautioned to place the product so it is not likely that the product will be overturned.
- Eliminate the potential risks of electric shock during the replacement of a lamp or cleaning of the product by disconnecting the power supply cord.
- Close supervision is required when this product is used near children.
























