GEM GK450/480 Series Electric Strikes Instruction Manual
The GK450/480 series ANSI electric strike is designed for use with cylindrical locksets and mortises locksets without a deadbolt and can be installed in metal and wood door frames. It includes an optional latch monitor and is field reversible for fail-safe or fail-secure operation. The GK485 features 1/8″ (3mm) horizontal strike adjustment to accommodate different installations.
Standard Features
- Non-handed fully reversible
- Field reversible fail-safe or fail-secure
- Static strength 1,500 lbs (680Kg)
- Dynamic strength 70 ft-lbs
- Endurance 100,000 cycles UL tested, 1,000,000 cycles factory tested
- Brushed stainless steel (US32D) finish
Optional Feature
- Latch monitor
Latch monitor
- UL 1034 burglary resistant listed : BP10269
- UL 294 Access Control System listed: BP10269
Changing Fail-Safe / Fail-Secure
Fail-safe or fail-secure is field reversible by reversing the round screw.
Fail-secure when “2” facing up.
Fail-safe when “1” facing up.
| Models | Voltage (VDC) | Current Draw | Latch Throw | Optional Latch Monitor | Reversible Fail-Safe Or Fail-Secure | Frame | Body Construction |
| GK450 SECURITYGK450-ST R | 12, 24, ordual 12/24 | 250mA/12VDC or 150mA/24VDC300mA/12VDC, 150mA/24VDC | 9/16”(15mm) | Hollow Metal | Zinc alloy Stainless steel | ||
| GK451 SECURITYGK451-ST R | 12, 24, ordual 12/24 | 250mA/12VDC or 150mA/24VDC300mA/12VDC, 150mA/24VDC | 9/16”(15mm) | Wood | Zinc alloyStainless steel | ||
| GK480 SECURITYGK480-ST R | 12, 24, ordual 12/24 | 250mA/12VDC or 150mA/24VDC300mA/12VDC, 150mA/24VDC | 3/4”(19mm) | Hollow Metal | Zinc alloyStainless steel | ||
| GK481 SECURITYGK481-ST R | 12, 24, ordual 12/24 | 250mA/12VDC or 150mA/24VDC300mA/12VDC, 150mA/24VDC | 3/4”(19mm) | Wood | Zinc alloyStainless steel | ||
| GK485 | Dual 12/24 | 300mA/12VDC, 150mA/24VDC | 3/4”(19mm) | Hollow Metal | Zinc alloy |
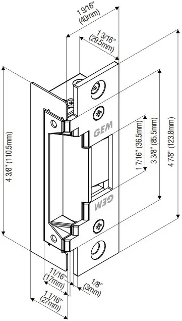
Dimensions
- GK450/480

- GK451/481

- GK485

Strike Adjustment (For GK485M Only)
Adjust strike easily on site by loosening screws and shifting the lip bracket along with the keeper to the proper horizontal position.

Lockset Application
(Note: Lockset is Not sold with electric strike model.)
| Electric Strike Models | Locksets |
| GK450, GK480,GK451, GK481,GK485, GK486 | CylindricalLockset with center lined latchbolt ![]() |
Accessories
Lip Extensions (Option)
Lip extensions are available to meet the needs of a particular jamb width.
Trim Plate
Trim plate is used to cover any imperfections caused while prepping the frame cut out.
Warranty
The proudct is warranted against defects in material and workmanship while used in normal service for a period of 3 years from the date of sale to the original client. The GEM policy is one of continual development and improvement; therefore GEM reserves the right to change specifications without notice.
Tel: +886-2-2267-7986
Fax: +886-2-2267-9876
Web: www.gianni.com.tw
Email: [email protected]





















