SDC 45F Series Electric Strikes Instruction Manual
INSTALLATION INSTRUCTIONS
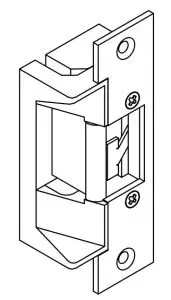
45F SERIES ELECTRIC STRIKES

MODEL
45F-4SU – 4.875″ (124mm) Square corners for hollow metal frames.
OPERATION
Fail-Secure (Power-to-Unlock): Unlocked when energized. Locked when de-energized and during power failure.
Application: For non fire rated and fire rated doors (exception, may not be used on stairwell doors). May not be maintained in the unlocked (energized) state when used with fire rated doors.
Fail-Safe (Power-to-Lock): Locked when energized. Unlocked when de-energized and during power failure.
Application: Non-Fire rated doors only.
CAUTION: Fail-safe is not permitted with the UL Fire Door Accessory label.
FEATURES
- For 9/16” latch or 3/4” latch with 1/8” door gap.
- Latch Bolt Monitor (Standard).
- Deadlocked Monitor (Standard).
- Keeper Monitor (Optional).
- Field selectable failsafe / failsecure.
- Field selectable voltage, 12/24V AC/DC
- AC with Rectifier (BR64XL)
- 1/4” horizontal alignment adjustment.
- Plug-in wire connectors.
- Low profile, 1-3/16” deep.
- All stainless steel parts with durable die cast body for corrosion resistance.
- Fewer moving parts for maximum life.
- 630 stainless steel standard.
- UL Listed 1034 Burglary Resistant.
- UL 10C, 3 Hr Fire Rated (Fail-Secure only).
- U.S. Patent #7,540,542 B2
Failsecure standard.
Field adjustable from Failsecure to Failsafe as shown.


Typical Hollow Metal Frame

Monitoring Outputs
- Latch Status: Monitors position of latch.
- Deadlocked Status: Monitors the locked status when the keeper is closed.
- Keeper Status: Monitors the open/close position of keeper.

Shown when Latch is extended
Shown when keeper is closed
Notes
The electric door strike shall be installed in such a way as not to impair the operation of an emergency exit or panic hardware mounted on the door.
Wire leads must not be connected to conductors larger than18AWG
Keeper Status is an optional monitor output
Electrical Data
Dual Voltage:
- 200/100mA @ 12/24VDC
- 140/70mA @ 12/24VAC
Latch Status:
- SPDT, Dry 3A & 30V
Deadlock Status:
- SPDT, Dry 3A @ 30V
Keeper Status:
- SPDT, Dry 3A @ 30V

Horizontal Adjustment
Remove Faceplate. Loosen Horizontal Adjustment Screws and slide Die Cast Body out as needed. Refasten the Adjustment Screws and replace Faceplate.

HOLLOW METAL, SQUARE CORNER FACEPLATE

MATERIAL THICKNESS = .110
45F SERIES ELECTRIC STRIKE FRAME PREPARATION FOR HOLLOW METAL FRAMES



















