GK360 Series Electric Strike
Instruction Manual
GK360 Series Electric Strike
The GK360/361 series electric strikes are designed to accommodate cylindrical locksets with up to 3/4” (19mm) latch throw.
The strikes can be configured to fail-safe or fail-secure on site.
Specifications
| Operating Voltage | 12/24VDC |
| Current Draw | 300mA/12VDC, 150mA/24VDC |
| Operating Temperature | 32°F to 120°F (0°C to 49°C) |
| Humidity | 0% to 85% Non-condensing |
| Latch Throw | 3/4″(19mm) (5/8″(16mm) strike depth, 1/8″(3mm) door gap) |
| Keeper Width | 1 6/17″ (36mm) |
| Static Strength | 1500 lbs (680Kg) (UL Witness test: 2000Ibs) |
| Dynamic Strength | 70 ft-lbs |
| Endurance | 250,000 cycles (UL tested) 1,000,000 cycles (Factory tested) |
| Performance Level | Destructive Attack: Level I Line Security: Level I Standby Power: Level I Endurance: Level IV |
| Model | Latch Monitor | Body Construction |
| GK360-1224 | _ | Zinc Alloy |
| GK360-ST-1224 | _ | Stainless Steel |
| GK360M-1224 | • | Zinc Alloy |
| GK360M-ST-1224 | • | Stainless Steel |
| GK361-1224 | _ | Zinc Alloy |
| GK361-ST-1224 | _ | Stainless Steel |
| GK361M-1224 | • | Zinc Alloy |
| GK361M-ST-1224 | • | Stainless Steel |
Note:
For GK360-ST-1224,GK361-ST-1224,GK360M-ST-1224,GK361M-ST-1224, remove the “Listed Fire Rated Hardware” label if the strike is used in the fail safe operation. Using the above-mentioned strikes in Fail Safe operation negates the fire rating.
UL Requirements
For indoor use only.
Wiring methods shall be in accordance with NFPA70.
The GK360 series is intended to be used with UL Listed
Exit Hardware.
The GK360 series shall not impair the intended operation of an emergency exit.
The GK360 series shall not impair the operation of panic hardware mounted on the door.
Fail-Safe / Fail-Secure Reversible
Change screw position at fail-safe /fail-secure hole to the desired setting.
Frame Application


Compatible Locksets
Installation Instructions
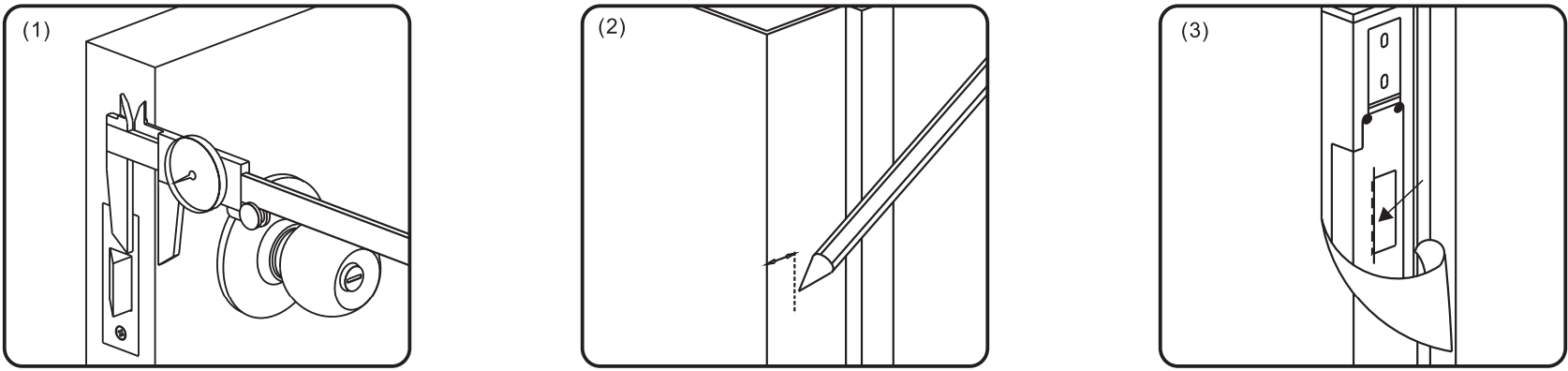
![]() | ||
| Measure latch position | Mark latch position line | Attach sticker template to marked centerline |
![]() | ||
| Cut hole using template | Install the mounting tabs | Connect the wires using the crimp connectors, then test the strike, ensure to give it correct voltage. |
Caution
Proper gap must be reserved between the strike keeper and latch bolt to prevent failure of solenoid valve.
Connecting Diagram

Using the Trim Plate
In case of over-cutting, use the enclosed trim plate to cover up any errors.
12/24 VDC Plug-In Wiring
For 12VDC Operation:
For 24VDC Operation:
Optional Brackets
Lip extension brackets are available for wider jambs.
Installing the Crimp Connectors:
Crimp connectors are provided to make wiring connections easier and more reliable. To install the connectors: 
- Insert the wires into the connector.
- Use a crimping tool or pliers to evenly press down on the head of the connector.
Copyright © All rights reserved.
P-MU-GK360-N Published: 2022.05.27
Frame Application



















