8350 Electric Puncher
Operation Manual
TOOLOTS 8350 Electric Puncher
As the product is improved continually, the specifications are subject to change without notice.
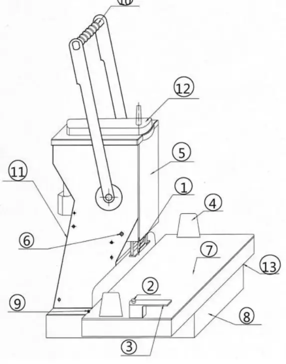
Main Operating Parts
- Drill
- Button for adjusting the distance between holes
- Moving handle for adjusting the distance between holes
- Paper guide
- Front cover
- Setscrew of front cover
- Working table
- Waste paper box
- Button for adjusting the edge distance
- Punching handle
- Power switch
- Cover of driving belt
- Programming rod of hole distance

Operation Procedures
- Install the drill: insert the 5mm drill1 into the hole of rotation axis, then tighten with Allen wrench.
- Put the paper: put the paper on the working table7, move the left and right paper guides4, clear up the paper.
- Choose the distance between holes: turn the programming rod of hole distance13, choose the hole distance needed, the side with the data of hole distance is upward. The programming rod has 6 sides. One side of 6 sides is not with anything, which means that we can set the hole distance optionally. For the other 5 sides, such as one side with 4H70, which means that we can punch 4 holes and the distance between holes is 70mm.
- Adjust the edge distance: loosen the button for adjusting the edge distance 9, set the edge distance, then tighten the button9.
- Adjust the distance between holes: hold the moving handle for adjusting the distance between holes3, meanwhile press the button for adjusting the distance between holes2, move the working table.
- Switch on the machine and punch: press the switch11, then quickly press the punching handle10 to finish punching at a speed of 3 seconds for 5mm paper.
- Clear scraps of paper: empty waste paper box8 before the box will be full.
Notice:
The operator does not punch too slowly or spend too long time on punching, otherwise the drill will generate heat and block. If the drill blocks, please immediately turn off the power and take down the drill.
After emptying scraps of paper in the drill, install the drill.
Specifications
| Max. Punching Thickness | 50mm (500 sheets of 70gsm) |
| Punching Diameter | 5mm, 5.5mm, 6mm, 7mm |
| Distance between holes and edge | 3mm—30mm |
| Working Platform | 460×255mm |
| Power Supply | 110/220V 60/50Hz 120W |
| Packing Size | 580×345×575mm |
| Machine Weight | 29KG |
















