CAL-ROYAL ES1520 Grade 1 No-Cut Electric Strike

Specifications
The strike is polarity insensitive. The ES1520 Series of electric strikes are designed for use with cylindrical locksets and accommodate latch bolts up to a 9/16″ throw. The strikes can be configured to fail-safe or fail-secure on site.

UL Requirements
- For Indoor Use Only.
- Wiring methods shall be in accordance with NFPA70.
- The ES1520 Series is intended to be used with UL Listed Exit Hardware.
- The ES1520 Series shall not impair the intended operation of an emergency exit.
- The ES1520 Series shall not impair the operation of panic hardware mounted on the door.

Wiring Diagrams
Dual Voltage {12V/24V)
For 12V DC Operation:
For 24V DC Operation:
- N.C. for “Fail-Safe” Operation
- N.O. for “Fail-Secure” Operation
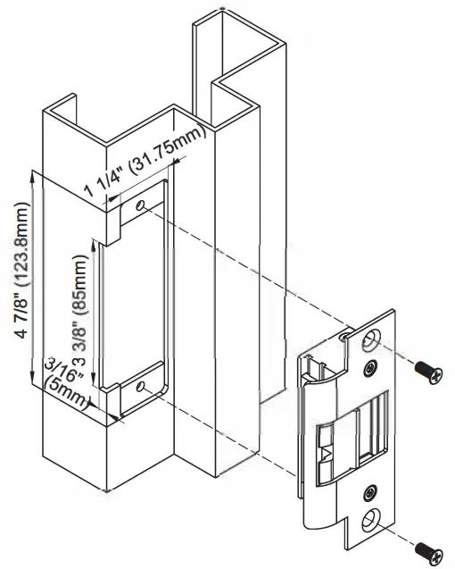
Installation on Hollow Metal Frame

Fail-Safe/ Fail-Secure Reversible

- Remove the plug and take out the round screw.
- Reverse the round screw.
- Put back the round screw and plug.
The factory default setting is Fail-Secure.
Installing the Crimp Connectors

Place the wire inside the connector and use pliers to press down on the head of the connector evenly.
Installation Steps

- Measure the vertical and horizontal position of the latch bolt on the door leaf.
- Mark the position of the latch bolt on the door jamb as shown in the figure.
- Align the installation template to the marked line.
- Drill and cut the frame according to the template.
- Install the mounting tabs.
- Connect to the power and test the electric strike before finally mounting the unit.
Note:
Please ensure that there is no back pressure on the keeper from the latch. As with most strikes, this may cause the strike to bind and malfunction. It could also cause undo pressure on the solenoid and eventual failure of the strike.


















