Knightsbridge SPIKEGUBK GU10 Garden Spike Light Black

GENERAL INSTRUCTIONS
These instructions should be read carefully and retained after installation by the end user for future reference and maintenance. These instructions should be used to aid installation of the following product: SPIKEGUBK
SAFETY
- This product must be installed in accordance with the latest edition of the IEE Wiring Regulations (BS7671) and current Building Regulations. If in any doubt, consult a qualified electrician
- Please isolate mains prior to installation or maintenance
- Check the total load on the circuit (including when this luminaire is fitted) does not exceed the rating of the circuit cable, fuse or circuit breaker
- Please note the IP (Ingress Protection) rating of this luminaire when deciding the location for installation
- This product is Class I and must be earthed
- This product is IP65 rated
INSTALLATION
- Provide power to the required point of installation (refer to BS7671 for correct cabling methods). Suitable IP rated junction boxes should be used where required
- The power source connections should be local and accessible via a suitable IP rated enclosure
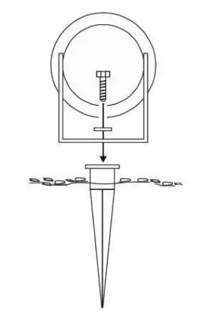
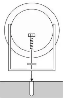
- Choose a position for the luminaire ensuring that the ground is suitable to firmly hold the spike and luminaire in position. Check that the ground is not liable to flooding and the spike does not infringe with any underground pipes or cables

- The body of the product should not rest directly on the ground
- The pre-installed cable supplied is for above-ground use only. Cables that are to be routed within walls or below ground must be protected by means of suitable conduit or trunking,

- For wall mounting, using the bracket as a template, mark the location for, and drill the fixing holes ensuring not to infringe with any gas / water pipes or electrical cables

- Connect the luminaire to the mains supply ensuring correct polarity is observed: Live (Brown), Earth (Green/ Yellow), Neutral (Blue)
- Unscrew the bezel by turning anti-clockwise
- Insert a suitable GU10 lamp (max. 35W) into the lamp holder. Align the pins and turn 45° clockwise to secure the lamp (a suction cup is provided to aid insertion/removal of the lamp where required)Replace the bezel ensuring the gasket is not damaged, and tightened to form a weatherproof seal
- Switch on and check for correct operation
WARNING: This product is not suitable for installation in or near a coastal or marine environment.
GENERAL
This product should be recycled in the correct manner when it reaches the end of its life. Check local authorities for where facilities exist. Clean with a soft dry cloth only, do not use aggressive cleaning products or solvents which may damage the product. Do not use any source of high-pressure washers to maintain or clean this luminaire. This product is dimmable dependent on lamp type.
WARRANTY
This product has a warranty of 2 years from the date of purchase. Failure to install this product in accordance with the current edition of the IEE Wiring Regulations (BS7671), improper use, or removal of the batch code will invalidate the warranty. If this product should fail within its warranty period, it should be returned to the place of purchase for a free of charge replacement. ML Accessories does not accept responsibility for any installation costs associated with the replacement product. Your statutory rights are not affected. ML Accessories reserve the right to alter product specification without prior notice.






















