phocos PSW-H Pure Sine Wave Hybrid Inverter

Introduction
This guide outlines the recommended settings and establishing communication for operation of one or more Any-Grid™ PSW-H-5kW-230/48V, PSW-H-5kW-120/48V, PSW-H-6.5kW-120/48V or PSW-H-8kW-230/48V hybrid inverter chargers with Leoch LFeLi-48100TB, LFeLi-48150TB & LFeLi-48100S battery modules in the low-voltage (48 Vdc
nominal) configuration, referred to in this guide as “battery modules”. Note that the charge/discharge settings are automatically negotiated with the battery if this guide is used and cannot be changed. If you wish to manually set these settings, then a communication cable between the PSW-H and batteries is not needed and the battery type in settings menu 05 of the PSW-H must be set to “User defined” (USE). In this case it is your responsibility to choose settings within the specifications of the battery to preserve the battery warranty. The Any-Grid must be installed according to the Any-Grid “User and Installation Manual” included with every Any-Grid unit and available online at www.phocos.com. The battery terminals of the Any-Grid must be connected to the batteries according to the Leoch installation manual at the appropriate step mentioned in the chapter “5.0 Battery Settings and Communication Cable Installation” of this manual.
WARNING: Be sure to read and respect the warnings in the installation manuals of the Any-Grid, the battery modules and any other connected equipment. The installation must be conducted by a trained professional.
Requirements
The following is required to proceed with this guide:
- Any-Grid PSW-H-5KW-230/48V, PSW-H-5KW-120/48V, PSW-H-6.5KW-120/48V or PSW-H-8kW-230/48V Note: the minimum display unit firmware version U2 must be 06.18 or later, with the corresponding U1 firmware for your Any-Grid PSW-H.
LFeLi-48100TB, LFeLi-48150TB models: - Battery communication cable: PSW-H-BAT-CABLE-PYLON-2 (compatible with all listed batteries). This cable can be purchased separately from your Phocos dealer.

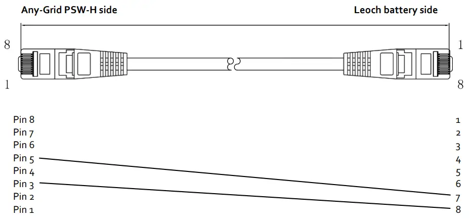
If it is not possible to obtain the cable from your dealer, the PSW-H-BAT-CABLE-PYLON-2 is made of two male RJ45 plugs with only the following pins connected :
- Any-Grid PSW-H side
- Leoch battery side
Make sure the cable is correctly oriented between the battery and PSW-H unit when installing below.
WARNING: Do not use the inverter cable included with you Leoch batteries. Wiring your own cable according to the pinout above must be done at your own risk. Any damage to the PSW-H or battery due to incorrect wiring, cable orientation or use of an incorrect cable is not covered by any warranty.
LFeLi-48100S model
Battery communication cable: This cable is supplied with the battery, however it requires the battery side terminal block to be connected as shown below.
- Any-Grid PSW-H side
- Leoch battery side (48100S)
Make sure the cable is correctly oriented between the battery and PSW-H unit when installing below.
WARNING: Do not use the inverter cable included with you Leoch batteries. Wiring your own cable according to the pinout above must be done at your own risk. Any damage to the PSW-H or battery due to incorrect wiring, cable orientation or use of an incorrect cable is not covered by any warranty.
- One of the battery module(s) defined in “1.0 Introduction” of this manual.
System Overview

Battery Sizing
To maintain the full battery warranty, each battery module should be sized not to exceed 100 Adc continuous current (verify Leoch manual for details). It is thus recommended to use at least 2 battery modules in parallel to deliver both sufficient continuous current and peak current for a single PSW-H-5KW at full power. When using multiple Any-Grid units, be sure to increase the number of batteries accordingly to sustain the required currents. Using too few batteries per inverter may void your Leoch battery warranty.
The batteries must be wired in parallel to form a single large battery bank when using multiple Any-Grids, with a nominal voltage of 48 Vdc. All Any-Grids must be connected to a single battery array.
Battery Settings and Communication Cable Installation
CAUTION: Before connecting the battery modules to the Any-Grid(s), please follow the installation instructions in this chapter step by step. The battery, AC input source, AC output loads and PV input must remain disconnected until instructed otherwise.
Any battery-related settings made will be over-written if the communication cable is used. If you wish to manually use settings at your own risk, then do not use the communication cable.
- Make the battery communication cable as described in chapter 2. This cable is designed specifically for connecting the Any-Grid PSW-H to Leoch batteries.
- Ensure the battery modules are all turned off.
- Set the battery DIP switches as described in the battery manual, depending on the number and arrangement of batteries used.
- Ensure the battery modules are still turned off. Connect the Any-Grid(s) to the battery power (positive and negative) terminals with the correct polarity.
CAUTION: If the correct polarity of the battery is not observed, the Any-Grid and the battery may be damaged, this is not covered by warranty.
LFeLi-48100TB, LFeLi-48150TB models:
Connect the battery communication cable mentioned in chapter 2 to the master battery’s RS-485A port and the other end to the Any-Grid’s BMS port. Take care to connect the correct cable ends to the battery and Any-Grid:
LFeLi-48100S model:
Connect the battery communication cable mentioned in chapter 2 to the master battery’s RS-485A port and the other end to the Any-Grid’s BMS port. Take care to connect the correct cable ends to the battery and Any-Grid:
- Ensure the battery modules are wired as outlined in the Leoch battery manual. Turn on the batteries, ensuring that pre-charge is used to avoid a sudden inrush of current from the battery modules to the inverter(s).
- Ensure the “ON/OFF” load power button of the Any-Grid(s) is in the ON position (depressed), but no loads are connected:

- The Any-Grid(s) should now be running, the display(s) on.
- Apply the following setting on the Any-Grid to which the Leoch battery bank is connected with the communication cable. This setting refers to the Any-Grid manual, chapter Operation → Device Operation Settings → Settings menus.
- Battery type
Menu 05: User-defined battery (“USE”)
- Maximum total battery charging current
Menu 02: 80A or 0.5 x total battery bank capacity (which ever value is lower) - Voltage set-point to switch from Off-Grid mode to Grid mode when “SBU priority” or “Solar / PV first” is selected in settings menu 01
Menu 12: 47 Vdc or higher - Voltage set-point to switch from Grid mode to Off-Grid mode when selecting “SBU priority” or “Solar / PV first” in settings menu 01
Menu 13: 52 Vdc or lower - Boost battery charging voltage
Menu 26: 52.7 Vdc - Floating battery charging voltage
Menu 27: 51.5 Vdc - Low voltage disconnect
Menu 29: 46.0 Vdc - Boost battery charging duration
Menu 32: 120 min - Battery equalization
Menu 33: Disabled - Maximum discharging current
Menu 41: Disabled
- Battery type
- Once the settings have been applied, exit the settings menu by pressing
to return to the main view. - Activate the circuit breakers or insert the fuses to energize the various inputs and outputs on the Any-Grid in the following order (skip any that are not connected):
- a) AC input
- b) PV input
- c) AC output
- If you are using more than one Any-Grid, this procedure ensures that the unit to which the Leoch battery is connected, will communicate with the Leoch battery BMS. Automatically, the battery type of all other connected Any-Grid units will be set to “User-defined”, this is normal.
The commissioning and programming of the battery-related settings of the Any-Grid is now complete.
The content of this document is subject to change without notice. Copyright © 2022 Phocos AG, all rights reserved.
Version: 20220225 Phocos AG Magirus-Deutz-Str. 12 89077 Ulm, Germany
Phone: +49 731 9380688-0
Fax: +49 731 9380688-50
www.phocos.com
[email protected]






















