Bayport 36 Direct Vent Fireplace
Please leave these reference guides at the installation location until the installation is finished. See owners manual for full installation and finishing instructions before making final decisions as information is subject to change.
Specifications
(all measurements are in inches)
- GAS LINE OPENING: RIGHT SIDE
- ELECTRICAL ACCESS: LEFT SIDE
| Model | BTU | Height | Front Width | Back Width | Depth | Glass Viewing Area | ||||
| Actual | Framing | Actual | Framing | Actual | Framing | Actual | Framing | |||
| BAY‐36 (all versions) | 26,500 | 32 | 42 | 35‐3/4 | 36‐1/4 | 18‐7/8 | 36‐1/4 | 15‐13/16 | 15‐7/8 | 29‐1/4 x 23‐3/4 |
Framing Opening

Finishing Clearances

Finish Trim Kit
Important! If you are finishing around the fireplace with le or stone make sure that you install the Finishing Trim Kit at the framing stage.
The trim kit allows for your finishing board and your le/stone to finish up against, creating a shadowbox for the face to sit inside.
Do not use with RSF fronts, all other fronts apply.
Mantel Clearances
NOTE: The clearances allowed here are ONLY for Safety Screen Fronts with part numbers that include the number 2 ( Example: #B36‐PSF2 )
Clearances outlined in this drawing are for installations with screen front #B36‐RSF2 ONLY 
| Dimension | BAY‐36 |
| O | 32 |
| P | 1‐1/2 |
| Q | 3/4 |
| R | 5 |
| S | 7 |
| T | 9 |
NON‐COMBUSTIBLE ZONE
All other screen front installations must follow the clearances outlined here
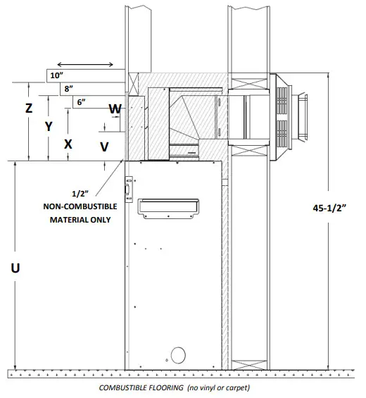
| Dimension | BAY‐36 |
| U | 32 |
| V | 4‐1/2 |
| W | 3/4 |
| X | 8 |
| Y | 10 |
| Z | 12 |
Horizontal Termination Framing

Horizontal Venting Minimum Requirements
H = Horizontal
V = Vertical
Note specific gas type minimums 
| TOP VENTING | LOG MODEL |
| Requirement | BAY‐36‐L |
| (NG/LP) Vertical Min | 90o Elbow |
| (NG/LP) Horizontal Min | 6 |
| (NG/LP) Horizontal Max | 8 ft. |

| TOP VENTING | GLASS MODEL |
| Requirement | BAY‐36‐G |
| (NG/LP) Vertical Min | 6 + 90o Elbow |
| (NG/LP) Horizontal Min | 6 |
| (NG/LP) Horizontal Max | 8 ft. |

| REAR VENTING | BOTH MODELS |
| Requirement | BAY‐36‐L/G |
| (NG) Horizontal Min | 6 |
| (NG) Horizontal Max | 48 |
| (LP) Horizontal Min | 6 |
| (LP) Horizontal Max | 12 |
Consult venting chart in the manual for all options above minimum requirements
Heat Shield Requirements
The vertical vent heat shield must be installed for EVERY type of venting applica on.
The horizontal vent heat shield must be installed when incorporating minimum horizontal venting and is positioned according to the gas type.



















