KOZY HEAT Carlton Series Direct Vent Fireplaces
Introduction
Please leave these reference guides at the installation location until the installation is finished. See owners manual for full installation and finishing instructions before making final decisions as information is subject to change.
Specifications (all measurements are in inches)
| Model | BTU | Height | Front Width | Back Width | Depth | Glass Viewing Area | ||||
| Actual | Framing | Actual | Framing | Actual | Framing | Actual | Framing | |||
| CAR‐39 | 40,000 (NG) 41,000 (LP) | 34‐1/2 | 44‐1/2 | 38‐3/4 | 39‐3/4 | 19‐15/16 | 39‐3/4 | 22 | 22‐1/2 | 28‐1/8 x 32‐7/16 |
| CAR‐46 | 45,000 | 36 | 46 | 45‐3/4 | 46‐1/4 | 22‐38 | 45‐3/4 | 21‐1/2 | 22 | 27‐1/2 x 39‐7/16 |
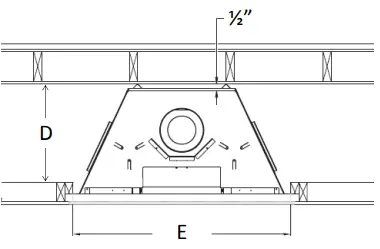
Framing Opening

| Dimension | CAR‐39 | CAR‐46 |
| A | 44‐1/2 | 46 |
| B | 39‐3/4 | 46‐1/2 |
| C | 22 | 21‐1/2 |


| Dimension | CAR‐39 | CAR‐46 |
| D | 22 | 21‐1/2 |
| E | 39‐1/4 | 46‐1/4 |
| F | 62‐5/8 | 64‐3/4 |
| G | 39‐3/4 | 46‐1/4 |
| H | 12‐9/16 | 13‐5/16 |
| I | 44‐5/16 | 45‐3/4 |
| J | 31‐5/16 | 32‐3/8 |
Finishing Clearances

| Dimension | CAR‐39 | CAR‐46 |
| K | 39-3/4 | 46‐1/2 |
| L | 10 | 10 |
Mantel Clearances

| Dimension | CAR‐39 | CAR‐46 | Dimension | CAR‐39 | CAR‐46 |
| M | 10 | 10 | O | 16 | 16 |
| N | 14 | 14 | P | 18 | 18 |
Finish Trim Kit
Important!
If you are finishing around the fireplace with tile or stone make sure that you install the Finishing Trim Kit at the framing stage.
The trim kit allows for your finishing board and your tile/stone to finish up against, creating a shadowbox for the face to sit inside.
Do not use with RSF fronts, all other fronts apply.
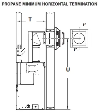
Horizontal Termination Framing

| Dimension | CAR‐39 (NG) | CAR‐46 (NG) |
| R | 22 | 21 |
| S | 46‐1/4 | 47‐3/4 |

| Dimension | CAR‐39 (LP) | CAR‐46 (LP) |
| T | 22 | 21 |
| U | 52‐1/4 | 53‐3/4 |

| Dimension | CAR‐39 (NG/LP) | CAR‐46 (NG/LP) |
| V | 22 | 21‐1/2 |
| W | 51‐1/8 | 52‐5/8 |
Horizontal Venting Minimum Requirements

Note specific model number and gas type minimums
| Requirement | CAR‐39 | CAR‐46 |
| (NG) Vertical Min | 9 + 90o Elbow | 9 + 90o Elbow |
| (NG) Horizontal Min | 6 | 6 |
| (NG) Horizontal Max | 10 ft. | 10 ft. |

Consult venting chart in manual for all options above minimum requirements
| Requirement | CAR‐39 | CAR‐46 |
| (LP) Vertical Min | 12 + 90o Elbow | 12 + 90o Elbow |
| (LP) Horizontal Min | 6 | 6 |
| (LP) Horizontal Max | 4 ft. | 4 ft. |

| CORNER VENTING | |
| Requirement | CAR‐46 (NG ONLY) |
| Vertical Min | 6 + 90o Elbow |
| Horizontal Min | 6 |
| Horizontal Max | CAP |

| CORNER VENTING | ||
| Requirement | CAR‐39 | CAR‐46 (LP ONLY) |
| (NG/LP) Vertical Min | 12 + 90o Elbow | 12 + 90o Elbow |
| (NG) Vertical Min | 12 + 90o Elbow | 12 + 90o Elbow |
| (LP) Horizontal Min | 6 | 6 |
| (LP) Horizontal Max | CAP | CAP |
Heat Shield Requirements
The vertical vent heat shield must be installed for EVERY type of venting application. The horizontal vent heat shield must be installed when incorporating minimum horizontal venting and is positioned according to the gas type.


















