Oakport 18 Direct Vent Free‐Standing Fireplace
Please leave these reference guides at the installation location until the installation is finished. See owners manual for full installation instructions before making final decisions as information is subject to change.
Specifications
(all measurements are in inches)
| Model | BTU | Height | Front Width | Back Width | Depth | Glass Viewing Area |
| OAK‐18 | 24,500 | 26‐3/4 | 22‐7/16 | 22‐7/16 | 16‐5/16 | 16‐3/8 x 10‐15/16 |
Horizontal Termination Framing

| A | B | C | D | E | F |
| 37‐1/4 | 3‐1/8 | 57‐1/4 | 13‐1/8 | 5 | 14‐1/2 |
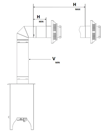
Horizontal Venting Minimum Requirements
H = Horizontal
V = Vertical

Consult venting chart in manual for op ons above minimum requirements
| Requirement | OAK‐18 |
| (NG) Vertical Min | 24 + 90o Elbow |
| (NG) Horizontal Min | 6 |
| (NG) Horizontal Max | 4 ft. |
Curing, & Homeowner Usage Tips
Wall Temperatures
Fireplace Curing
Continuous (IPI) vs Standing Pilot
Battery Backup Location



















