KOZY HEAT Callaway 50 Direct Vent Fireplace

Please leave these reference guides at the installation location until the installation is finished. See owners manual for full installation and finishing instructions before making final decisions as information is subject to change.
Specifications (all measurements are in inches)
• GAS LINE OPENING: LEFT SIDE • ELECTRICAL ACCESS: RIGHT SIDE+
| Model | BTU | Height | Front Width | Back Width | Depth | Glass Viewing Area | ||||
| Actual | Framing | Actual | Framing | Actual | Framing | Actual | Framing | |||
| CLW‐50 | 35,500 (NG) 35,000 (LP). | 39 | 44‐1/2 | 59‐1/2 | 64‐1/2 | 59‐1/2 | 64‐1/2 | 18‐15/16 | 22 | 49‐7/8 x 13‐3/8 |
Framing Opening
| Dimension | CLW‐50 |
| A | 44‐1/2 |
| B | 48 |
| C | 64‐1/2 |
| D | 22 |

| E | F | G | H | I | J | K | L | M |
| 22 | 64‐1/2 | 22 | 64‐1/2 | 106‐13/16 | 64‐1/2 | 25‐7/8 | 53‐7/16 | 75‐9/16 |

Finishing Clearances
| Dimension | CLW‐50 |
| N | 66 |
| O | 48‐3/4 |

Mantel Clearances
Dimension | |||||
| P | Q | R | S | T | U |
| 48 | 18 | 21‐1/2 | 27‐1/2 | 22 | 48 |

Horizontal Termination Framing
| Dimension | CLW‐50 |
| V | 22 |
| W | 34‐3/8 |
| X | 44‐3/4 |
| Y | 42 |

A Kozy Heat #800‐WPT series wall pass thru is required with use of the flex‐vent kit.

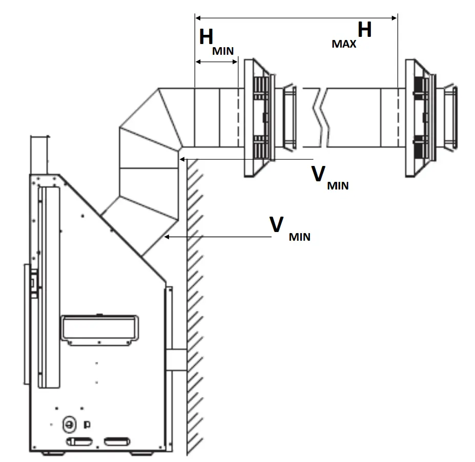
Horizontal 5” X 8” Venting Minimum Requirements
| Requirement | CLW‐50 |
| (NG/LP) Vertical Min | 45o Elbow |
| (NG/LP) Horizontal Min | 6 |
| (NG/LP) Horizontal Max | 24 |

Consult venting chart in the manual for all options above minimum requirements
H = Horizontal
V = Vertical
| Requirement* | CLW‐50 |
| (NG/LP) Vertical Min | 45o Elbow + 90o Elbow |
| (NG/LP) Horizontal Min | 6 |
| (NG/LP) Horizontal Max | 48 |

*Requirement when initially using 45o Elbow Vertically
4” x 6‐5/8” Decreaser Minimum Requirements
| Requirement | CLW‐50 |
| (NG/LP) Vertical Min | 45o Elbow + 24 + Decreaser |
| (NG/LP) Horizontal Min | 90o Elbow |
| (NG/LP) Horizontal Max | 48 |

| Requirement | CLW‐50 |
| (NG/LP) Horizontal Min | 45o Elbow + Decreaser |
| (NG/LP) Vertical Min | 10 |
| (NG/LP) Vertical Max | 50 ft. |
CO‐LINEAR 3” X 3” FLEX PIPE VERTICAL VENTING

Heat Shield Requirements
*The horizontal vent heat shield must be installed when using a horizontal 45° elbow of the back of the appliance.




















