Slayton 60 Direct Vent Fireplace
Please leave these reference guides at the installation location until the installation is finished. See owners manual for full installation and finishing instructions before making final decisions as information is subject to change.
Specifications
(all measurements are in inches)
- GAS LINE OPENING: LEFT/RIGHT SIDES
- ELECTRICAL ACCESS: RIGHT SIDE
| Model | BTU | Height | Front Width | Back Width | Depth | Glass Viewing Area | ||||
| Actual | Framing | Actual | Framing | Actual | Framing | Actual | Framing | |||
| SLA‐60 | 55,000 | 31‐1/16 | 36‐7/8 | 66 | 71‐1/8 | 66 | 71‐1/8 | 15‐13/16 | 19 | 58‐7/16 x 14‐1/4 |
Framing Opening

Finishing Clearances
NON‐COMBUSTIBLE ZONE
| Dimension | SLA‐60 |
| N | 72‐5/8 |
| O | 38‐3/8 |
Mantel Clearances

| Dimension | ||||
| P | Q | R | S | T |
| 40‐1/4 | 14‐1/4 | 17‐1/4 | 31‐3/16 | 62‐1/4 |
Finish Trim Kit
Important!
If you are finishing around the fireplace with le or stone make sure that you install the Finishing Trim Kit at the framing stage.
The trim kit allows for your finishing board and your le/stone to finish up against, creating a shadowbox for the face to sit inside.
Horizontal Termination Framing

| Dimension | SLA‐60 |
| U | 19 |
| V | 53‐7/8 |
| W | 61‐3/8 |
| X | 53‐7/8 |
| Y | 61‐3/8 |

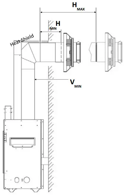
Horizontal Venting Minimum Requirements
Note specific gas type minimums
Consult venting chart in manual for op ons above minimum requirements
H = Horizontal
V = Vertical
| Requirement | SLA‐60 |
| (NG) Vertical Min | 12 + 6 + 90o Elbow |
| (NG) Horizontal Min | 9 |
| (NG) Horizontal Max | 36 |

| Requirement | SLA‐60 |
| (LP) Vertical Min | 24 + 90o Elbow |
| (LP) Horizontal Min | 9 |
| (LP) Horizontal Max | 24 |
Heat Shield Requirements
The vertical vent heat shield must be installed for EVERY type of venting applica on.
The horizontal vent heat shield must be installed when incorporating minimum horizontal venting.
Align the (3) screw holes on the horizontal heat shield tabs to the corresponding (3) screw holes on the vertical heat shield necessary for your installation



















