EMTEK EMTouch and EMTouch Classic Style Electronic Lever Locksets Installation Guide
What’s in the Box

| ITEM NO. | DESCRIPTION | QTY |
| 1 | Key | 2 |
| 2 | Outside Trim Plate Assembly | 1 |
| 3 | Latch for 23/8” or 23/4” Backset | 1 |
| 4 | Inside Trim Plate Assembly | 1 |
| 4a | Inside Chassis | 1 |
| 4b | Inside Trim Plate | 1 |
| 4c | #8-32 x 3/8″ Flat Head Machine Screw | 2 |
| 4d | 9V Alkaline Battery | 1 |
| 5 | #8-32 x 11/2″ Flat Head Machine Screw | 2 |
| 6 | #8 x 3/4″ Wood Screw | 4 |
| 7 | Strike Plate | 1 |
| 8 | Plastic Extender | 1 |
Preparation
Confirm Handing EN
HANDING OF DOOR IS ALWAYS DETERMINED FROM THE OUTSIDE


How to Install
Install Latch
Fasten Latch using two #8 x 3/4” Wood Screws (item #6).

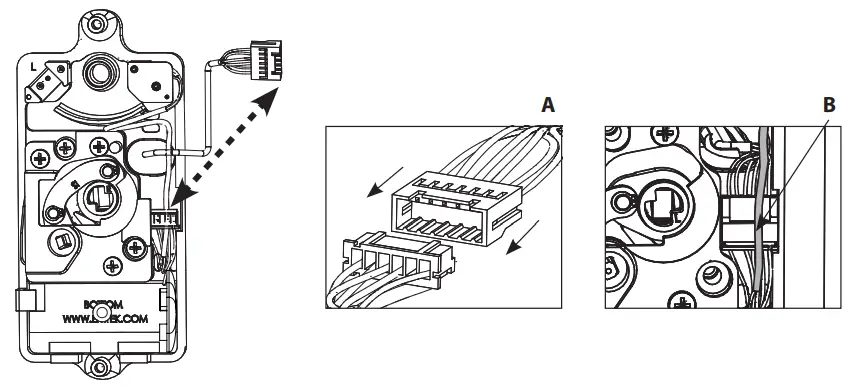
Remove Screws from Inside Trim Plate
Use a Phillips head screwdriver to remove screws (item #4c) shown below and detach Inside Trim Plate from the Inside Chassis.
![]()
Use a Phillips head screwdriver to remove screws (item #4c) shown below and detach Inside Trim Plate from the Inside Chassis.


Install Outside Trim Plate Assembly
STEP 1
While holding Outside Trim Plate Assembly, Press the Plastic Extender (A) into end of Spindle Shaft (B). The Shaft is properly aligned when the marking ‘TOP’ can be seen from an overhead view.

STEP 2
Position the Outside Trim Plate Assembly through the bore hole.

STEP 3
With the Outside Trim Plate Assembly flush to the door, REMOVE the Plastic Extender.
Install Inside Chassis
STEP 1
Confirm the position of Cam Link.

STEP 2
Feed the Wire Harness through Inside Chassis.

STEP 3
Fasten Inside Chassis using two #8-32 x 11/2” Flat Head Machine Screw (item #5).

STEP 4
Connect Wire Harness (A) and tuck Connectors as shown (B)

STEP 5
Install Battery.

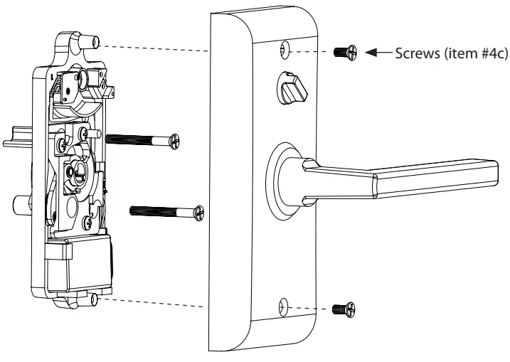
Install Inside Trim Plate
Fasten Inside Trim Plate using two#8-32 x 3/8” Flat Head Machine Screws (item #4c).

Neutral position is required for installation and removal of the Inside Trim Plate Assembly.
(Does not apply to Keypad Storeroom/Gate product)

How to Use
Your Lock is Ready to Use
Your Emtek lock is shipped with two 4-digit user codes and a 6-digit programming code.
These codes are randomly generated at the factory.
(Turn to next page for Programming Instructions.)
To Unlock

- Press EMTEK key or touch 3 fingers across screen.
- Enter 4-digit user codes.
(See sticker located on the inside trim plate or back cover page). - Turn Handle.
Passage Feature
(Does not apply to Keypad Storeroom/Gate product)
Activate by turning the inside thumbturn to the unlocked position. This will engage the outside lever so a code is not required to enter.

To Lock
Rotate Thumbturn from inside.

How to Program
Programming Your Lock
In order to perform each of the following six functions, the lock must first be placed in Programming Mode:
- Press and hold EMTEK button for 3 seconds
- Yellow LED flashes, then remains solid*, number keys also illuminate
- Enter Programming Code
- Yellow LED flashes, then 2 beeps
- Yellow LED remains solid (awaiting button press; see following table)
| If You Wish To | Press Button | Actions | Indicators | |
| Change Programming Code (6 digits) | 1 | Enter New Programming Code (6 digits) | Re-Enter New Programming Code (6 digits) | • 1 Green LED flash • 1 beep • 1 Green LED flash • 1 beep • 2 Green LED flashes • 2 beeps |
| Add User Code (4 digits) (Store up to 20 User Codes) | 2 | Enter New User Code (4 digits) | Re-Enter New User Code (4 digits) | • 1 Green LED flash • 1 beep • 1 Green LED flash • 1 beep • 2 Green LED flashes • 2 beeps |
| Delete User Code | 3 | Enter User Code to be Deleted | Re-Enter User Code to be Deleted | • 1 Green LED flash • 1 beep • 1 Green LED flash • 1 beep • 2 Green LED flashes • 2 beeps |
| **Enable/Disable All User Codes | 4 | Entering ‘4’ disables all Users (enables all if disabled) | • 2 Green LED flashes • 2 beeps | |
| Delete All User Codes | 5 | Re-Enter Programming Code | • 1 Green LED flash • 1 beep • 2 Green LED flashes • 2 beeps | |
| Turn Beeper On/Off | 6 | Entering ‘6’ turns OFF (or ON) | • 1 Green LED flash • 1 beep • 2 Green LED flashes • 2 beeps | |
*If no input within 20 seconds, Yellow LED goes out, Red LED flashes and lock exits Programming Mode.
**Also referred to as “vacation mode”. This command temporarily disables all user codes (metal key override will still work).
Keypad Operation – Beeper & LED Indicators
| Function | Indicators |
| Valid Code | • 1 short beep, EMTEK button flashes Green. |
| Invalid Code/Access Denied* | • 1 Red LED flash • 2 short beeps |
| Lock-Out Mode Error | • 2 short beeps • 1 short beep per second for duration |
| Access Accepted | • 1 short beep • 1 Green LED flash |
| Low Battery | • 4 Red LED flashes • 4 short beeps |
| Blackout Battery** | • 1 long Red LED flash • 4 long beeps |
| Button Press Accepted | • 1 Yellow LED flash • 1 Short Beep |
| Outside Thumb Turn Enabled | • 2 Green LED flashes |
* If 3 consecutive incorrect codes are entered, the lock emits 4 short beeps and a flashing Red EMTEK button. The lock will not accept additional input for 20 seconds (20 beeps). When the next valid code is entered the lock will beep quickly 3 times to alert of the incorrect codes.
** Battery voltage has dropped too low; keypad will be disabled but metal key override will still work.
Restoring the Lock to Factory Default Setting
This procedure clears the lock of all users and restores the Programming Code and 2 User Codes shipped with the lock.
- Press and hold EMTEK button for 3 seconds.
- Enter “000000”
- After 2 beeps and 2 Green LED Flash, remove power (disconnect 9V battery) from Lock.
- After 5 seconds, restore power (reconnect 9V battery).
- Confirm by 2 beeps and 2 Green LED Flash.
U.S. patents:
8,176,761
8,141,400
Canadian patents:
2,698,041
2,789,278
2,789,280
Copyright © Emtek Products, ASSA ABLOY Residential Group Inc. DBA Emtek Products, 2021
Reproduction in whole or in part without the express written permission of Emtek Products is prohibited.



















