EMTEK Electronic Keypad Entry Set
Installation
Door Prep
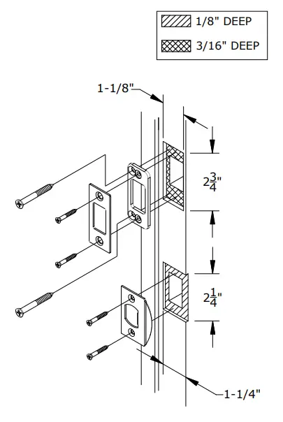
Door Jamb Prep
Install Latches
Install Grip and Interior Lever
Handles and Lever/knob vary depending on style
Install Electronic Lock
Electronic Deadbolt varies depending on style.
Install Electronic Deadbolt per installation and programming guide (provided).






















