EMTEK Passage-Privacy Knob or Lever Installation Guide
WARNING: This product can expose you to chemicals including lead, which is known to the state of California to cause cancer and birth defects or other reproductive harm. For more information go to www.P65Warnings.ca.gov.
Installation Instructions
- Door Prep

- Standard Strike Plate Door Jamb Prep.
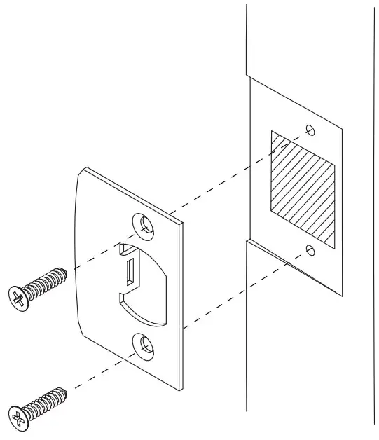
NOTE: Dimensions B & C should be used as reference only. Due to tolerances actual door jamb prep dimensions will vary. Using the strike plate outline edges and locate screw holes on strike with center line on jamb.
A B C 1¾” 1¼” 2¼” 1½” 1 5/4” 2¼” 1¾” 1 7/16″ 2¼” - Install Strike Plate
Fasten Strike Plate with #8 wood screws (provided).
- Place Plastic Alignment Tool in Bore Hole & Install Latch.

- Install Outside and Inside Trims
- Position the outside trim through the bore hole.

- Fasten Inside Trim using two #8 machinescrews (provided), and install Privacy Pin.

- Position the outside trim through the bore hole.
Dummy Installation
- Align Mounting Plate

- Install Mounting Plate & Adjust for Level

- Assemble Lever/Knob & Rosette


























