EMTEK F13 UL Listed Mortise Lock Knob by Knob

Installation Guide
- Install Cylinder Plug
Install cylinder plug by threading it clockwise onto lock body
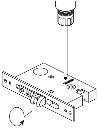
Note: Notch on cylinder plug must be in the 9 o’ clock position when fully screwed onto lock body. - Install Mortise Lock
See template for door prep specifications - Adjust and Install Spindle
Rotate one full turn until both slots are facing the same way.
- Install Key Cylinder
Install key ¾ of the way into the key cylinder and thread it clock-wise onto trim plate.
Plates and lever/knob vary depending on style. - Tighten Key Cylinder
After key cylinder is installed, secure cylinder by tightening screw
- Mount Inside Trim to Door

- Install Trim Plate

- Tighten Inside Lever or Knob

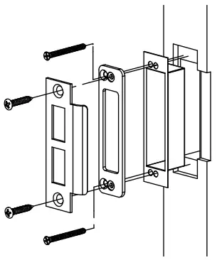
- Install Door Jamb

Instructions to reverse swing
- Remove dowel screw. (Replace after reversing swing)
- Pull out and rotate latch bolt to reverse its direction.



See template for door prep specifications


























