EMTEK F20 UL Listed Mortise Lock

Installation Guide
- Install Cylinder Plug
Install cylinder plug by threading it clockwise onto lock body
Note: Notch on cylinder plug must be in the 9 o’ clock position when fully screwed onto lock body. - Install Mortise Lock

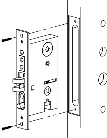
See template for door prep specifications - Install Key Cylinder
Install key ¾ of the way into the key cylinder and thread it clockwise onto trim plate.
Plates and grip vary depending on style. - Tighten Key Cylinder
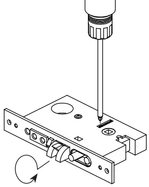
After key cylinder is installed, secure cylinder by tightening screw
- Mount Inside Trim to Door

- Install Trim Plate

- Tighten Inside Lever or Knob

Tighten Lever with 3/32 Hex wrench (provided). - Install Door Jamb

- Passage/Privacy Lock

Instructions to reverse swing
- Remove dowel screw. (Replace after reversing swing)
- Pull out and rotate Latch bolt to reverse its direction.




Plates and grip vary depending on style.
























