5400 OLP Series 5000 Spring Driven Hose Reels
User Manual
5400 OLP Series 5000 Spring Driven Hose Reels
Low Pressure Model Numbers:
5400 OLP
5630 OLP
5635 OLP
5600 OLP
5450 OLP
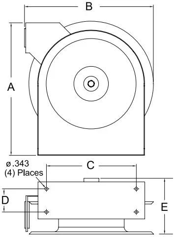
Dimensions
![]() | A | 14 3/8” |
| B | 14” | |
| C | 9 3/4” | |
| D | 2 1/2” | |
| E | 6 1/8” |
SAFETY
- Do not use reel at higher pressures or temperatures than listed on the back of this bulletin.
- Remove all spring tension before beginning disassembly process.
INSTALLATION:
A flexible hose connection must be used between the hose reel inlet and the source of supply to prevent possible misalignment and binding.
MOUNTING:
The hose reel is equipped with a universal mounting bracket so that it can be mounted on the floor, wall or ceiling; whichever place is convenient. The hose guide arm can be moved to the position desired by removing the screws fastening the guide bracket to the reel base. Shift the guide arm bracket so the hose comes off the reel at the desired position and replace the screws.
NOTE: For proper installation in wall mount applications, ensure reel is mounted with inlet on the right as you are facing the reel. Failing to do so could cause latching issues.
LUBRICATION:
Hose reel spring and bearings are factory lubricated and require no further lubrication.
REPLACING HOSE:
- Wind spool flange clockwise-facing swivel-until spring is tight.
- Back off three turns and latch.
- Insert hose through roller guide.
- Connect hose fitting to swivel joint and secure hose with clamps.
ADJUSTMENTS:
To adjust spring tension, add or remove wraps of hose from the spool, one wrap at a time until desired tension is obtained.
REPAIRS:
Extensive repairs should be performed only by an authorized serviceman or factory to avoid damage which may void your warranty. Remove all spring tension before beginning disassembly process.

| Item # | Part # | # Req. | Description | Item # | Part # | # Req. | Description | Item # | Part # | # Req. | Description |
| 1 | S600886 | 1 | Swivel Assembly | 9 | 300002 | 7 | 10-32 x 1/2” Screw | 21 | S32-136 | 1 | 10-24 x 3/8” Mach. Screw |
| 2 | 300031 | 2 | 1” Snap Ring | 12 | S500107 | 1 | Guide Arm & Roller Assembly | 22 | S400012 | 1 | Latch Bushing |
| 3 | 300034 | 2 | Spacing Washer | 13 | 500101 | 1 | Base Assembly | 23 | S400018 | 1 | Latch Spring |
| 4 | S295-102 | 3 | 1/4” Plastite Hex Screw | 16 | S261360 | 1 | Spring Case Stud | 25 | 400020 | 1 | O-ring |
| 5 | 260022 | 1 | Sheave Flange | 17 | 300006 | 1 | 3/8-16 x 1/2” Set Screw | 26 | S400109 | 1 | Latch Plate Assembly |
| 6 | 500006 | 1 | Sheave Disk | 18 | S500103 | 1 | Spring Case Assembly | 27 | 300035 | 1 | 10-32 x 1” Mach. Screw |
| 7 | S500019 | 1 | Latch Cam | 19 | S82-15 | 8 | 10-32 x 3/8” Nyloc Nut | 29 | 261650-1 | 2 | 1/4-20 Zinc Nyloc Nut |
| 8 | S260648 | 1 | Spring Arbour | 20 | S400021 | 1 | Latch Bumper | 30 | S400015 | 1 | Main Shaft |
| Item # | Description | # Req. | 5400 OLP | 5450 OLP | 5600 OLP | 5630 OLP | 5635 OLP |
| 10 | Bumper Stop Assembly | 1 | None | 1-HR1004-A | None | 1-HR1004 | 1-HR1004 |
| 11 | Hose Assembly | 1 | None | 601001-50 | None | S601011-30 | S601013-35 |
| 15 | Drive Spring Assembly | 1 | S503755 | S503755 | S504240 | S504240 | S504240 |
| 28 | U-Bolt | 1 | 3-117440 | 3-117440 | 3-117440 | 3-117440 | 3-117440 |
| Hose I.D. and Length | None | 1/4” x 50’ | None | 3/8” x 30’ | 3/8” x 35’ | ||
| Reel Inlet Connection | 3/8” NPT(F) | 3/8” NPT(F) | 3/8” NPT(F) | 3/8” NPT(F) | 3/8” NPT(F) | ||
| Max. Operating Pressure | 500 P.S.I. | 300 P.S.I. | 500 P.S.I. | 300 P.S.I. | 300 P.S.I. | ||
| Max. Operating Temperature | 210 °F | 150 °F | 210 °F | 150 °F | 150 °F | ||
Reelcraft Industries, Inc.
2842 E Business Hwy 30, Columbia City, IN 46725
Ph: 800-444-3134/260-248-8188
Fax: 800-444-4587/260-248-2605
Customer Service: 855-634-9109
[email protected]
www.reelcraft.com
Form# 831-696
Rev: 2/2023




















