REELCRAFT 4400 OLP 4000 Series Spring Driven Hose Reels

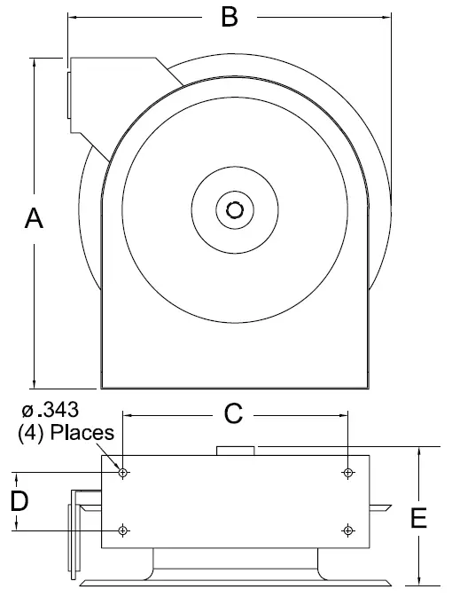
Dimensions

- A: 12 7/8”
- B: 12 3/8”
- C: 8”
- D: 2 1/2”
- E: 5 5/8”
SAFETY
- Do not use reel at higher pressures or temperatures than listed on the back of this bulletin.
- Remove all spring tension before beginning dissassembly process.
INSTALLATION
A flexible hose connection must be used between the hose reel inlet and the source of supply to prevent possible misalignment and binding.
MOUNTING
The hose reel is equipped with a universal mounting bracket so that it can be mounted on the floor, wall or ceiling; whichever place is convenient. The hose guide arm can be moved to the position desired by removing the screws fastening the guide bracket to the reel base. Shift the guide arm bracket so the hose comes off the reel at the desired position and replace the screws. NOTE: For proper installation in wall mount applications, ensure reel is mounted with inlet on the right as you are facing the reel. Failing to do so could cause latching issues.
LUBRICATION: Hose reel spring and bearings are factory lubricated and require no further lubrication.
REPLACING HOSE
- Wind spool flange clockwise-facing swivel-until spring is tight.
- Back off three turns and latch.
- Insert hose through roller guide.
- Connect hose fitting to swivel joint and secure hose with clamps.
ADJUSTMENTS
To adjust spring tension, add or remove wraps of hose from the spool, one wrap at a time until desired tension is obtained.
REPAIRS
Extensive repairs should be performed only by an authorized serviceman or factory to avoid damage which may void your warranty. Remove all spring tension before beginning disassembly process.
Series 4000 Spring Driven Hose Reels

| Item # | Part # | # Req. | Description | Item # | Part # | # Req. | Description | Item # | Part # | # Req. | Description |
| 1 | S600886 | 1 | Swivel Assembly | 12 | S400107 | 1 | Guide Arm Assembly | 23 | S400018 | 1 | Latch Spring |
| 2 | 300031 | 2 | 1” Snap Ring | 13 | 400101 | 1 | Base Assembly | 25 | 400020 | 1 | O-ring |
| 3 | 300034 | 2 | Spacing Washer | 15 | S261360 | 1 | Spring Case Stud | 26 | S400109 | 1 | Latch Plate Assembly |
| 4 | S295-102 | 3 | 1/4” Plastite Hex Screw | 17 | 300006 | 1 | 3/8-16 x 1/2” Set Screw | 27 | 300035 | 1 | 10-32 x 1” Mach. Screw |
| 5 | 400005 | 1 | Flange Assembly | 18 | S400103 | 1 | Spring Case Assembly | 28 | 3-117440 | 1 | U-bolt |
| 6 | 400006 | 1 | Sheave Disk | 19 | S82-15 | 8 | 10-32 x 3/8” Nyloc Nut | 29 | 261650-1 | 2 | 1/4-20 Zinc Nyloc Nut |
| 7 | S400019 | 1 | Latch Cam | 20 | S400021 | 1 | Latch Bumper | 30 | S400015 | 1 | Main Shaft |
| 8 | S260648 | 1 | Spring Arbor | 21 | S32-136 | 1 | 10-24 x 3/8” Mach. Screw | ||||
| 9 | 300002 | 7 | 10-32 x 1/2” Screw | 22 | S400012 | 1 | Latch Bushing |
| Item # | Description | # Req. | 4400 OLP | 4420 OLP | 4425 OLP | 4435 OLP | 4600 OLP | 4615 OLP | 4625 OLP |
| 10 | Bumper Stop Assembly | 1 | None | 1-HR1004A | 1-HR1004A | 1-HR1004A | None | 1-HR1004 | 1-HR1004 |
| 11 | Hose Assembly | 1 | None | S601001-20 | S601001-25 | S601001-35 | None | 601013-15 | S601013-25 |
| 14 | Drive Spring Assembly | 1 | S400030 | S400030 | S400030 | S400030 | S404230 | S404230 | S404230 |
| Hose I.D. and Length | None | 1/4” x 20’ | 1/4” x 25’ | 1/4” x 35’ | None | 3/8” x 15’ | 3/8” x 25’ | ||
| Reel Inlet Connection | 3/8” F.P.T. | 3/8” F.P.T. | 3/8” F.P.T. | 3/8” F.P.T. | 3/8” F.P.T. | 3/8” F.P.T. | 3/8” F.P.T. | ||
| Max. Operating Pressure | 500 P.S.I. | 300 P.S.I. | 300 P.S.I. | 300 P.S.I. | 500 P.S.I. | 300 P.S.I. | 300 P.S.I. | ||
| Max. Operating Temperature | 210 °F | 150 °F | 150 °F | 150 °F | 210 °F | 150 °F | 150 °F | ||
Reelcraft Industries, Inc. • 2842 E Business Hwy 30, Columbia City, IN 46725 Ph: 800-444-3134 / 260-248-8188 • Fax: 800-444-4587 / 260-248-2605 Customer Service: 855-634-9109 • [email protected] • www.reelcraft.com




















