REELCRAFT A5835 OLBSW2 Series 5000 Spring Driven Hose Reels Low Pressure Potable

PARTS

| Item # | Part # | Req.# | Description | Item # | Part # | Req.# | Description |
| 1 | 300031 | 2 | Snap Ring | 18 | S500103 | 1 | Spring Case Assembly |
| 2 | 300034 | 2 | Spacing Washer | 19 | S82-15 | 1 | 10-32 x 3/8” Nyloc Nut |
| 3 | S295-102 | 3 | 1/4” Plastite Hex Screw | 20 | S400021 | 1 | Latch Bumper |
| 4 | 260022 | 1 | Sheave Flange | 21 | S32-136 | 1 | 10-24 x 3/8” Mach. Screw |
| 5 | 500006 | 1 | Sheave Disc | 22 | S400012 | 1 | Latch Bushing |
| 6 | S500019 | 1 | Latch Cam | 23 | S400018 | 1 | Latch Spring |
| 7 | S260648 | 1 | Spring Arbor | 24 | 300001 | 5 | 10-32 x 3/8” Screw |
| 8 | 300002 | 2 | 10-32 x 1/2” Screw | 25 | 400020 | 1 | O’Ring |
| 9 | 1-HR1004 | 1 | Bumper Stop Assembly | 26 | S400109 | 1 | Latch Plate Assembly |
| 10 | 601062 | 1 | Hose Assembly | 27 | 300035 | 1 | 10-32 x 1” Mach. Screw |
| 11 | 300062 | 1 | Hose Plug | 28 | 3-117440 | 1 | U-bolt |
| 12 | S500107 | 1 | Guide Arm & Roller Assembly | 29 | 261650-1 | 2 | 1/4-20 Zinc Nyloc Nut |
| 13 | 500101 | 1 | Base Assembly | 30 | 260765 | 1 | Main Shaft |
| 14 | S300011 | 7 | 10-32 Hex Lock Nut | 31 | 261845 | 1 | 90° Street Ell |
| 15 | S505740 | 1 | Drive Spring Assembly | 32 | 261846 | 1 | Swivel Assembly |
| 16 | S261360 | 1 | Spring Case Stud | 33 | S600999 | 1 | Swivel & Ell Assembly |
| 17 | 300006 | 1 | 3/8-16 x 1/2” Set Screw |
| Hose I.D. & Length | 1/2” x 35’ |
| Reel Inlet Connection | 1/2” M.P.T. |
| Max. Operating Pressure | 300 P.S.I. |
| Max. Operating Temperature | 210 °F |
Reels prior to September 2009 used a hose and swivel that are now obsolete but a seal kit is available for these reels – part number S600337-1.
SAFETY
- Do not use reel at higher pressures or temperatures than listed on the back of this bulletin.
- Remove all spring tension before beginning disassembly process.
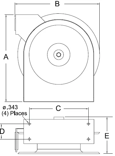
Dimensions
![]() | A | 14 3/8” |
| B | 14” | |
| C | 9 3/4” | |
| D | 2 1/2” | |
| E | 6 1/8” |
INSTALLATION
A flexible hose connection must be used between the hose reel inlet and the source of supply to prevent possible misalignment and binding.
MOUNTING: The hose reel is equipped with a universal mounting bracket so that it can be mounted on the floor, wall or ceiling; whichever place is convenient. The hose guide arm can be moved to the position desired by removing the screws fastening the guide bracket to the reel base. Shift the guide arm bracket so the hose comes off the reel at the desired position and replace the screws.
NOTE: For proper installation in wall mount applications, ensure reel is mounted with inlet on the right as you are facing the reel. Failing to do so could cause latching issues.
LUBRICATION: Hose reel spring and bearings are factory lubricated and require no further lubrication.
REPLACING HOSE:
- Wind spool flange clockwise-facing swivel-until spring is tight.
- Back off three turns and latch.
- Insert hose through roller guide.
- Connect hose fitting to swivel joint and secure hose with clamps.
ADJUSTMENTS
To adjust spring tension, add or remove wraps of hose from the spool, one wrap at a time until desired tension is obtained.
REPAIRS: Extensive repairs should be performed only by an authorized serviceman or factory to avoid damage which may void your warranty. Remove all spring tension before beginning disassembly process.
Reelcraft Industries, Inc.
2842 E-Business Hwy 30, Columbia City, IN 46725
Ph: 800-444-3134 / 260-248-8188
Fax: 800-444-4587 / 260-248-2605
Customer Service: 855-634-9109
[email protected]
www.reelcraft.com




















