REELCRAFT CA30106-CS Series 30000-CS Hand Crank Cord Reels Cable Storage

Cable Storage Model Numbers
- CA30106-CS
- CA30112-CS
Dimensions
IMPORTANT
Read this manual carefully before installing, operating or servicing this equipment.
INSPECTION
Unpack and inspect reel for damage. Turn the reel by hand to check for smooth operation.
OPERATIONAL INSTRUCTIONS
WARNING: Power source must be disconnected before winding or unwinding cord back onto reel.
INSTALLATION INSTRUCTIONS
NOTE: Install on flat surfaces to prevent reel from binding
- Two 1/2” diameter mounting holes are located at the base of eachside support panel (2 each). Mount reel using four customer supplied bolts. Tighten bolts securely to ensure a solid, rigid attachment. (See figure 1)

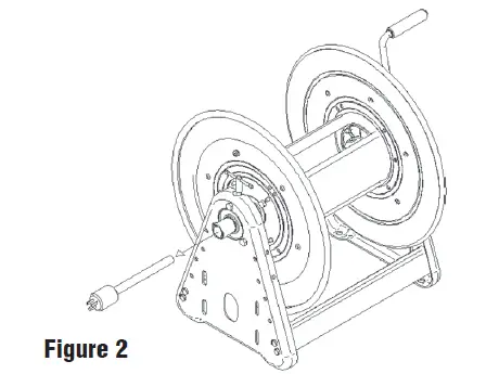
- Inlet cord length may be adjusted by loosening clamp and pushing desired length thru shaft. After cable is on reel, push excess inlet cord into shaft for storage. (See figure 2)

Description
| Item # | Description | Qty. | CA30106-CS | CA30112-CS |
| 1 | Side Frame | 2 | 260403 | 260403 |
| 2 | 5/16-18 x 1/2” Screw | 8 | S2-51 | S2-51 |
| 3 | Self Tapping Screw | 9 | S317-31 | S317-31 |
| 4 | Hub & Bushing Assembly | 2 | S600640 | S600640 |
| 5 | Nyloc Nut | 8 | S85-7 | S85-7 |
| 6 | Spool Flange | 2 | S260399-3 | S260399-3 |
| 7 | Support Shaft | 1 | 261283 | 261283 |
| 8 | Tie Rod | 4 | 260402-100 | 260402-200 |
| 9 | Spool Spacer | 1 | 260401-1 | 260401-2 |
| 10 | Lock Handle Assembly | 1 | S280109 | S280109 |
| 11 | Snap Ring | 3 | 300007 | 300007 |
| 12 | Set Screw | 1 | 300089 | 300089 |
| 13 | Snap Ring | 1 | S137-4 | S137-4 |
| 14 | Crank Handle Assembly | 1 | S600102 | S600102 |
| 15 | Support Shaft | 1 | 602242 | 602242 |
| 16 | Set Screw | 1 | 300006 | 300006 |
| 17 | Lock Nut | 8 | 300107 | 300107 |
| 18 | Cross Brace | 2 | 261501-1 | 261501-2 |
| 19 | Machine Screw | 1 | 300001 | 300001 |
| 20 | Cable Clamp | 1 | 261541-1 | 261541-1 |
| 21 | Flange Nut | 1 | S79-3 | S79-3 |
| 22 | Collar | 2 | 602688 | 602688 |
Reelcraft Industries, Inc. 2842 E Business Hwy 30, Columbia City, IN 46725
Ph: 800-444-3134 / 260-248-8188
Fax: 800-444-4587 / 260-248-2605
Customer Service: 855-634-9109
[email protected]
www.reelcraft.com
www.reelcraft.com
























