REELCRAFT H16000 Series H Hand Crank Hose Reels

IMPORTANT
Read this manual carefully before installing, operating or servicing this equipment
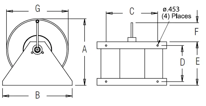
Dimensions
| H16000 (M/H) | H26000 (M/H) | |||||
| H18000 (M) | H28000 (M/H) | H28005 | H29005 | H18005 (M) | H18006 M | |
| H19000 (M) | H29000 (M) | |||||
| A | 19” | 19” | 20 1/8” | 18 7/8” | 20 1/8” | 20 1/8” |
| B | 20” | 20” | 14” | 14” | 14” | 14” |
| C | 15” | 15” | 10” | 10” | 10” | 10” |
| D | 10” | 16” | 16” | 16” | 10” | 6 3/8” |
| E | 12 1/2” | 18 1/2” | 18 1/2” | 18 1/2” | 12 1/2” | 8” |
| F | 5 3/4” | 5 3/4” | 5 3/4” | 5 3/4” | 5 3/4” | 5 3/4” |
| G | 17 3/4” | 17 3/4” | 17 3/4” | 15 3/16” | 17 3/4” | 17 3/4” |
SAFETY
Personal injury and/or equipment damage may result if proper safety precautions are not observed.
- Ensure that the reel is properly installed before connecting input and output hoses.
- Bleed fluid/gas pressure from the system before servicing reel.
- connecting reel to the supply line, ensure that pressure does not exceed the maximum working pressure rating of reel.
- Remember, even low pressure is very dangerous and can cause personal injury or death.
- Be aware of machinery and personnel in the work area.
- If a leak occurs in the hose or reel, remove system pressure immediately.
- A high-tension spring assembly is contained within the reel. Exercise extreme caution.
- Pull hose from reel by grasping the hose itself, not the control valve.
- Ensure that reel, hose, and equipment being serviced are properly grounded. Use an ohmmeter to check ground continuity.
- If reel ceases to unwind or rewind, remove system pressure immediately. Do not pull or jerk on hose!
- Treat and respect the hose reel as any other piece of machinery, observing all common safety practices.
INSTALLATION INSTRUCTIONS
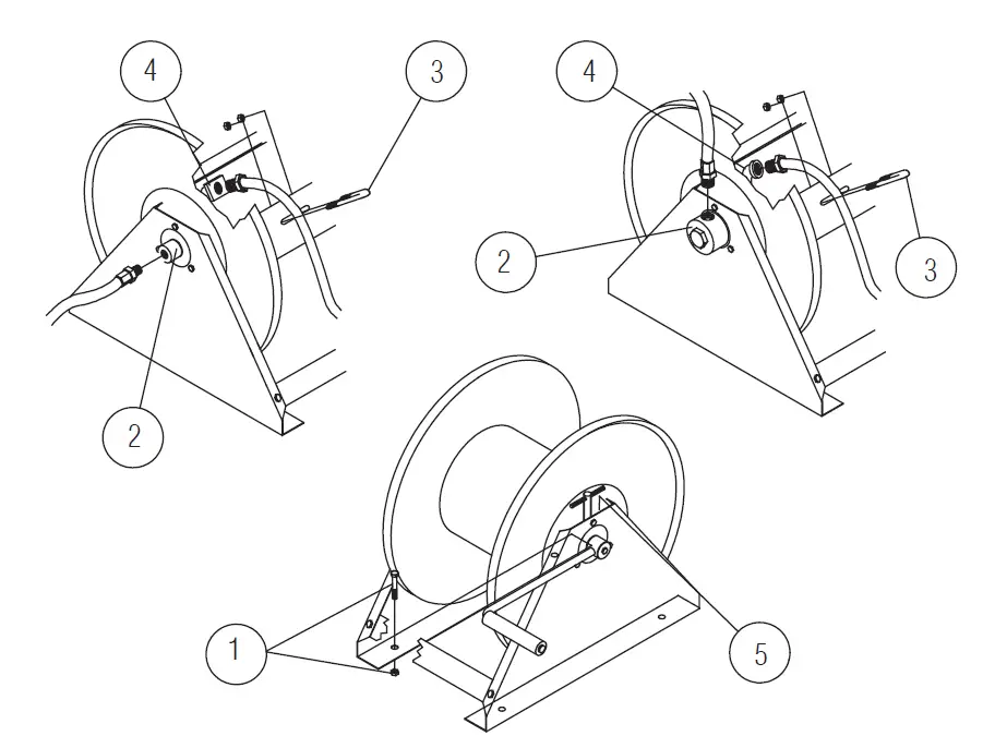
MOUNTING
- Inspect reel for shipping damage. Turn by hand to check for smooth operation. Check for completeness.
- Position reel to the mounting surface and secure it into place, using four (customer-supplied) screws or bolts (1).
CONNECTING HOSE(S)
Warning: Ensure that supply line pressure does not exceed the maximum working pressure rating of reel. Apply pipe thread sealant to all threads.
- Connect the supply line to the swivel/input shaft (2). It is recommended that a flexible hose connector be used to compensate for any offset between the supply line and the swivel.
- Route output hose through hose clamp (3).
- Thread output hose fitting to swivel/street ell (4). Tighten securely
- Tighten the hose clamp (3).
- Fully extend and charge the hose. Momentarily open the control valve to purge the hose of gases. When fluid appears at the control valve, close valve. With the hose still fully charged, rewind the hose onto reel
ADJUSTMENTS REEL DRAG
Adjust reel drag by tightening or loosening brass set screw (5) (part #4), located at end of reel opposite swivel.
SERVICE INSTRUCTIONS
Maintain reel by following the service instructions given below. Refer all other repairs, other than those listed, only to an authorized service person or directly to Reelcraft. Failure to do so can result in personal injury and/or equipment damage and may void the warranty.
Warning: Bleed pressure from system before performing the following procedures.
Note: When installing replacement hoses, apply pipe thread sealant to all threads.
REPLACING HOSES
Refer to drawings below for help with replacing/installing the hoses

| Item # | Description | # Req. | H16000 | H18000 | H18005 | H26000 | H28000 | H28005 | H16000 M |
| 1 | 3/8-16 x 3/8” Set Screw | 1 | 300089 | 300089 | 300089 | 300089 | 300089 | 300089 | 300089 |
| 2 | 1-1/4” Snap Ring | 2 | 300007 | 300007 | 300007 | 300007 | 300007 | 300007 | 300007 |
| 3 | Hub and Bushing Assembly | 2 | S600640 | S600640 | S600640 | S600640 | S600640 | S600640 | S600640 |
| 4 | 3/8-16 x 1/2” Set Screw | 1 | 300099 | 300099 | 300099 | 300099 | 300099 | 300099 | 300099 |
| 5 | Lock Handle Assembly | 1 | S280109 | S280109 | S280109 | S280109 | S280109 | S280109 | S280109 |
| 6 | Spool Assembly | 1 | 280101 | 280101 | 280101 | 280102 | 280102 | 280102 | 280103 |
| 7 | 5/16-12 x 5/8” Screw | 12 | S317-31 | S317-31 | S317-31 | S317-31 | S317-31 | S317-31 | S317-31 |
| 9 | 3/8-16 x 1/2” Set Screw | 2 | 300006 | 300006 | 300006 | 300006 | 300006 | 300006 | 300006 |
| 11 | Inlet Shaft | 1 | 602316 | 602317 | 602317 | 602316 | 602317 | 602317 | 602317 |
| 12 | Swivel Assembly | 1 | S600886 | S600923-2 | S600923-2 | S600886 | S600923-2 | S600923-2 | 600157 |
| 13 | Drive Shaft | 1 | 602284 | 602284 | 602284 | 602284 | 602284 | 602284 | 602284 |
| 14 | Crank and Handle Assembly | 1 | S600102 | S600102 | S600102 | S600102 | S600102 | S600102 | S600102 |
| 15 | Side Support Panel | 2 | 280000 | 280000 | 260341 | 280000 | 280000 | 260341 | 280000 |
| 16 | 5/16-18 Lock Nut | 4 | 300107 | 300107 | 300107 | 300107 | 300107 | 300107 | 300107 |
| 17 | 5/16-18 x 1/2” Hex Screw | 4 | S2-51 | S2-51 | S2-51 | S2-51 | S2-51 | S2-51 | S2-51 |
| 18 | Cross Member | 2 | 280001 | 280001 | 280001 | 280014 | 280014 | 280014 | 280001 |
| 19 | 1/4-20 Nyloc Nut | 2 | 261650-1 | 261650-1 | 261650-1 | 261650-1 | 261650-1 | 261650-1 | 261650-1 |
| 20 | U-bolt | 1 | 3-117440 | 3-117440 | 3-117440 | 3-117440 | 3-117440 | 3-117440 | 3-117440 |
| 21 | Collar | 2 | 602688 | 602688 | 602688 | 602688 | 602688 | 602688 | 602688 |
| Reel Inlet Connection | 3/8” FPT | 1/2” FPT | 1/2” FPT | 3/8” FPT | 1/2” FPT | 1/2” FPT | 3/8” FPT | ||
| Max. Operating Pressure | 500 PSI | 1000 PSI | 1000 PSI | 1000 PSI | 1000 PSI | 1000 PSI | 3000 PSI | ||
| Max. Operating Temperature | 150 °F | 150 °F | 150 °F | 150 °F | 150 °F | 150 °F | 210 °F | ||
| Item # | Description | # Req. | H18000 M | H18005 M | H18006 M | H26000 M | H28000 M | H16000 H | H26000 H | H28000 H |
| 1 | 3/8-16 x 3/8” Set Screw | 1 | 300089 | 300089 | 300089 | 300089 | 300089 | 300089 | 300089 | 300089 |
| 2 | 1-1/4” Snap Ring | 2 | 300007 | 300007 | 300007 | 300007 | 300007 | 300007 | 300007 | 300007 |
| 3 | Hub and Bushing Assembly | 2 | S600640 | S600640 | S600640 | S600640 | S600640 | S600640 | S600640 | S600640 |
| 4 | 3/8-16 x 1/2” Set Screw | 1 | 300099 | 300099 | 300099 | 300099 | 300099 | 300099 | 300099 | 300099 |
| 5 | Lock Handle Assembly | 1 | S280109 | S280109 | S280109 | S280109 | S280109 | S280109 | S280109 | S280109 |
| 6 | Spool Assembly | 1 | 280103 | 280103 | 600406 | 280102 | 280102 | 280103 | 280102 | 280102 |
| 7 | 5/16-12 x 5/8” Screw | 12 | S317-31 | S317-31 | S317-31 | S317-31 | S317-31 | S317-31 | S371-31 | S317-31 |
| 9 | 3/8-16 x 1/2” Set Screw | 2 | 300006 | 300006 | 300006 | 300006 | 300006 | 300006 | 300006 | 300006 |
| 11 | Inlet Shaft | 1 | 602317 | 602317 | 600408 | 602317 | 602317 | 602317 | 602317 | 602317 |
| 12 | Swivel Assembly | 1 | S600300-2 | S600300-2 | S602033 | 600157 | S600300-2 | S602110 | S602110 | S602110 |
| 13 | Drive Shaft | 1 | 602284 | 602284 | 602284 | 602284 | 602284 | 602284 | 602284 | 602284 |
| 14 | Crank and Handle Assembly | 1 | S600102 | S600102 | S600102 | S600102 | S600102 | S600102 | S600102 | S600102 |
| 15 | Side Support Panel | 2 | 280000 | 260341 | 260341 | 280000 | 280000 | 280000 | 280000 | 280000 |
| 16 | 5/16-18 Lock Nut | 4 | 300107 | 300107 | 300107 | 300107 | 300107 | 300107 | 300107 | 300107 |
| 17 | 5/16-18 x 1/2” Hex Screw | 4 | S2-51 | S2-51 | S2-51 | S2-51 | S2-51 | S2-51 | S2-51 | S2-51 |
| 18 | Cross Member | 2 | 280001 | 280001 | 260856 | 280014 | 280014 | 280001 | 280014 | 280014 |
| 19 | 1/4-20 Nyloc Nut | 2 | 261650-1 | 261650-1 | 261650-1 | 261650-1 | 261650-1 | 261650-1 | 261650-1 | 261650-1 |
| 20 | U-bolt | 1 | 3-117440 | 3-117440 | 3-117440 | 3-117440 | 3-117440 | 3-117440 | 3-117440 | 3-117440 |
| 21 | Collar | 2 | 602688 | 602688 | 602688 | 602688 | 602688 | 602688 | 602688 | 602688 |
| Reel Inlet Connection | 1/2” FPT | 1/2” FPT | 1/2” FPT | 3/8” FPT | 1/2” FPT | 3/8” FPT | 3/8” FPT | 1/2” FPT | ||
| Max. Operating Pressure | 3000 PSI | 3000 PSI | 5000 PSI | 3000 PSI | 3000 PSI | 5000 PSI | 5000 PSI | 5000 PSI | ||
| Max. Operating Temperature | 210 °F | 210 °F | 400 °F | 210 °F | 210 °F | 210 °F | 210 °F | 210 °F | ||
| Item # | Description | # Req. | H19000 | H19000 M | H29000 | H29000 M | H29005 |
| 1 | 3/8-16 x 3/8” Set Screw | 1 | 300089 | 300089 | 300089 | 300089 | 300089 |
| 2 | 1-1/4” Snap Ring | 4 | 300007 | 300007 | 300007 | 300007 | 300007 |
| 3 | Hub and Bushing Assembly | 2 | S600640 | S600640 | S600640 | S600640 | S600640 |
| 4 | 3/8-16 x 1/2” Set Screw | 1 | 300099 | 300099 | 300099 | 300099 | 300099 |
| 5 | Lock Handle Assembly | 1 | S280109 | S280109 | S280109 | S280109 | S280109 |
| 6 | Spool Assembly | 1 | 280101 | 280103 | 280102 | 280102 | 600113 |
| 7 | 5/16-12 x 5/8” Screw | 12 | S317-31 | S317-31 | S317-31 | S317-31 | S317-31 |
| 9 | 3/8-16 x 1/2” Set Screw | 2 | 300006 | 300006 | 300006 | 300006 | 300006 |
| 11 | Shaft & Street Ell Assembly | 1 | 600152 | 600217 | 600152 | 600217 | 600152 |
| 12 | Swivel Assembly | 1 | S602026 | S602026 | S602026 | S602026 | S602026 |
| 13 | Drive Shaft | 1 | 602284 | 602284 | 602284 | 602284 | 602284 |
| 14 | Crank and Handle Assembly | 1 | S600102 | S600102 | S600102 | S600102 | S600102 |
| 15 | Side Support Panel | 2 | 280000 | 280000 | 280000 | 280000 | 260341 |
| 16 | 5/16-18 Lock Nut | 4 | 300107 | 300107 | 300107 | 300107 | 300107 |
| 17 | 5/16-18 x 1/2” Hex Screw | 4 | S2-51 | S2-51 | S2-51 | S2-51 | S2-51 |
| 18 | Cross Member | 2 | 280001 | 280001 | 280014 | 280014 | 280014 |
| 19 | 1/4-20 Nyloc Nut | 2 | 261650-1 | 261650-1 | 261650-1 | 261650-1 | 261650-1 |
| 20 | U-bolt | 1 | 5-117440 | 5-117440 | 5-117440 | 5-117440 | 5-117440 |
| 21 | Collar | 2 | 602688 | 602688 | 602688 | 602688 | 602688 |
| Reel Inlet Connection | 3/4” FPT | 3/4” FPT | 3/4” FPT | 3/4” FPT | 3/4” FPT | ||
| Max. Operating Pressure | 1000 PSI | 3000 PSI | 1000 PSI | 3000 PSI | 1000 PSI | ||
| Max. Operating Temperature | 150 °F | 210 °F | 150 °F | 210 °F | 150 °F | ||




















