ULINE Industrial Cord Reel

SAFETY
IMPORTANT! Read this manual carefully before installing, operating or servicing this equipment.
DIMENSIONS

PRECAUTIONS
- Personal injury and/or equipment damage may result if proper safety precautions are not observed.
- Ensure that only a qualified electrician installs/services this equipment.
- Ensure that power supply voltage does not exceed maximum voltage rating of reel.
- Ensure that reel is properly installed before connecting to power supply.
- All cord reels with flying leads must be hard wired to ensure proper function.
- Ensure that all electrical power is removed from reel before servicing.
- A high-tension spring assembly is contained within the reel. Exercise extreme caution.
- Check for frayed and/or broken wires before each use. Pull electrical cord from reel by grasping the electrical cord itself, not the work device.
- If an electrical malfunction should occur, remove power from reel immediately.
- Ensure that reel, electrical cord and equipment being serviced are properly grounded. Use an ohmmeter to check ground continuity.
- If reel ceases to unwind or rewind, remove power immediately. Do not pull or jerk on electrical cord!
- Treat and respect the reel as any other piece of machinery, observing all common safety practices.
INSTALLATION
MOUNTING
CAUTION! Maximum installation height is 16 feet. Do not exceed this distance. Ensure that only a qualified electrician installs/services this equipment.

- Unpack and inspect reel for damage. Turn by hand to check for smooth operation. Check for completeness.
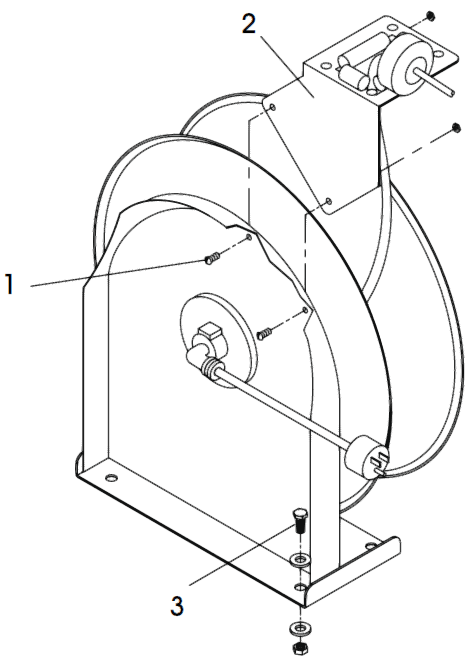
- Configure reel for top or side-wind or bottom-wind electrical cord dispensing by removing bolts (1) and securing guide arm bracket (2). Determine new guide arm location and remove corresponding bolts. Position guide arm bracket to reel and replace bolts. (See Figure 1)
- Position reel on floor, wall or ceiling. Secure into place, using four (customer supplied) screws or bolts (3).
(See Figure 1)
ADJUSTMENTS – SPRING TENSION
If necessary, adjust spring tension on reel by adding or removing wraps of electrical cord from spool, one wrap at a time, until desired tension is obtained. Add wraps to increase tension. Remove wraps to decrease tension.
WARNING! When adding wraps of electrical cord, be careful not to exceed the winding mechanism’s spring capacity. Add just enough wraps of cord to achieve the desired tension. Damage to the winding mechanism will result if spring is over-tensioned. Always be aware of spring tension on reel. Exercise extreme caution.
TROUBLESHOOTING
Troubleshooting of the reel consists of isolating a problem to a defective electrical cord/work device, brush holder/brushes, or collector assembly. Refer any other discrepancies only to Uline Customer Service at 1-800-295-5510.
WARNING! The following procedure directs the technician to take voltage measurements. Remember, even low voltage is dangerous and can cause personal injury or death. Exercise extreme caution! Ensure that only a qualified electrician installs/services this equipment.

- Ensure that tool or fixture connected to work device is in good working order. If it is, proceed to step 2.
- Remove power from reel.
- Remove access cover (1). (See Figure 2)
- Reapply power to reel.
- Check for correct voltage (120 V AC) at terminal strip (2).(See Figure 2) If voltage reading is correct, replace output electrical cord/work device (refer to Service Instructions on page 3). If voltage reading is incorrect, proceed to step 6.
- Remove power from reel.
- Using ohmmeter, check continuity of input electrical cord. If cord checks good, proceed to step 8. If cord is faulty, replace it (see page 3).
- Remove brush holder/brushes from reel and inspect (see page 3). Replace defective components then proceed to step 9.
- Reapply power to reel.
- Check for correct voltage (120 V AC) at terminal strip (2). If voltage reading is still incorrect, replace defective collector assembly (see page 3).
- Replace access cover (1).
Maintain reel by following the instructions given below. Refer all other repairs, other than those listed, to Uline Customer Service at 1-800-295-5510. Failure to do so can result in personal injury and/or equipment damage and may void the warranty.
REPLACING THE OUTPUT ELECTRICAL CORD
WARNING! Select output cable in accordance with power requirement of apparatus to be supplied. Ensure that application does not exceed electrical rating of reel. Use extreme caution, reel under tension. Avoid releasing latch mechanism.

- Pull output electrical cord from reel until fully extended, then latch.
- Remove output electrical bumper stop (7).
- Disconnect output electrical cord/work device (12) at terminal strip (10).
- Remove strain relief (8). Remove output electrical cord/work device.
- Install replacement electrical cord/work device by reversing steps 2 through 4.
- Release latch and rewind electrical cord on reel.
- Replace access cover (1).
REPLACING THE INPUT ELECTRICAL CORD
WARNING! Use only 12/3 or 16/3 cable for input wiring. Ensure that application does not exceed electrical rating of reel. All cord reels with GFCI receptacles must be hard wired into the electrical circuit. Use of 2 or 3 prong plugs may cause a potential malfunction of the GFCI receptacle.
- Remove wire nuts (15) securing input electrical cord to collector assembly (13).
- Remove 90 degree elbow (9).
- Remove input electrical cord.
- Remove 11″ of outer jacket from replacement input electrical cord (input electrical cord wires must protrude a minimum of 6″ from center of collector assembly).
- Install replacement input electrical cord by reversing steps 1 through 3.
- Replace access cover (1).
REPLACING THE BRUSH HOLDER/BRUSHES
- At terminal strip (10), remove wires connecting brushes (11) to terminal strip.
- Remove lock nuts (3) securing brush holder (6) to reel. Relocate cable clamp temporarily and remove brush holder.
- Remove brushes (4) from brush holder (6).
- Install replacement brush holder/brushes by reversing steps 1 through 3. Upon completion of installation, adjust brush-to-ring alignment by loosening nuts (5) and sliding finger assembly (2).
REPLACING THE COLLECTOR ASSEMBLY
- Remove wire nuts (15) securing input electrical cord to collector assembly.
- At terminal strip (10), disconnect wires (11) connecting brushes (4) to terminal strip.
- Remove lock nuts (3) securing brush holder (6) to reel. Relocate cable clamp temporarily and remove brush holder.
- Remove snap ring (14).
- Remove collector assembly (13).
- Install replacement collector assembly by reversing steps 1 through 5. Upon completion of installation, adjust brush-to-ring alignment by loosening nuts (5) and sliding finger assembly (2).
- Replace access cover (1).




















