
DESCRIPTION
| Key No. | Description | Part No. |
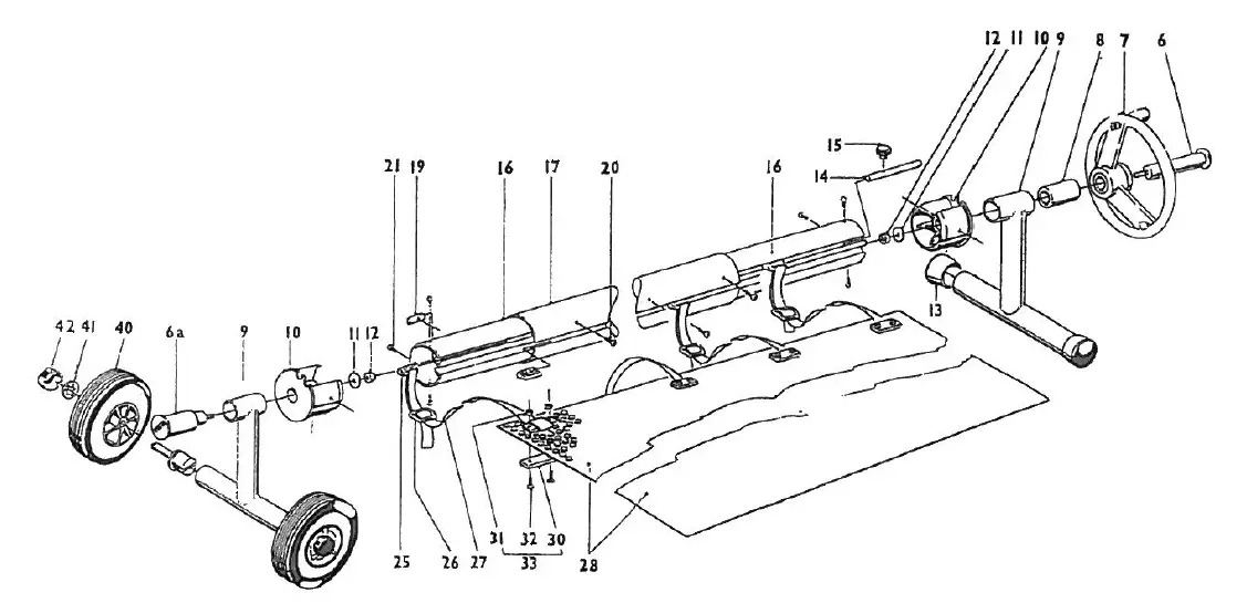
| 6 | Bearing Long | ERC3001 |
| 6a | Bearing Short | ERC3002 |
| 7 | Hand Wheel | ERC3003 |
| 8 | Bearing Sleeve | ERC3004 |
| 9 | Stand Frame | ERC3005 |
| 10 | End Boss | ERC3006 |
| 11 | Washer | ERC3007 |
| 12 | Nut | ERC3008 |
| 13 | End Cap | ERC3009 |
| 14 | Brake Rod | ERC3010 |
| 15 | Brake Screw | ERC3011 |
| Key No. | Description | Part No. |
| 16 | Tube Inner (1.85m) | ERC3012 |
| 17 | Tube Outer (2.70m) | ERC3013 |
| 19 | Brass Insert | ERC3014 |
| 20 | Brass Insert Screw | ERC3015 |
| 21 | End Boss | ERC3016 |
| 25 | Plastic Strap Insert | ERC3017 |
| 26 | Strap Buckle | ERC3018 |
| 27 | Strap | ERC3019 |
| 30 | Plastic Strap Clamp | ERC3020 |
| 31 | Strap Clamp Nut | ERC3021 |
| 32 | Strap Clamp Screw | ERC3022 |
| 40/41/42 | Wheel Assembly | ERC3023 |
TUBE ASSEMBLY
- First, loosen the Allen screws on the assembled tube and insert a loose inner tube to the other end.
- Undo the Allen screws fixed to the short brass insert (item 19). Slide the brass insert rods inside the channel under the outer tubes until the holes line up and insert brass screws (item 20) to clamp the tube.
- Fit the steering wheel end frame (item 9) into the tube and secure it with the self-tapping screws provided. It is important that the channel lines up with the gaps in the end frames (Failure to do so will prevent the plastic insert – item 25 – from sliding into the tubes – item 16).
Fit the non-steering wheel end frame (item 9) into the tube and secure it with the self-tap screws provided, ensuring that the channel lines up as above. - Place the assembled reel system in a position square to the pool where it will be used. 6. The reel system tubes should be adjusted to the required size of the pool. Normally the tube length should be 2′ (0.6m) longer than the pool width. This reel is only suitable for a maximum cover width of 17′(5.1 Bm). (Do not exceed maximum tube extension, this is marked on the inner tubes – item 16 – by a blue line).
- Fit straps by inserting the plastic slide bars into the channels depending on how many are required. Straps should be at approximately 2′ – 3′ (0.6m – 0.9m) spacings starting from the middle of the reel system.
- Fit the locking bar (item 14/15) into the channel and tighten. This prevents the tube from rotating when not in use.
- You are now ready to attach the straps to the cover.
COVER ATTACHMENT
- With the cover cut to the size of the pool as required pull the cover out of the water towards the reel system until the two meet.
- Start from the middle of the cover with the first strap point and work towards the outside positioning straps at distances no more than 3′ (0.9m) apart. (Ideal strap spacing 2′ – 3′ (0.6m – 0.9m).
- The two outside straps should be 1.5″ (40mm) in from the edge of the cover.
- Attach long straps to the plastic bar (item 25) as a diagram and fit to cover.
- Adjust strap length for even tension and tighten bolts (items 30/31 /32) on the cover.
- Be sure strap lengths allow the cover to be in complete contact with the water surface when on the pool.
NOTE
The reel is best operated as close to the pool edge as possible to avoid the cover rubbing on the copings or pool surround. This can cause damage to the underside of the cover if the reel is not positioned correctly.
- Both reel and cover should be washed down on a regular basis with fresh tap water to stop build up of chemical deposits.
- To aid pulling the cover on and off the pool we recommend you fit a Plastica
- D.1.Y. leading edge, which is available through your local supplier.




















