RT402-OLP Series RT Spring Driven Hose Reels
User Manual
RT402-OLP Series RT Spring Driven Hose Reels
Low Pressure Model Numbers:
| RT402-OLP RT403-OLP RT405-OLP RT406-OLP RT602-OLP RT603-OLP RT605-OLP RT802-OLP RT803-OLP | RT805-OLP RT425-OLP RT435-OLP RT450-OLP RT465-OLP RT625-OLP RT635-OLP RT650-OLP RT825-OLP | RT835-OLP RT850-OLP RT450-OLPSM RT635-OLPSM RT650-OLPSM RT825-OLPSM RT835-OLPSM RT850-OLPSM |
Dimensions
![]() | A | 17 7/8” | ![]() | A | 18” |
| B | 16 1/2” | B | 16 7/16” | ||
| C | 6” | C | 16 11/16” | ||
| D | 2 1/4” | D | 3 5/16” | ||
| E | See page 6 | F | See page 7 |
SAFETY
Personal injury and/or equipment damage may result if proper safety precautions are not observed.
- Ensure that reel is properly installed before connecting input and output hoses.
- Bleed fluid/gas pressure from system before servicing reel.
- Before connecting reel to supply line, ensure that pressure does not exceed maximum working pressure rating of reel.
- Remember, even low pressure is very dangerous and can cause personal injury or death.
- Be aware of machinery and personnel in work area.
- If a leak occurs in the hose or reel, remove system pressure immediately.
- A high tension spring assembly is contained within the reel. Exercise extreme caution.
- Pull hose from reel by grasping the hose itself, not the control valve.
- Ensure that reel, hose, and equipment being serviced are properly grounded. Use an ohmmeter to check ground continuity.
- If reel ceases to unwind or rewind, remove system pressure immediately. Do not pull or jerk on hose!
- Treat and respect the hose reel as any other piece of machinery, observing all common safety practices.
Mounting the Hose Reel
Prior to mounting the hose reel, ensure that the supply line pressure does not exceed the maximum working pressure of the hose reel.
Do not exceed the maximum installation height of 16’ unless the reel was specified differently when ordering. The maximum operating temperature is 150 °F (66 °C).
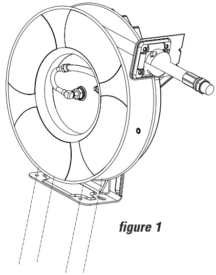
Unpack and inspect the reel for damage. Turn the spool by hand to check for a smooth operation.
Position the reel on the floor, wall or ceiling. Secure into place using four mounting bolts (not included). See the included mounting template for additional instructions for your specific mounting application. Depending on where the reel is placed, it may be necessary to adjust the bumper stop and guide arm to use the hose properly. See the instructions on the next page to adjust the bumper stop and reposition the guide arm.

Mounting Applications

Installing the Input Hose
Use a flexible hose connection at input. Do not use rigid plumbing. (input hose not included)
Apply pipe thread sealant to threads on standard reels.
Do not over tighten the connection. Recommended torque should not exceed 70 ft./lb.

Adjusting the Bumper Stop
Pull out the hose until the latch pawl is engaged.
The bumper stop may be adjusted by loosening the slotted screws shown in figure 6.
Slide the bumper to the desired position and tighten the screws BEFORE PULLING HOSE to disengage the latch pawl.

Removing the Guide Arm
Pull out hose until the latch pawl is engaged. Remove bumper by removing the slotted screws (figure 6).
Disengage the latch pawl while maintaining a firm hold on spool. Turn the spool hand over hand approximately two or three revolutions in the direction of the drive spring until tension is removed.
Remove the 4 nuts holding the guide arm to base (figure 7).

Positioning the Guide Arm
Remove the guide arm and adjust to any of the seven positions shown in figure 8.
See figures 2, 3, and 4, for recommended Guide Arm positions for each mounting application.
Replace and tighten the 4 nuts.
Tighten the drive spring by turning the spool two or three revolutions and engage the latch pawl.
Pull the hose through the roller opening in the guide arm and replace the bumper stop (figure 6)

Replacing the Latch Pawl
Remove the guide arm by following the procedure for “Removing the Guide Arm”. Remove the retaining nut as shown in figure 9.
Replace the latch pawl assembly.
Replace and tighten the retaining nut.
Replace the guide arm and bumper stop by following the procedure for “Positioning the Guide Arm”.

Replacing the Hose
To remove the hose
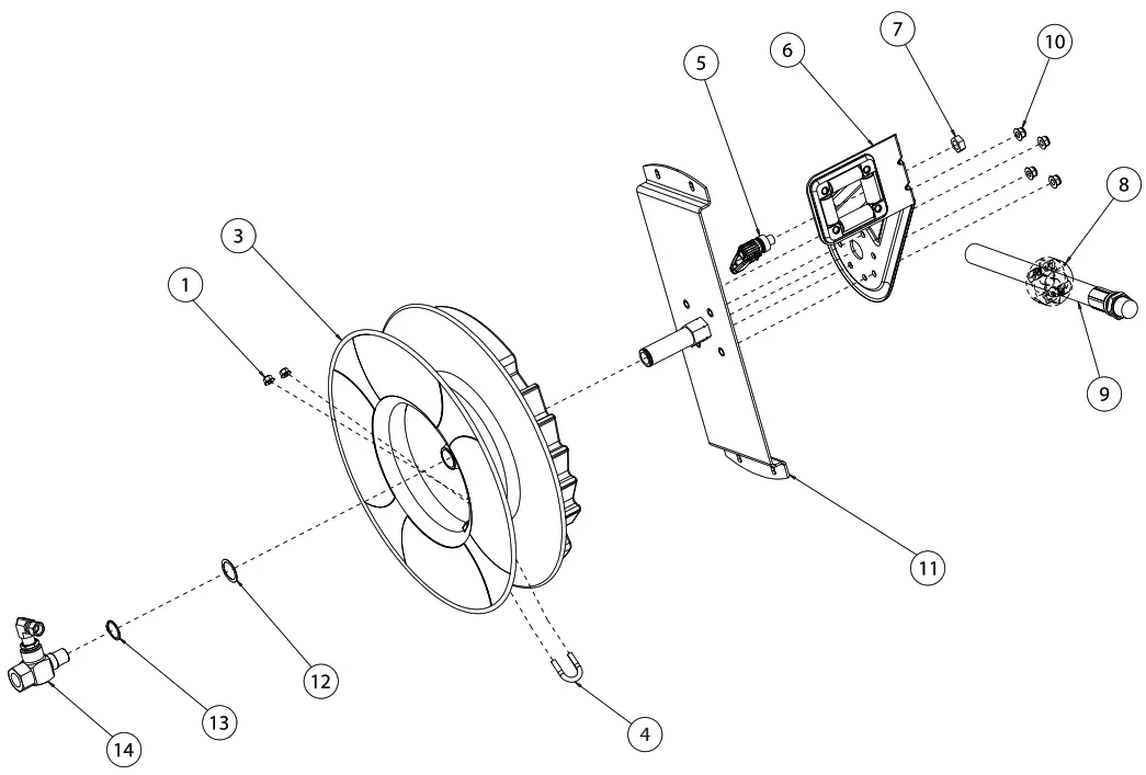
Pull out the hose leaving 2 to 3 feet on the spool. Engage the latch pawl. Remove the U-bolt nuts on the inside of the spool (figure 10). Remove the U-bolt.
Unthread the hose at the connection to the swivel tube. Use a wrench on both fittings or the swivel may be damaged. Remove the hose.
To install the hose
Route the hose through the guide arm rollers and opening of the spool. Apply thread tape or sealant to hose threads.
Screw hose fitting into threaded fitting on swivel. Tighten connection with a wrench on both fittings. Install the U-bolt (figure 10). Install bumper stop on working end of hose if required.
Disengage latch pawl and allow hose to retract.

Replacing the Swivel
Remove the hose.
See the procedure for “Replacing the Hose”.
Remove swivel by unscrewing the threaded stem from the main shaft (figure 11).
Replace swivel by screwing threaded stem of swivel into main shaft of reel. Replace the hose.

Replacing the Spool Assembly
Attach the reel securely to prevent it from moving. Pull out the hose just until the latch pawl is engaged. Remove the bumper stop by removing the slotted screws (figure 6).
Disengage the latch pawl while maintaining a firm hold on the spool. Turn the spool hand over hand approximately two or three revolutions until the spring tension is removed.
Unscrew the swivel stem from the main shaft. Next, remove the swivel by unscrewing the swivel from the hose (figure 11). Remove the retaining ring and spacing washer (figure 12). Pull the spool away from the base. Unwind the hose from the spool, remove the u-bolt (figure 10).
Install the spool assembly by inserting the shaft of the base into the hex shaped opening of the spool. Install spacing washer and retaining ring as shown (figure 12). Install the swivel by screwing the threaded stem of swivel into the main shaft of reel (figure 11).
Install the hose by screwing the hose fitting into the threaded fitting on the swivel. Tighten connection with a wrench on both fittings. Install the u-bolt (figure 10).
Pull in the hose by turning the spool by hand. When the hose is completely wound onto the spool, turn the spool in the other direction two to three revolutions. Pull the hose through the roller opening in the guide arm and replace the bumper stop (figure 6).


| Item# | Description | #Req. | RT402-OLP | RT403-OLP | RT405-OLP | RT406-OLP | RT602-OLP | RT603-OLP | RT605-OLP | RT802-OLP | RT803-OLP | RT805-OLP |
| 1 | 1/4-20 Lock Nut | 2 | 261650-1 | 261650-1 | 261650-1 | 261650-1 | 261650-1 | 261650-1 | 261650-1 | 261650-1 | 261650-1 | 261650-1 |
| 3 | Spool Assembly | 1 | 600827 | 600827 | 600828 | 602239 | 600827 | 600827 | 600828 | 600879 | 600879 | 602011 |
| 4 | U-Bolt | 1 | 3-117440 | 3-117440 | 3-117440 | 3-117440 | 3-117440 | 3-117440 | 3-117440 | 3-117440 | 3-117440 | 3-117440 |
| 5 | Latch Pawl Assembly | 1 | 600823 | 600823 | 600823 | 600823 | 600823 | 600823 | 600823 | 600823 | 600823 | 600823 |
| 6 | Guide Arm Assembly | 1 | 602606 | 602606 | 602606 | 602606 | 602606 | 602606 | 602606 | 602606 | 602606 | 602607 |
| 7 | Nut 1/2” | 1 | S76-108 | S76-108 | S76-108 | S76-108 | S76-108 | S76-108 | S76-108 | S76-108 | S76-108 | S76-108 |
| 8 | Bumper Stop | 1 | NONE | NONE | NONE | NONE | NONE | NONE | NONE | NONE | NONE | NONE |
| 9 | Hose Assembly | 1 | NONE | NONE | NONE | NONE | NONE | NONE | NONE | NONE | NONE | NONE |
| 10 | Nut 5/16” | 4 | 261650-2 | 261650-2 | 261650-2 | 261650-2 | 261650-2 | 261650-2 | 261650-2 | 261650-2 | 261650-2 | 261650-2 |
| 11 | Base Assembly | 1 | 600833 | 600833 | 600833 | 600833 | 600833 | 600833 | 600833 | 600833 | 600833 | 602012 |
| 12 | Spacing Washer | 1 | 300034 | 300034 | 300034 | 300034 | 300034 | 300034 | 300034 | 300034 | 300034 | 300034 |
| 13 | Snap Ring | 1 | 300031 | 300031 | 300031 | 300031 | 300031 | 300031 | 300031 | 300031 | 300031 | 300031 |
| 14 | Swivel Assembly | 1 | S600886 | S600886 | S600886 | S600886 | S600886 | S600886 | S600886 | 602840-1 | 602840-1 | 602840-1 |
| “E” Dimensions – See page 1 | 6 1/4” | 6 1/4” | 6 1/4” | 6 1/4” | 6 1/4” | 6 1/4” | 6 1/4” | 6 1/4” | 6 1/4” | 7 3/4” | ||
| Item# | Description | #Req. | RT425-OLP | RT435-OLP | RT450-OLP | RT465-OLP | RT625-OLP | RT635-OLP | RT650-OLP | RT825-OLP | RT835-OLP | RT850-OLP |
| 1 | 1/4-20 Lock Nut | 2 | 261650-1 | 261650-1 | 261650-1 | 261650-1 | 261650-1 | 261650-1 | 261650-1 | 261650-1 | 261650-1 | 261650-1 |
| 3 | Spool Assembly | 1 | 600827 | 600827 | 600828 | 602239 | 600827 | 600827 | 600828 | 600879 | 600879 | 602011 |
| 4 | U-Bolt | 1 | 3-117440 | 3-117440 | 3-117440 | 3-117440 | 3-117440 | 3-117440 | 3-117440 | 3-117440 | 3-117440 | 3-117440 |
| 5 | Latch Pawl Assembly | 1 | 600823 | 600823 | 600823 | 600823 | 600823 | 600823 | 600823 | 600823 | 600823 | 600823 |
| 6 | Guide Arm Assembly | 1 | 602606 | 602606 | 602606 | 602606 | 602606 | 602606 | 602606 | 602606 | 602606 | 602607 |
| 7 | Nut 1/2” | 1 | S76-108 | S76-108 | S76-108 | S76-108 | S76-108 | S76-108 | S76-108 | S76-108 | S76-108 | S76-108 |
| 8 | Bumper Stop | 1 | 1-HR1004-A | 1-HR1004-A | 1-HR1004-A | 1-HR1004-A | 1-HR1004 | 1-HR1004 | 1-HR1004 | 2-HR1004-3 | 2-HR1004-3 | 2-HR1004-3 |
| 9 | Hose Assembly | 1 | 601001-25 | 601001-35 | 601001-50 | 601000-65 | 601013-25 | 601013-35 | 601013-50 | 601020-25 | 601022-35 | 601022-50 |
| 10 | Nut 5/16” | 4 | 261650-2 | 261650-2 | 261650-2 | 261650-2 | 261650-2 | 261650-2 | 261650-2 | 261650-2 | 261650-2 | 261650-2 |
| 11 | Base Assembly | 1 | 600833 | 600833 | 600833 | 600833 | 600833 | 600833 | 600833 | 600833 | 600833 | 602012 |
| 12 | Spacing Washer | 1 | 300034 | 300034 | 300034 | 300034 | 300034 | 300034 | 300034 | 300034 | 300034 | 300034 |
| 13 | Snap Ring | 1 | 300031 | 300031 | 300031 | 300031 | 300031 | 300031 | 300031 | 300031 | 300031 | 300031 |
| 14 | Swivel Assembly | 1 | S600886 | S600886 | S600886 | S600886 | S600886 | S600886 | S600886 | 602840-1 | 602840-1 | 602840-1 |
| “E” Dimensions – See page 1 | 6 1/4” | 6 1/4” | 6 1/4” | 6 1/4” | 6 1/4” | 6 1/4” | 6 1/4” | 6 1/4” | 6 1/4” | 7 3/4” | ||

| Item# | Description | #Req. | RT450-OLPSM | RT635-OLPSM | RT650-OLPSM | RT825-OLPSM | RT835-OLPSM | RT850-OLPSM |
| 1 | 1/4-20 Lock Nut | 2 | 261650-1 | 261650-1 | 261650-1 | 261650-1 | 261650-1 | 261650-1 |
| 3 | Spool Assembly | 1 | S600828 | S600827 | S600828 | S600879 | S600879 | 602011 |
| 4 | U-Bolt | 1 | 3-117440 | 3-117440 | 3-117440 | 3-117440 | 3-117440 | 3-117440 |
| 5 | Latch Pawl Assembly | 1 | S600823 | S600823 | S600823 | S600823 | S600823 | S600823 |
| 6 | Guide Arm Assembly | 1 | S600826 | S600826 | S600826 | S600826 | S600826 | 602014 |
| 7 | Nut 1/2” | 1 | S76-108 | S76-108 | S76-108 | S76-108 | S76-108 | S76-108 |
| 8 | Bumper Stop | 1 | 1-HR1004-A | 1-HR1004 | 1-HR1004 | 2-HR1004-3 | 2-HR1004-3 | 2-HR1004-3 |
| 9 | Hose Assembly | 1 | S601001-50 | S601013-35 | S601013-50 | 601020-25 | S601022-35 | S601022-50 |
| 10 | Nut 5/16” | 4 | 261650-2 | 261650-2 | 261650-2 | 261650-2 | 261650-2 | 261650-2 |
| 11 | Shaft / Bracket Assembly | 1 | 602263 | 602263 | 600264 | 602264 | 602264 | 602265 |
| 12 | Spacing Washer | 1 | 300034 | 300034 | 300034 | 300034 | 300034 | 300034 |
| 13 | Snap Ring | 1 | 300031 | 300031 | 300031 | 300031 | 300031 | 300031 |
| 14 | Swivel Assembly | 1 | 602262 | 602262 | 602262 | 602311 | 602311 | 602311 |
| “E” Dimensions – See page 1 | 7 5/16” | 7 5/16” | 7 5/16” | 7 5/16” | 7 5/16” | 8 5/8” | ||
Reelcraft Industries, Inc.
2842 E Business Hwy 30, Columbia City, IN 46725
Ph: 800-444-3134 / 260-248-8188
Fax: 800-444-4587 / 260-248-2605
Customer Service: 855-634-9109
[email protected]
www.reelcraft.com
Form# 1121-802A
Rev: 5/2022





















