STAND-V003KL Pneumatic Arm Dual Monitor Desk Mount
Instruction Manual
STAND-V003KL Pneumatic Arm Dual Monitor Desk Mount
SKU: STAND-V003KL
Scan the QR code with your mobile device or follow the link for helpful videos and specifications related to this product.
https://vivo-us.com/products/stand-v003kl
GET IN TOUCH | Monday-Friday from 7:00am-7:00pm CST
[email protected]
www.vivo-us.com
Chat live with an agent!
309-278-5303
WARNING!
If you do not understand these directions, or if you have any doubts about the safety of the installation, please call a qualified technician. Check carefully to make sure there are no missing or defective parts. Improper installation may cause damage or serious injury. Do not use this product for any purpose that is not explicitly specified in this manual. Do not exceed weight capacity. We cannot be liable for damage or injury caused by improper mounting, incorrect assembly or inappropriate use.
WARNING: CHOKING HAZARD
SMALL PARTS – NOT FOR CHILDREN UNDER 3 YEARS. ADULT SUPERVISION IS REQUIRED.
PACKAGE CONTENTS

NOTE: NOT ALL HARDWARE INCLUDED WILL BE USED
TOOLS NEEDED
DO NOT EXCEED WEIGHT CAPACITY.
Failure to do so may result in serious injury.
ASSEMBLY STEPS
STEP 1
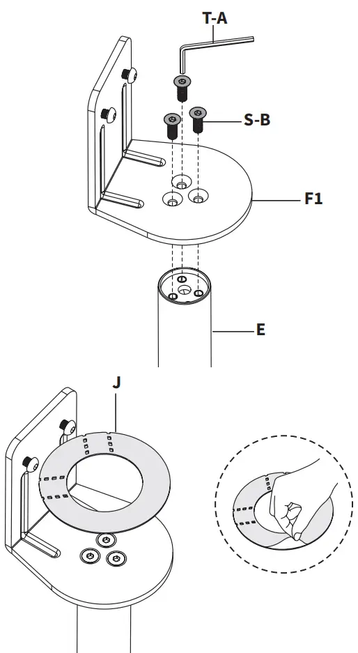
Loosen the screws on Clamp (F) using the 4mm Allen Wrench (T-A) and separate into Upper Clamp (F1) and Lower Clamp (F2).

STEP 2
| OPTION A: Clamp Installation Assemble Upper Clamp (F1) to Pole (E) using the M6x16mm Screws (S-B) and 4mm Allen Wrench (T-A). Remove the adhesive backing on Soft Pad (J) and place it onto Upper Clamp (F1). | OPTION B: Grommet Base Installation Cut Soft Pad (J) along the indentations. Remove the adhesive backing on Soft Pad (J) and place it onto Grommet Plate (H). |
![]() | ![]() |
| For thinner desktops, re-attach Lower Clamp (F2) to Upper Clamp (F1) and tighten the screws using the 4mm Allen Wrench (T-A). For thicker desktops, disassemble Lower Clamp (F2) using a Phillips screwdriver as shown below. Flip the L-bracket over and reassemble. Then re-attach Lower Clamp (F2) to Upper Clamp (F1) and tighten the screws using 4mm Allen Wrench (T-A). Secure Clamp (F) to the desktop. | Using a 10mm (⅜”) drill bit, drill through the desktop at least 2” away from the edge. Disassemble Lower Clamp (F2) using a Philips screwdriver. Set aside all parts except for Clamp Bolt (F3). Assemble Pole (E) with Grommet Base (F) to the desktop using Support Plate (I) and Clamp Bolt (F3) as shown below. |
![]() | ![]() |
STEP 3
While holding Dual Arm (A) and Arm (B) closed, cut the shipping tie and gently release.

STEP 4
Loosen the screw on the back of Dual Arm (A) and Arm (B) using 6mm Allen Wrench (T-B). Slide Dual Arm (A) and Arm (B) onto Pole (E) and retighten screws. Secure Cable Clip (L) to Pole (E).

STEP 5
Place Laptop Arms (G) underneath each side of Laptop Tray (C), aligning square holes in arms with the edge and long slot on each side. Insert Clips (K) through top to secure arms, making sure all four locks on each clip are engaged with the square holes in arms.

STEP 6
Attach Laptop Tray (C) to 75mm and 100mm holes on VESA Plate (D) using M4x8mm Screws (S-A) and a Phillips screwdriver.
STEP 7
Slide VESA Plate (D) with Laptop Tray (C) onto Arm (B) and secure using Thumbscrew (S-C).
STEP 8
Attach VESA Plates (D) to the back of the monitors using Screws (M-A through M-D) and Washers (M-E).
If needed, use Spacers (M-F).
STEP 9
Slide VESA Plates (D) with monitors over bracket on Dual Arm (A). Secure using Thumbscrews (S-C).
Release locks on underside of Laptop Arms (G). Extend Laptop Arms (G), place the laptop on Laptop Tray (C), then adjust Laptop Arms (G) to the width of the laptop. Engage locks to secure the laptop. If using a thicker laptop, turn the front bumpers to the upward position for additional support.
STEP 10
Remove bottom covers from Dual Arm (A) and Arm (B) by sliding them off. Organize cables and re-attach covers.
STEP 11
Adjust tilt support using 6mm Allen Wrench (T-B). Store Allen Wrenches (T-A and T-B) in Cable Clip (L).
Adjust as desired. Adjust the tension in gas spring arms using 6mm Allen Wrench (T-B).
Love your new VIVO setup and want to share?
Tag us in your photo! @vivo_us
Open Monday – Friday 7:00am – 7:00pm CST,
our dedicated support team can offer immediate assistance with rapid response times. If any parts are received damaged or defective, please contact us. We are happy to replace parts to ensure you have a fully functioning product.
309-278-5303 AVG. RESOLUTION TIME (within office hrs): 5M 4S
AVG. RESOLUTION TIME (within office hrs): < 15 M www.vivo-us.com Chat live with an agent!
[email protected]
AVG. RESPONSE TIME (within office hrs): 1HR 8M
– 23% within < 15m
– 38% within < 30m
– 61% within < 1hr
– 83% within < 2hr
– 92% within < 3hr
FOR MORE VIVO PRODUCTS, CHECK OUT OUR WEBSITE AT: www.vivo-us.com
LAST UPDATED: 10/10/2022
REV1













