V I V O STAND-V032 Dual Monitor Desk Mount

Dual Monitor Desk Mount
Product Information
The Dual Monitor Desk Mount (SKU: STAND-V032) is a versatile and sturdy mount designed to hold two monitors. It comes with a pole, clamp, swivel arm, VESA plates, grommet base plate, pole cable clip, soft pad, arm cable clips, support plate, pole cap, and various screws and wrenches for assembly. The mount can hold up to 22 lbs per arm (10kg) and has options for both desk clamp and grommet installation.
The mount is equipped with adjustable tilt and level settings, allowing users to customize the monitor position to their liking.
The mount also includes cable management clips to help keep cords organized and out of the way.
If any parts are received damaged or defective, customers can contact the dedicated support team for assistance.
Product Usage Instructions
- Before assembly, scan the QR code or visit the provided link for helpful videos and specifications related to the product.
- Identify all package contents and tools needed for assembly. Note that some included hardware may not be used.
- Step 1: Loosen the knob on the clamp (B) before installation. Do not exceed weight capacity.
- Step 2A: For desk clamp installation, mount the clamp (B) to the pole (A) using M6x16mm screws (S-A) and a 3mm
Allen wrench (T-A). Secure the assembly to the desktop by tightening the knob on the clamp (B). - Step 2B: For grommet installation, remove the screw from the clamp (B) and disassemble. Mount the grommet plate (E) to the pole (A) using M6x16mm screws (S-A) and a 3mm Allen wrench (T-A). Remove the adhesive backing from the soft pad (F) and adhere it to the grommet plate (E). Drill through the desktop surface using a 3/8 (10mm) drill bit and secure the assembly using the knob (B2) and support plate (G).
- Step 3: Slide the pole cable clip (I) and swivel arm (C) onto the pole (A). Secure the swivel arm (C) in place using a 6mm Allen wrench (T-C). Attach the pole cap (H) to the pole (A). Attach arm cable clips (J) to the swivel arm (C).
- Step 4: Secure VESA plates (D) to monitors using M4x12mm thumbscrews (M-A) or M4x30mm screws (M-B). M6 spacers (M-C) may be required.
- Step 5: Slide monitors with VESA plates (D) onto swivel arm (C). Secure VESA plates (D) in place using M6 security nuts (S-B).
- Step 6: Manage cables using arm cable clips (J) and pole cable clip (I). Adjust the monitor tilt using a 5mm Allen wrench (T-B). To level monitors, remove M6 security nuts (S-B) and tighten or loosen adjustment screws using a 3mm Allen wrench (T-A). Once level, fasten M6 security nuts (S-B) back into place.
- Tag @vivo_us in photos of your new setup!
SKU: STAND-V032
Scan the QR code with your mobile device or follow the link for helpful videos and specifications related to this product.
Instruction Manual
https://vivo-us.com/products/stand-v032
WARNING!
If you do not understand these directions, or if you have any doubts about the safety of the installation, please call a qualified technician. Check carefully to make sure there are no missing or defective parts. Improper installation may cause damage or serious injury. Do not use this product for any purpose that is not explicitly specified in this manual. Do not exceed weight capacity.
We cannot be liable for damage or injury caused by improper mounting, incorrect assembly or inappropriate use.
TIPOVER WARNING
SERIOUS OR FATAL CRUSHING INJURIES CAN OCCUR FROM TIPOVER. TO HELP PREVENT TIPOVER:
- NEVER ALLOW CHILDREN TO CLIMB, STAND, HANG, OR PLAY ON ANY PART OF MONITOR OR STAND.
- USE TIPOVER RESTRAINT OR ANCHOR STAND TO WALL
USE OF TIPOVER RESTRAINTS MAY ONLY REDUCE, BUT NOT ELIMINATE RISK OF TIPOVER.
WARNING: CHOKING HAZARD
SMALL PARTS – NOT FOR CHILDREN UNDER 3 YEARS. ADULT SUPERVISION IS REQUIRED.
PACKAGE CONTENTS

NOTE: SOME HARDWARE INCLUDED MAY NOT BE USED
TOOLS NEEDED

DO NOT EXCEED WEIGHT CAPACITY. Failure to do so may result in serious injury.
ASSEMBLY STEPS
STEP 1
Loosen knob on Clamp (B).

STEP 2
A: DESK CLAMP
Mount Clamp (B) to Pole (A) using M6x16mm Screws (S-A) 3mm Allen Wrench (T-A). Secure assembly to desktop by tightening knob on Clamp (B).

B: GROMMET MOUNT
Grommet Installation
Using a phillips screwdriver, remove the screw from Clamp (B) and disassemble. Set Knob (B2) aside. Mount Grommet Plate (E) to Pole (A) using M6x16mm Screws (S-A) and 3mm Allen Wrench (T-A). Remove adhesive backing from Soft Pad (F) and adhere to Grommet Plate (E). Using a 3/8” (10mm) drill bit, drill through desktop surface and secure assembly using Knob (B2) and Support Plate (G).


STEP 3
Slide Pole Cable Clip (I) and Swivel Arm (C) onto Pole (A). Secure Swivel Arm (C) in place using 6mm Allen Wrench (T-C). Attach Pole Cap (H) to Pole (A). Attach Arm Cable Clips (J) to Swivel Arm (C).

STEP 4
Secure VESA Plates (D) to monitors using M4x12mm Thumbscrews (M-A) or M4x30mm Screws (M-B). M6 Spacers (M-C) may be required.

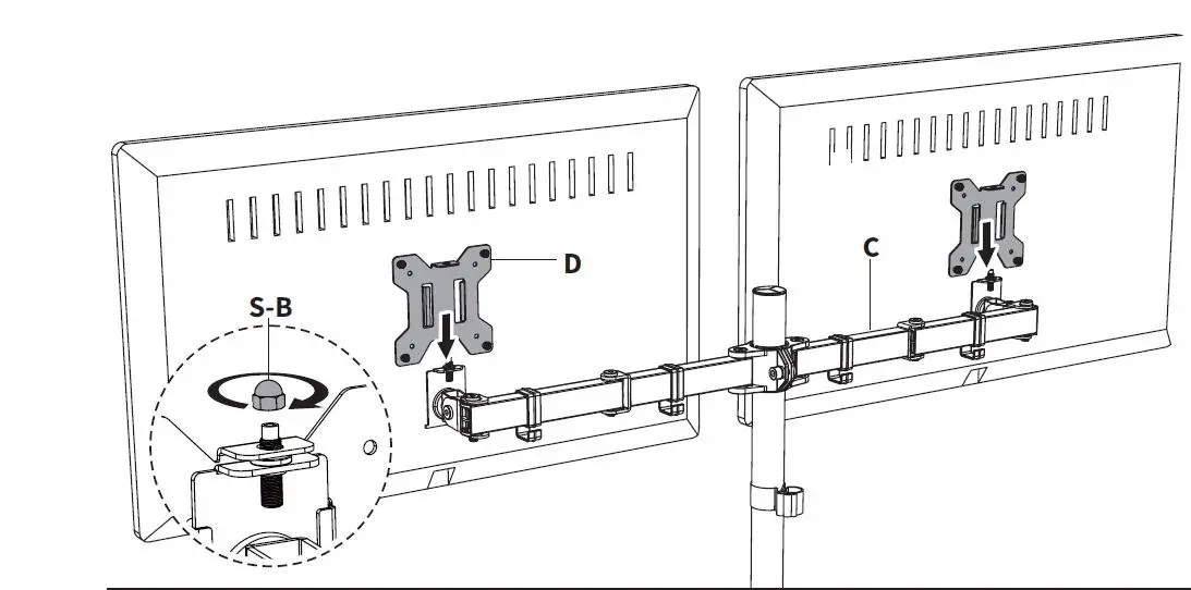
STEP 5
Slide monitors with VESA Plates (D) onto Swivel Arm (C). Secure VESA Plates (D) in place using M6 Security Nuts (S-B).

STEP 6
Manage cables using Arm Cable Clips (J) and Pole Cable Clip (I).

Adjust the monitor tilt using 5mm Allen Wrench (T-B). To level monitors, remove M6 Security Nuts (S-B) and tighten or loosen adjustment screws using 3mm Allen Wrench (T-A). Once level, fasten M6 Security Nuts (S-B) back into place.

Love your new VIVO setup and want to share? Tag us in your photo! @vivo_us
Open Monday – Friday 7:00am – 7:00pm CST,
our dedicated support team can offer immediate assistance with rapid response times. If any parts are received damaged or defective, please contact us. We are happy to replace parts to ensure you have a fully functioning product.
309-278-5303
AVG. RESOLUTION TIME (within office hrs): 5M 4S
www.vivo-us.com
Chat live with an agent!
AVG. RESOLUTION TIME (within office hrs): < 15 M
[email protected]
AVG. RESPONSE TIME (within office hrs): 1HR 8M
- 23% within < 15m
- 38% within < 30m
- 61% within < 1hr
- 83% within < 2hr
- 92% within < 3hr










