Dual Monitor Desk Mount
Instruction Manual
STAND-V032,W Steel Dual Monitor Desk Mount
SKU: STAND-V032,W
Scan the QR code with your mobile device or follow the link for helpful videos and specifications related to this product.
https://vivo-us.com/products/stand-v032
GET IN TOUCH | Monday-Friday from 7:00am-7:00pm CST
| [email protected] | |
| www.vivo-us.com Chat live with an agent! | |
| 309-278-5303 |
WARNING!
If you do not understand these directions, or if you have any doubts about the safety of the installation, please call a qualified technician. Check carefully to make sure there are no missing or defective parts. Improper installation may cause damage or serious injury. Do not use this product for any purpose that is not explicitly specified in this manual. Do not exceed weight capacity. We cannot be liable for damage or injury caused by improper mounting, incorrect assembly or inappropriate use.
TIPOVER WARNING
SERIOUS OR FATAL CRUSHING INJURIES CAN OCCUR FROM TIPOVER. TO HELP PREVENT TIPOVER:
- NEVER ALLOW CHILDREN TO CLIMB, STAND, HANG, OR PLAY ON ANY PART OF MONITOR OR STAND.
- USE TIPOVER RESTRAINT OR ANCHOR STAND TO WALL
USE OF TIPOVER RESTRAINTS MAY ONLY REDUCE, BUT NOT ELIMINATE RISK OF TIPOVER.
WARNING: CHOKING HAZARD
SMALL PARTS – NOT FOR CHILDREN UNDER 3 YEARS. ADULT SUPERVISION IS REQUIRED.
PACKAGE CONTENTS
NOTE: SOME HARDWARE INCLUDED MAY NOT BE USED
TOOLS NEEDED

DO NOT EXCEED WEIGHT CAPACITY.
Failure to do so may result in serious injury.
ASSEMBLY STEPS
STEP 1
Loosen knob on Clamp (B).
STEP 2A: DESK CLAMP
Mount Clamp (B) to Pole (A) using M6x16mm Screws (S-A) 3mm Allen Wrench (T-A).
Secure assembly to desktop by tightening knob on Clamp (B).
STEP 2B: GROMMET MOUNT
Grommet Installation
Using a Phillips screwdriver, remove the screw from Clamp (B) and separate Clamp Bolt (B1) and Clamp Plate (B2) from the clamp assembly. Thread Clamp Plate (B2) onto Clamp Bolt (B1).
Install Grommet Base (F) to Pole (A) using M6x16mm Screws (S-D) and 3mm Allen Wrench (T-A). Remove adhesive backing from Soft Pad (G) and stick it to the bottom of Grommet Base (F).
If not using an existing through-hole for mounting, use a 3/8” (10mm) drill bit to create a mounting hole in the desired location. Thread Clamp Bolt (B1) with Clamp Plate (B2) through the mounting hole and into Pole (A).
STEP 3
Slide Pole Cable Clip (H) and Swivel Arm (C) onto Pole (A). Secure Swivel Arm (C) in place using 5mm Allen Wrench (T-B). Attach Pole Cap (G) to Pole (A). Attach Arm Cable Clips (I) to Swivel Arm (C).
STEP 4
Secure VESA Plates (D) to monitors using M4x12mm Thumbscrews (M-A) or M4x30mm Screws (M-B). M6 Spacers (M-C) may be required.
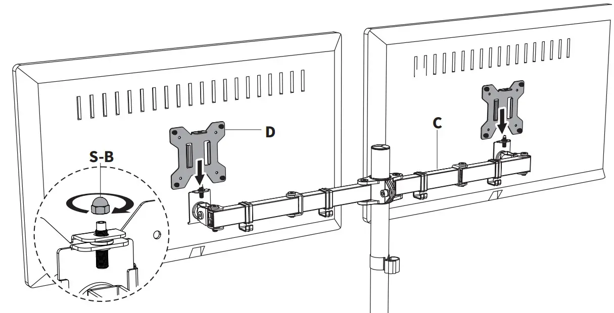
STEP 5
Slide monitors with VESA Plates (D) onto Swivel Arm (C). Secure VESA Plates (D) in place using M6 Security Nuts (S-B).
STEP 6
Manage cables using Arm Cable Clips (I) and Pole Cable Clip (H).
STEP 6
Adjust the monitor tilt using 5mm Allen Wrench (T-B). To level monitors, remove M6 Security Nuts (S-B) and tighten or loosen adjustment screws using 3mm Allen Wrench (T-A). Once level, fasten M6 Security Nuts (S-B) back into place.
Love your new VIVO setup and want to share?
Tag us in your photo! @vivo_us
LAST UPDATED: 04/28/2023
REV1.1
Open Monday – Friday 7:00am – 7:00pm CST,
our dedicated support team can offer immediate assistance with rapid response times. If any parts are received damaged or defective, please contact us. We are happy to replace parts to ensure you have a fully functioning product.
| 309-278-5303 | AVG. RESOLUTION TIME (within office hrs): 5M 4S | |
| www.vivo-us.com Chat live with an agent! | AVG. RESOLUTION TIME (within office hrs): < 15 M | |
| [email protected] | AVG. RESPONSE TIME (within office hrs): 1HR 8M – 23% within < 15m – 38% within < 30m – 61% within < 1hr – 83% within < 2hr – 92% within < 3hr |










