V I V O STAND-V003E Triple Monitor Desk Stand

Product Information: Triple Monitor Desk Stand
The Triple Monitor Desk Stand (SKU: STAND-V003E) is a sturdy and adjustable stand that can hold up to three monitors. It comes with all the necessary hardware and tools for assembly, including VESA plates, brackets, arms, base, poles, cable clips, height adjustment knobs, screws, and wrenches. The stand can support a weight capacity of 17.6 lbs per arm (8kg) and is suitable for both flat and curved back monitors. For more information and helpful videos related to this product, you can scan the QR code with your mobile device or follow the link provided in the instruction manual. If you have any questions or concerns, you can get in touch with our dedicated support team via email, phone, or live chat during business hours.
Product Usage Instructions
- Attach the Bottom Pole (E) to the Base (D) using M6x14mm Screws (S-A) and 4mm Allen Wrench (T-B).
- Slide one Cable Clip (H) and Arm (C) onto Bottom Pole (E). Tighten Arm (C) at the desired height using 6mm Allen wrench (T-C).
- Thread Pole Connector (G) onto Bottom Pole (E). Thread Top Pole (F) into Pole Connector (G). Tighten the set screws on Pole Connector (G) using 3mm Allen Wrench (T-A).
- Slide one Cable Clip (H) and Bracket (B) onto Top Pole (F) and secure Bracket (B) at the desired height using 6mm Allen Wrench (T-C).
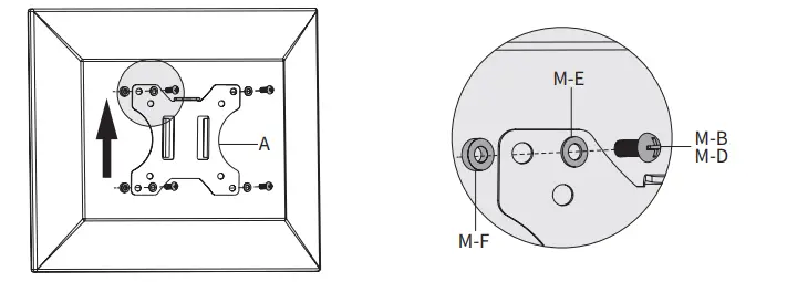
- For flat back monitors, install VESA Plate (A) to the monitor using M4x12mm Screws (M-A) or M5x12mm Screws (M-C) and M5 Washers (M-E). For curved back monitor, align Spacers (M-F) with mounting holes in the monitor and secure VESA Plate (A) to the monitor using M4x16mm Screws (M-B) or M5x16mm Screws (M-D) and M5 Washers (M-E).
- Slide monitors with VESA Plates (A) onto Arm (C) and Bracket (B).
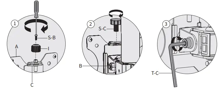
- Secure VESA Plates (A) on Arm (C) using Height Adjustment Knobs (I) and M3x8mm Screws (S-B). Assemble VESA Plate (A) to Bracket (B) using Thumbscrew (S-C). Adjust the tilt using 6mm Allen Wrench (T-C).
- Manage cables using cable management clips on Arm (C) and Cable Clips (H).
- Store Allen Wrenches (T-A, T-B and T-C) in cable management clips (H) for future adjustments.
- Level the side monitors by loosening Height Adjustment Knobs (I) using 6mm Allen Wrench (T-C).
- Do not move monitors past center of gravity. This could result in tipping.
If you love your new VIVO setup and want to share, tag us in your photo on social media. If any parts are received damaged or defective, please contact our support team for replacements.
SKU: STAND-V003E
Scan the QR code with your mobile device or follow the link for helpful videos and specifications related to this product.
Instruction Manual
https://vivo-us.com/products/stand-v003e
GET IN TOUCH | Monday-Friday from 7:00am-7:00pm CST
[email protected] www.vivo-us.com Chat live with an agent! 309-278-5303
WARNING!
If you do not understand these directions, or if you have any doubts about the safety of the installation, please call a qualified technician. Check carefully to make sure there are no missing or defective parts. Improper installation may cause damage or serious injury. Do not use this product for any purpose that is not explicitly specified in this manual. Do not exceed weight capacity. We cannot be liable for damage or injury caused by improper mounting, incorrect assembly or inappropriate use.
TIPOVER WARNING
SERIOUS OR FATAL CRUSHING INJURIES CAN OCCUR FROM TIPOVER. TO HELP PREVENT TIPOVER:
- TO PREVENT TIPPING, PLEASE BE CAREFUL NOT TO EXTEND THE ARMS TOO FAR FORWARD OR BACKWARD.
- NEVER ALLOW CHILDREN TO CLIMB, STAND, HANG, OR PLAY ON ANY PART OF MONITOR OR STAND.
- USE TIPOVER RESTRAINT OR ANCHOR STAND TO WALL
USE OF TIPOVER RESTRAINTS MAY ONLY REDUCE, BUT NOT ELIMINATE RISK OF TIPOVER.
WARNING: CHOKING HAZARD
SMALL PARTS – NOT FOR CHILDREN UNDER 3 YEARS. ADULT SUPERVISION IS REQUIRED.
PACKAGE CONTENTS
NOTE: SOME HARDWARE INCLUDED MAY NOT BE USED
TOOLS NEEDED
DO NOT EXCEED WEIGHT CAPACITY.
Failure to do so may result in serious injury
ASSEMBLY STEPS
- STEP 1
Attach Bottom Pole (E) to Base (D) using M6x14mm Screws (S-A) and 4mm Allen Wrench (T-B).
- STEP 2
Slide one Cable Clip (H) and Arm (C) onto Bottom Pole (E). Tighten Arm (C) at the desired height using 6mm Allen wrench (T-C).
- STEP 3
Thread Pole Connector (G) onto Bottom Pole (E). Thread Top Pole (F) into Pole Connector (G). Tighten the set screws on Pole Connector (G) using 3mm Allen Wrench (T-A).
- STEP 4
Slide one Cable Clip (H) and Bracket (B) onto Top Pole (F) and secure Bracket (B) at the desired height using 6mm Allen Wrench (T-C).
- STEP 5
OPTION A: Flat Back Monitor
For flat back monitors, install VESA Plate (A) to the monitor using M4x12mm Screws (M-A) or M5x12mm Screws (M-C) and M5 Washers (M-E).
OPTION B: Curved Back Monitor
For curved back monitor, align Spacers (M-F) with mounting holes in the monitor and secure VESA Plate (A) to the monitor using M4x16mm Screws (M-B) or M5x16mm Screws (M-D) and M5 Washers (M-E).
- STEP 6
Slide monitors with VESA Plates (A) onto Arm (C) and Bracket (B).
- STEP 7
Secure VESA Plates (A) on Arm (C) using Height Adjustment Knobs (I) and M3x8mm Screws (S-B). Assemble VESA Plate (A) to Bracket (B) using Thumbscrew (S-C). Adjust the tilt using 6mm Allen Wrench (T-C).
- STEP 8
Manage cables using cable management clips on Arm (C) and Cable Clips (H).
- STEP 9
Store Allen Wrenches (T-A, T-B and T-C) in cable management clips (H) for future adjustments.
- STEP 10
Level the side monitors by loosening Height Adjustment Knobs (I) using 6mm Allen Wrench (T-C).
- STEP 11
Do not move monitors past center of gravity. This could result in tipping
Love your new VIVO setup and want to share?
Tag us in your photo! @vivo_us
Open Monday – Friday 7:00am – 7:00pm CST, our dedicated support team can offer immediate assistance with rapid response times. If any parts are received damaged or defective, please contact us. We are happy to replace parts to ensure you have a fully functioning product.
309-278-5303 AVG. RESOLUTION TIME (within office hrs): 5M 4S
www.vwo-us.com Chat live with on agent!
www.vwo-us.com Chat live with on agent! AVG. RESOLUTION TIME (within office hrs). . < 15 M
www.vwo-us.com Chat live with on agent! AVG. RESOLUTION TIME (within office hrs). . < 15 M
[email protected]
AVG. RESPONSE TIME (within office hrs): 1HR 8M
- 23% within < 15m
- 38% within < 30m
- 61% within < 1hr
- 83% within < 2hr
- 92% within < 3hr
FOR MORE VIVO PRODUCTS, CHECK OUT OUR WEBSITE AT: www.vivo-us.com











