V I V O STAND-V038M Dual Monitor Desk Mount

Dual Monitor Desk Mount
Product Information
The Dual Monitor Desk Mount (SKU: STAND-V038M) is a mounting system designed to hold two monitors securely on a desk. The mount can hold monitors up to 17.6lbs (8kg) per arm and comes with the necessary hardware for installation. The package includes:
- (x1) Arm
- (x1) Pole
- (x1) Pole Cap
- (x1) Clamp
- (x2) VESA Bracket
- (x1) Grommet Plate
- (x5) Soft Pad
- (x1) Support Plate
- (x6) Arm Cable Clip
- (x1) Pole Cable Clip
- (x4) Bushing
- (x2) M8x60mm Screw
- (x4) M8 Washer
- (x2) M8 Nut
- (x3) M6x16mm Screw
- (x1) 4mm Allen Wrench (T-A)
- (x1) 5mm Allen Wrench (T-B)
- (x1) 6mm Allen Wrench (T-C)
- (x1) 8mm Allen Wrench (T-D)
- (x1) 13mm Wrench
- (x1) 19mm Wrench
- (x8) M4X12mm Screw
- (x8) M5x12mm Screw
- (x8) M5 Washer
The mount can be installed using either the clamp or grommet base installation method. The user manual provides detailed instructions on how to install and use the product.
Product Usage Instructions
- Identify the package contents to ensure all necessary components are present.
- Clamp Installation:
- Insert Pole Cap (C) to the top of Pole (B).
- Attach Pole (B) to Clamp (D) using M6x16mm Screw (S-F). Tighten using 4mm Allen Wrench (T-A).
- Stick Soft Pads (G) to the underside of the Clamp (D).
- Attach Clamp (D) to the desktop.
- Grommet Base Installation:
- Insert Pole Cap (C) to the top of Pole (B).
- Disassemble Clamp (D) using 4mm Allen Wrench (T-A). Remove the screw and plate from the clamp bolt, then remove the clamp bolt.
- Stick Soft Pads (G) to the bottom of the Grommet Plate (F).
- Slide Support Plate (H) onto the clamp bolt and insert the bolt through the grommet hole and Grommet Plate (F), then thread into Pole (B).
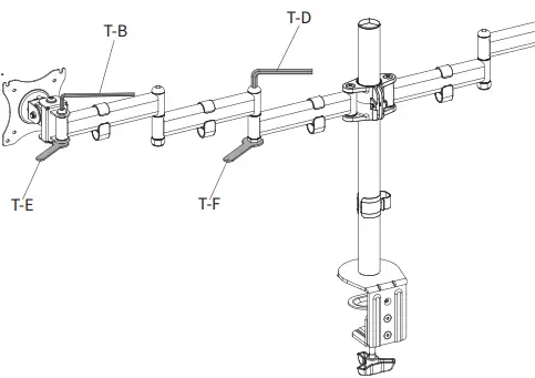
- Place Bushings (S-A) into holes at the ends of the Arms (A).
- Install VESA Brackets (E) onto Arm (A) with M8x60mm Screws (S-B) and M8 Washers (S-C). Secure with M8 Washers (S-C) and M8 Nuts (S-D), and tighten with 5mm Allen Wrench (T-B) and 13mm Wrench (T-E). Do not overtighten.
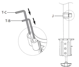
- Slide Pole Cable Clip (J) and Arm (A) over the top of Pole (B) and tighten using the 5mm Allen Wrench (T-B).
- Attach Arm Cable Clips (I) to Arm (A).
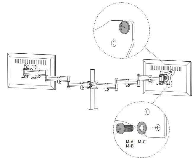
- Install Screws (M-A or M-B) and M5 Washers (M-C) to the top mounting holes of your monitor, making sure to leave 3mm of threads exposed. Align Screws (M-A or M-B) in monitors over slots in the VESA plates.
- Secure using two more Screws (M-A or M-B) and M5 Washers (M-C) in the bottom two holes of each monitor. Tighten all four screws using a Phillips screwdriver.
- Adjust tilt support by loosening the screw on VESA Brackets (E) using 6mm Allen Wrench (T-C).
- Tighten the joints in Arm (A) using 8mm Allen Wrench (T-D) with 19mm Wrench.
SKU: STAND-V038M
Scan the QR code with your mobile device or follow the link for helpful videos and specifications related to this product.
Instruction Manual
https://vivo-us.com/products/stand-v038m
GET IN TOUCH | Monday-Friday from 7:00am-7:00pm CST
[email protected] www.vivo-us.com Chat live with an agent! 309-278-5303
WARNING!
If you do not understand these directions, or if you have any doubts about the safety of the installation, please call a qualified technician. Check carefully to make sure there are no missing or defective parts. Improper installation may cause damage or serious injury. Do not use this product for any purpose that is not explicitly specified in this manual. Do not exceed weight capacity. We cannot be liable for damage or injury caused by improper mounting, incorrect assembly or inappropriate use.
TIPOVER WARNING
SERIOUS OR FATAL CRUSHING INJURIES CAN OCCUR FROM TIPOVER. TO HELP PREVENT TIPOVER:
- NEVER ALLOW CHILDREN TO CLIMB, STAND, HANG, OR PLAY ON ANY PART OF MONITOR OR STAND.
- USE TIPOVER RESTRAINT OR ANCHOR STAND TO WALL
USE OF TIPOVER RESTRAINTS MAY ONLY REDUCE, BUT NOT ELIMINATE RISK OF TIPOVER.
WARNING: CHOKING HAZARD
SMALL PARTS – NOT FOR CHILDREN UNDER 3 YEARS. ADULT SUPERVISION IS REQUIRED.
PACKAGE CONTENTS
NOTE: SOME HARDWARE INCLUDED MAY NOT BE USED
TOOLS NEEDED
DO NOT EXCEED WEIGHT CAPACITY.
Failure to do so may result in serious injury
ASSEMBLY STEPS
- STEP 1
Insert Pole Cap (C) to top of Pole (B)
- STEP 2
OPTION A: Clamp Installation Attach Pole (B) to Clamp (D) using M6x16mm Screw (S-F). Tighten using 4mm Allen Wrench (T-A). Stick Soft Pads (G) to the underside of the Clamp (D). Attach Clamp (D) to desktop .
OPTION B: Grommet Base Installation For grommet hole mounting, disassemble Clamp (D) using 4mm Allen Wrench (T-A). Remove the screw and plate from the clamp bolt, then remove the clamp bolt. Stick Soft Pads (G) to the bottom of the Grommet Plate (F). Slide Support Plate (H) onto the clamp bolt and insert bolt through the grommet hole and Grommet Plate (F), then thread into Pole (B). - STEP 3
Place Bushings (S-A) into holes at the ends of the Arms (A). Install VESA Brackets (E) onto Arm (A) with M8x60mm Screws (S-B) and M8 Washers (S-C). Secure with M8 Washers (S-C) and M8 Nuts (S-D), and tighten with 5mm Allen Wrench (T-B) and 13mm Wrench (T-E). Do not overtighten.
- STEP 4
Slide Pole Cable Clip (J) and Arm (A) over the top of Pole (B) and tighten using the 5mm Allen Wrench (T-B).
- STEP 5
Attach Arm Cable Clips (I) to Arm (A) as shown.
- STEP 6
Install Screws (M-A or M-B) and M5 Washers (M-C) to the top mounting holes of your monitor, making sure to leave 3mm of threads exposed. Align Screws (M-A or M-B) in monitors over slots in the VESA plates.
NOTE : Tighten the tilt support bolt when monitor is being attached to prevent tipping
Secure using two more Screws (M-A or M-B) and M5 Washers (M-C) in the bottom two holes of each monitor. Tighten all four screws using a Phillips screwdriver.
- STEP 7
Adjust tilt support by loosening the screw on VESA Brackets (E) using 6mm Allen Wrench (T-C).
- STEP 8
Store Allen Wrenches (T-B, T-C) in Pole Cable Clip (J) for future use.
- STEP 9
Tighten the joints in Arm (A) using 8mm Allen Wrench (T-D) with 19mm Wrench (T-F) and 5mm Allen Wrench (T-B) with 13mm Wrench (T-E).
- STEP 10
Adjust height of side monitors by turning the screw on top of each VESA Bracket (E) with the 5mm Allen Wrench (T-B) as shown.
Love your new VIVO setup and want to share?
Tag us in your photo! @vivo_us
LAST UPDATED: 04/20/2022
REV2
Open Monday – Friday 7:00am – 7:00pm CST, our dedicated support team can offer immediate assistance with rapid response times. If any parts are received damaged or defective, please contact us. We are happy to replace parts to ensure you have a fully functioning product.
309-278-5303 AVG. RESOLUTION TIME (within office hrs): 5M 4S
WWW.VlVO-US.com Chat live with cn agent!
AVG. RESOLUTION TIME (within office hrs): < 15
[email protected]
AVG. RESPONSE TIME (within office hrs): 1HR 8M
- 23% within < 15m
- 38% within < 30m
- 61% within < 1hr
- 83% within < 2hr
- 92% within < 3hr
FOR MORE VIVO PRODUCTS, CHECK OUT OUR WEBSITE AT: www.vivo-us.com



OPTION A: Clamp Installation Attach Pole (B) to Clamp (D) using M6x16mm Screw (S-F). Tighten using 4mm Allen Wrench (T-A). Stick Soft Pads (G) to the underside of the Clamp (D). Attach Clamp (D) to desktop .
OPTION B: Grommet Base Installation For grommet hole mounting, disassemble Clamp (D) using 4mm Allen Wrench (T-A). Remove the screw and plate from the clamp bolt, then remove the clamp bolt. Stick Soft Pads (G) to the bottom of the Grommet Plate (F). Slide Support Plate (H) onto the clamp bolt and insert bolt through the grommet hole and Grommet Plate (F), then thread into Pole (B).



NOTE : Tighten the tilt support bolt when monitor is being attached to prevent tipping
Secure using two more Screws (M-A or M-B) and M5 Washers (M-C) in the bottom two holes of each monitor. Tighten all four screws using a Phillips screwdriver.














