HINKLEY 50871 16 Inch Tall ADA Vertical Integrated LED Bath Light

MOUNTING
- To begin it will be necessary to remove mounting plate (A) from backplate (C) by removing screws (E) located on the side of the backplate see Drawing 1.
- To begin the installation, first attach mounting bracket (A) to junction box (J) by using two 8-32 screws (B) not provided, or the screws from the previously installed mounting strap or plate. Make sure threaded holes are on the side when installing the mounting plate, and the plate is plumb by placing a level across the top. Adjust the plate and tighten the screvws to secure the mounting plate.
- Next, make all wiring connections. Follow the instruction sheet (IS-18) provided.

SAFETY WARNING:
READ WIRING AND GROUNDING INSTRUCTIONS (I.S. 18) AND ANY ADDITIONAL DIRECTIONS. TURN THE POWER SUPPLY OFF DURING INSTALLATION. IF NEW WIRING IS REQUIRED, CONSULT A QUALIFIED ELECTRICIAN OR LOCAL AUTHORITIES FOR CODE REQUIREMENTS.
Make electrical connections from supply wire to fixture lead wires. Refer to the instruction sheet (I.S. 18) and follow all instructions to make all necessary wiring connections. Then refer back to this sheet to complete the installation of this fixture.
- After all electrical connections are made. Slip backplate (C) over mounting strap (A) and align holes in the side of backplate (C) with threaded holes on side of mounting strap (A).
- Thread in screws (E) removed earlier to secure the backplate to the mounting strap.
Assembly Instructions
PLEASE NOTE:
IT IS RECOMMENDED THAT THE GLASS BE INSTALLED IN THE FIXTURE PRIOR TO ATTACHING THE FIXTURE TO THE WALL.
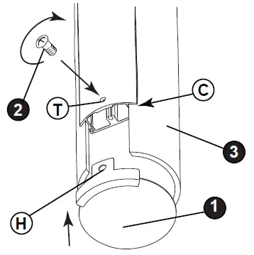
- To begin glass installation it will be necessary to remove one end cap (1) from one end of the crossbar (A) see Drawing 1.

- This is accomplished by removing screw (2), located on the back of the crossbar (A). After removing the screw end cap can be slipped off the fixture. Set parts aside in a safe place.
- Now slide glass (3) into the grooves (C) in the crossbar and carefully slide the glass into the crossbar until it touches the end cap see Detail sketch 1.
- Now slip the end cap (1) removed earlier onto the end of the crossbar (A) and align the hole in encap tab (T) with the threaded hole (H) in the back of the crossbar (A).
- Then thread screw (2) was removed back into place to secure the end cap and glass.
- The fixture can now be installed. Please follow the mounting instructions supplied.


SAFETY WARNING:
READ WIRING AND GROUNDING INSTRUCTIONS (IS 18) AND ANY ADDITIONAL DIRECTIONS. TURN POWER SUPPLY OFF DURING INSTALLATION. IF NEW WIRING IS REQUIRED, CONSULT A QUALIFIED ELECTRICIAN OR LOCAL AUTHORITIES FOR CODE REQUIREMENTS.
Wiring Instructions
Indoor Fixtures
- Connect positive supply wire (A) (typically black or the smooth, unmarked side of the two-conductor cord) to positive fixture lead (B) with appropriately sized twist on the connector – see Drawings 1 or 2.


- Connect negative supply wire (C) (typically white or the ribbed, marked side of the two-conductor cord) to negative fixture lead (D).
- Please refer to the grounding instructions below to complete all electrical connections.
Outdoor Fixtures
- Connect positive supply wire (A) (typically black or the smooth unmarked side of the two-conductor cord) to positive fixture lead (B) with an appropriately sized twist on connector — see Drawings 2 or 3.
- Connect negative supply wire (C) (typically white or the ribbed, marked side of the two-conductor cord) to negative fixture lead (D).
- Cover the open end of connectors with silicone sealant to form a watertight seal.
- If installing a wall mount fixture, use caulk to seal gaps between the fixture mounting plate (backplate) and the wall. This will help prevent water from entering the outlet box. If the wall surface is lap siding, use caulk, and a fixture mounting platform especially.
- Please refer to the grounding instructions below to complete all electrical connections.
Grounding Instructions
Flush Mount Fixtures
For positive grounding in a 3-wire electrical system, fasten the fixture ground wire (E) (typically copper or green plastic coated) to the fixture mounting strap (M) with the ground screw (S) – see Drawing 1.
Note:
On straps for screw supported fixtures, first install the two mounting screws in strap. Any remaining tapped hole may be used for the ground screw.
Chain Hung Fixtures
Loop fixture ground wire (E) (typically copper or green plastic coated) under the head of the ground screw (S) on fixture mounting strap (M) and connect to the loose end of the fixture ground wire directly to the ground wire of the building system with appropriately sized twist-on connectors – see Drawing 2.
Post-Mount Fixtures
Connect fixture ground wire (E) (typically copper or green plastic coated) to the power supply ground with an appropriately sized twist-on connector inside the post. The cover opens the end of the connector with silicone sealant to form a watertight seal – see Drawing 3.
HINKLEY 33000 Pin Oak Parkway, Avon Lake, OH 44012 800.446.5539 / 440.653.5500 www.hinkleylighting.com.























